TOP
|
特許
|
意匠
|
商標
特許ウォッチ
Twitter
他の特許を見る
公開番号
2025148792
公報種別
公開特許公報(A)
公開日
2025-10-08
出願番号
2024049093
出願日
2024-03-26
発明の名称
情報処理システム
出願人
アルプスアルパイン株式会社
代理人
個人
,
個人
,
個人
主分類
G09G
5/00 20060101AFI20251001BHJP(教育;暗号方法;表示;広告;シール)
要約
【課題】透明ディスプレイで覆われたディスプレイの表示画面の重要性の高い情報も認識できる「情報処理システム」を提供する。
【解決手段】標準IVIシステム2のディスプレイ211を覆うようにアドオンIVIシステム1の透明ディスプレイ111を配置する。アドオンIVIシステム1は、ディスプレイ211を撮影するカメラ13を用いる等の手法により、ディスプレイ211の表示画面の種類を識別し、識別した種類に対する優先度である第1優先度を、アドオンIVIシステム1における表示対象画面の種類に対する優先度である第2優先度と比較し、第2優先度が第1優先度より所定レベル超、高い場合には、透明ディスプレイ111の表示面の全面に表示対象画面を表示し(a1、a2、a3)、第1優先度が第2優先度より所定レベル超、高い場合には、透明ディスプレイ111の表示面の全面を透明とする(b1、b2、b3)。
【選択図】図5
特許請求の範囲
【請求項1】
表示面における画面の表示と表示面の透明化が可能な透明ディスプレイを備えた情報処理システムであって、
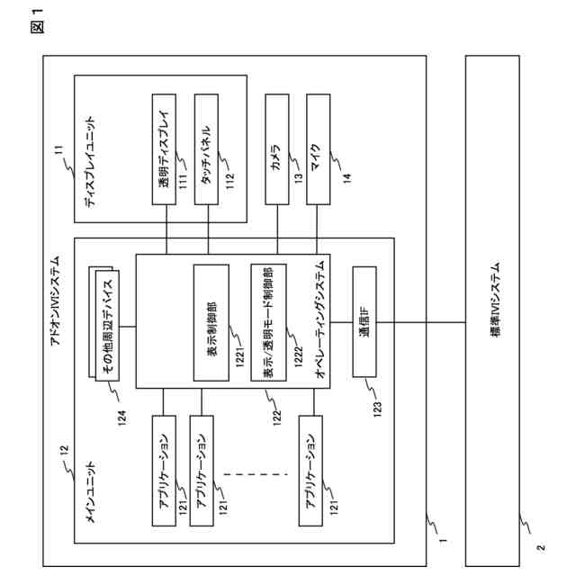
前記透明ディスプレイは、当該透明ディスプレイの表示面が、当該情報処理システムから独立した画面の表示動作を行うディスプレイである外部ディスプレイの表示面を覆う形態で配置されており、
当該情報処理システムは、
前記外部ディスプレイの表示面に表示されている画面の種類を識別する画面種類識別手段と、
動作モードとして画面表示モードが設定されているときに、前記透明ディスプレイの表示面に表示対象に設定されている画面である表示対象画面を表示し、前記動作モードとして透明モードが設定されているときに、前記透明ディスプレイの表示面を透明とする表示制御手段と、
少なくとも前記画面種類識別手段が識別した画面の種類に応じて、前記動作モードを、前記画面表示モードと前記透明モードとの間で切り替えるモード制御手段とを有することを特徴とする情報処理システム。
続きを表示(約 2,900 文字)
【請求項2】
請求項1記載の情報処理システムであって、
前記モード制御手段は、前記表示対象画面となっている画面の種類と、前記画面種類識別手段が識別した画面の種類との組み合わせに応じて、前記動作モードを、前記画面表示モードと前記透明モードとの間で切り替えることを特徴とする情報処理システム。
【請求項3】
請求項2記載の情報処理システムであって、
前記画面種類識別手段が識別の対象とする画面の種類の各々と、前記表示対象画面となることのある画面の種類の各々には、予め優先度が設定されており、
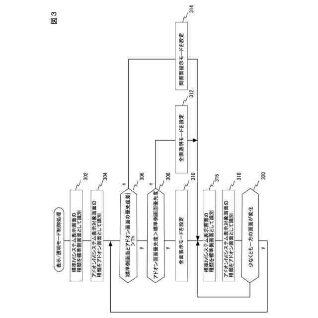
前記モード制御手段は、少なくとも、前記画面種類識別手段が識別した画面の種類の優先度である第1優先度が、前記表示対象画面となっている画面の種類の優先度である第2優先度より所定レベル以上高いときに、前記動作モードを前記透明モードに設定すると共に、少なくとも、前記第2優先度が前記第1優先度より所定程度以上高いときに、前記動作モードを前記画面表示モードに設定することを特徴とする情報処理システム。
【請求項4】
表示面における画面の表示と表示面の任意の領域の透明化が可能な透明ディスプレイを備えた情報処理システムであって、
前記透明ディスプレイは、当該透明ディスプレイの表示面が、当該情報処理システムから独立した画面の表示動作を行うディスプレイである外部ディスプレイの表示面を覆う形態で配置されており、
当該情報処理システムは、
前記外部ディスプレイの表示面に表示されている画面の種類を識別する画面種類識別手段と、
動作モードとして画面表示モードが設定されているときに、前記透明ディスプレイの表示面の全面に表示対象に設定されている画面である表示対象画面を表示し、前記動作モードとして両画面提示モードが設定されているときに、前記透明ディスプレイの表示面の一部の領域である部分化表示領域を用いて前記表示対象画面を表示し、前記透明ディスプレイの表示面の前記部分化表示領域を除く領域を透明とする表示制御手段と、
少なくとも前記画面種類識別手段が識別した画面の種類に応じて、前記動作モードを、前記画面表示モードと前記両画面提示モードとの間で切り替えるモード制御手段とを有することを特徴とする情報処理システム。
【請求項5】
表示面における画面の表示と表示面の透明化が可能な透明ディスプレイを備えた情報処理システムであって、
前記透明ディスプレイは、当該透明ディスプレイの表示面が、当該情報処理システムから独立した画面の表示動作を行うディスプレイである外部ディスプレイの表示面を覆う形態で配置されており、
当該情報処理システムは、
前記外部ディスプレイの表示面に表示されている画面の種類を識別する画面種類識別手段と、
動作モードとして画面表示モードが設定されているときに、前記透明ディスプレイの表示面に表示対象に設定されている画面である表示対象画面を表示し、前記動作モードとして両画面提示モードが設定されているときに、前記透明ディスプレイの表示面に前記表示対象画面と前記外部ディスプレイの表示面に表示されている画面の情報とを表示する表示制御手段と、
少なくとも前記画面種類識別手段が識別した画面の種類に応じて、前記動作モードを、前記画面表示モードと前記両画面提示モードとの間で切り替えるモード制御手段とを有することを特徴とする情報処理システム。
【請求項6】
請求項3記載の情報処理システムであって、
前記透明ディスプレイは、表示面における画面の表示と表示面の任意の領域の透明化が可能であり、
前記表示制御手段は、動作モードとして前記画面表示モードが設定されているときに、前記透明ディスプレイの表示面の全面に前記表示対象画面を表示し、前記動作モードとして両画面提示モードが設定されているときに、前記透明ディスプレイの表示面の一部の領域である部分化表示領域を用いて前記表示対象画面を表示すると共に、前記透明ディスプレイの表示面の前記部分化表示領域を除く領域を透明とし、
前記モード制御手段は、前記第1優先度が前記第2優先度より所定レベル以上高いときに、前記動作モードを前記透明モードに設定し、前記第2優先度が前記第1優先度より所定程度以上高いときに、前記動作モードを前記画面表示モードに設定し、前記第1優先度が前記第2優先度より前記所定レベル以上高くなく、かつ、前記第2優先度が前記第1優先度より前記所定程度以上高くないときに、前記動作モードを前記両画面提示モードに設定することを特徴とする情報処理システム。
【請求項7】
請求項3記載の情報処理システムであって、
前記表示制御手段は、前記動作モードとして両画面提示モードが設定されているときに、前記透明ディスプレイの表示面に前記表示対象画面と前記外部ディスプレイの表示面に表示されている画面の情報とを表示し、
前記モード制御手段は、前記第1優先度が前記第2優先度より所定レベル以上高いときに、前記動作モードを前記透明モードに設定し、前記第2優先度が前記第1優先度より所定程度以上高いときに、前記動作モードを前記画面表示モードに設定し、前記第1優先度が前記第2優先度より前記所定レベル以上高くなく、かつ、前記第2優先度が前記第1優先度より前記所定程度以上高くないときに、前記動作モードを前記両画面提示モードに設定することを特徴とする情報処理システム。
【請求項8】
請求項1、2、3、4、5、6または7記載の情報処理システムであって、
前記外部ディスプレイの表示面を撮影するカメラを備え、
前記画面種類識別手段は、前記カメラで撮影した画像に基づいて、前記外部ディスプレイの表示面に表示されている画面の種類を識別することを特徴とする情報処理システム。
【請求項9】
請求項1、2、3、4、5、6または7記載の情報処理システムであって、
前記外部ディスプレイは、外部のシステムが画面の表示に用いるディスプレイであって、
当該情報処理システムは、
前記外部のシステムと通信を行う通信手段を備え、
前記画面種類識別手段は、前記通信手段を介して、前記外部のシステムから当該外部のシステムが前記外部ディスプレイの表示面に表示している画面の種類を識別可能な情報を取得し、取得した情報に基づいて、前記外部ディスプレイの表示面に表示されている画面の種類を識別することを特徴とする情報処理システム。
【請求項10】
請求項1、2、3、4、5、6または7記載の情報処理システムであって、
前記外部ディスプレイは、自動車に搭載されたIVI(In-Vehicle Infotainment)システムが画面の表示に用いる、前記自動車に固定的に設置されたディスプレイであることを特徴とする情報処理システム。
発明の詳細な説明
【技術分野】
【0001】
本発明は、透明ディスプレイを備えた情報処理システムに関するものである。
続きを表示(約 2,700 文字)
【背景技術】
【0002】
透明ディスプレイを備えた情報処理システムとしては、第1のディスプレイの表示面に重なる位置に、画像の表示時に不透明となる透明化可能な透明ディスプレイを配置し、透明ディスプレイに画像を表示して透明ディスプレイの画像をユーザに視認させる態様と、透明ディスプレイを透明化すると共に第1のディスプレイに画像を表示して第1のディスプレイの画像をユーザに視認させる態様との間で表示の態様を切り替える情報処理システムが知られている(たとえば、特許文献1、2)。
【先行技術文献】
【特許文献】
【0003】
特開2018-198006号公報
特開2021-189542号公報
【発明の概要】
【発明が解決しようとする課題】
【0004】
自動車に搭載されている標準のIVI(In-Vehicle Infotainment)システムが交換不可である場合などに、IVI機能の追加や充実化のために、透明ディスプレイを備えた新たなIVIシステムを、標準のIVIシステムのディスプレイを覆う位置に透明ディスプレイを配置した形態で追加装備(アドオン)し、ユーザの選択に応じて透明ディスプレイの表示/透明状態を切り替えることにより、標準のIVIシステムの機能を維持したまま、新たなIVIシステムの追加に際してのスペース上の課題や、新たなIVIシステムの透明ディスプレイの視認性の課題をクリアすることが考えられる。
【0005】
しかし、このようにすると、新たなIVIシステムの透明ディスプレイの表示を行っているときには、標準のIVIシステムのディスプレイの表示は、透明ディスプレイの表示により隠されてしまい視認できなくなる。
そして、このため、新たなIVIシステムの透明ディスプレイの表示より、ユーザにとって重要性の高い表示が標準のIVIシステムのディスプレイで行われていても、その表示内容をユーザは認識することができなない。
そこで、本発明は、外部のディスプレイを覆うように配置された透明ディスプレイを備えた情報処理システムにおいて、外部のディスプレイに表示されたユーザにとって、必要性や有用性の観点から重要な情報もユーザが認識できるように、透明ディスプレイの表示を行うことを課題とする。
【課題を解決するための手段】
【0006】
前記課題達成のために、本発明は、表示面における画面の表示と表示面の透明化が可能な透明ディスプレイを備えた情報処理システムを提供する。ここで、前記透明ディスプレイは、当該透明ディスプレイの表示面が、当該情報処理システムから独立した画面の表示動作を行うディスプレイである外部ディスプレイの表示面を覆う形態で配置されている。また、当該情報処理システムは、前記外部ディスプレイの表示面に表示されている画面の種類を識別する画面種類識別手段と、動作モードとして画面表示モードが設定されているときに、前記透明ディスプレイの表示面に表示対象に設定されている画面である表示対象画面を表示し、前記動作モードとして透明モードが設定されているときに、前記透明ディスプレイの表示面を透明とする表示制御手段と、少なくとも前記画面種類識別手段が識別した画面の種類に応じて、前記動作モードを、前記画面表示モードと前記透明モードとの間で切り替えるモード制御手段とを備えている。
【0007】
ここで、この情報処理システムにおいて、前記モード制御手段は、前記表示対象画面となっている画面の種類と、前記画面種類識別手段が識別した画面の種類との組み合わせに応じて、前記動作モードを、前記画面表示モードと前記透明モードとの間で切り替えてもよい。
【0008】
また、この場合に、情報処理システムにおいて、前記画面種類識別手段が識別の対象とする画面の種類の各々と、前記表示対象画面となることのある画面の種類の各々を、予め優先度が設定されているものとし、前記モード制御手段において、少なくとも、前記画面種類識別手段が識別した画面の種類の優先度である第1優先度が、前記表示対象画面となっている画面の種類の優先度である第2優先度より所定レベル以上高いときに、前記動作モードを前記透明モードに設定すると共に、少なくとも、前記第2優先度が前記第1優先度より所定程度以上高いときに、前記動作モードを前記画面表示モードに設定してもよい。
【0009】
また、この場合、透明ディスプレイを、表示面における画面の表示と表示面の任意の領域の透明化が可能なものとし、前記表示制御手段を、前記動作モードとして画面表示モードが設定されているときに、前記透明ディスプレイの表示面の全面に前記表示対象画面を表示し、前記動作モードとして両画面提示モードが設定されているときに、前記透明ディスプレイの表示面の一部の領域である部分化表示領域を用いて前記表示対象画面を表示すると共に、前記透明ディスプレイの表示面の前記部分化表示領域を除く領域を透明とするものとし、前記モード制御手段において、前記第1優先度が前記第2優先度より所定レベル以上高いときに、前記動作モードを前記透明モードに設定し、前記第2優先度が前記第1優先度より所定程度以上高いときに、前記動作モードを前記画面表示モードに設定し、前記第1優先度が前記第2優先度より前記所定レベル以上高くなく、かつ、前記第2優先度が前記第1優先度より前記所定程度以上高くないときに、前記動作モードを前記両画面提示モードに設定するようにしてもよい。
【0010】
または、前記表示制御手段を、前記動作モードとして両画面提示モードが設定されているときに、前記透明ディスプレイの表示面に前記表示対象画面と前記外部ディスプレイの表示面に表示されている画面の情報とを表示するものとし、前記モード制御手段において、前記第1優先度が前記第2優先度より所定レベル以上高いときに、前記動作モードを前記透明モードに設定し、前記第2優先度が前記第1優先度より所定程度以上高いときに、前記動作モードを前記画面表示モードに設定し、前記第1優先度が前記第2優先度より前記所定レベル以上高くなく、かつ、前記第2優先度が前記第1優先度より前記所定程度以上高くないときに、前記動作モードを前記両画面提示モードに設定するようにしてもよい。
(【0011】以降は省略されています)
この特許をJ-PlatPat(特許庁公式サイト)で参照する
関連特許
個人
回転式カード学習具
1か月前
日本精機株式会社
表示装置
16日前
個人
時刻表示機能つき手帳
2か月前
日本精機株式会社
表示装置
1か月前
個人
計算用教具
12日前
中国電力株式会社
標示旗
22日前
日本精機株式会社
車両用表示装置
2か月前
日本精機株式会社
車両用表示装置
2か月前
日本精機株式会社
車両用表示装置
1か月前
個人
モデルで薔薇の花嫁様を描く為
1か月前
日本精機株式会社
車両用センサ装置
12日前
シャープ株式会社
表示装置
23日前
株式会社一弘社
情報表示板
1か月前
株式会社ウメラボ
学習支援システム
2日前
株式会社ウメラボ
学習支援システム
8日前
個人
音楽教材
1か月前
株式会社半導体エネルギー研究所
半導体装置
2か月前
ニチレイマグネット株式会社
磁着式電飾装置
22日前
リンテック株式会社
表示体
1日前
株式会社リコー
画像投射システム
23日前
学校法人関西医科大学
腹腔鏡手術訓練装置
22日前
シチズンファインデバイス株式会社
液晶表示装置
1か月前
BEST株式会社
吊り下げ表示部材
1か月前
株式会社サンゲツ
見本帳
1か月前
シチズンファインデバイス株式会社
液晶表示装置
1か月前
シャープ株式会社
表示装置
1か月前
シャープ株式会社
表示装置
1か月前
セイコーエプソン株式会社
表示方法
1か月前
ニデックインスツルメンツ株式会社
情報処理装置
2か月前
セイコーエプソン株式会社
表示方法
1か月前
リンテック株式会社
粘着ラベル
2日前
ニプロ株式会社
シミュレータ
1か月前
TOPPANホールディングス株式会社
ラベル
12日前
個人
トレーニング用具
2か月前
キヤノン株式会社
発光装置
15日前
TOPPANホールディングス株式会社
ラベル
2か月前
続きを見る
他の特許を見る