TOP
|
特許
|
意匠
|
商標
特許ウォッチ
Twitter
他の特許を見る
10個以上の画像は省略されています。
公開番号
2025149551
公報種別
公開特許公報(A)
公開日
2025-10-08
出願番号
2024050274
出願日
2024-03-26
発明の名称
測定装置、測定方法及びプログラム
出願人
株式会社JVCケンウッド
代理人
弁理士法人酒井国際特許事務所
主分類
G09B
19/00 20060101AFI20251001BHJP(教育;暗号方法;表示;広告;シール)
要約
【課題】ユーザの識字能力を適切に測定すること。
【解決手段】測定装置は、表示部にアニメーション効果を付加した文字を表示させる表示制御部と、ユーザが表示部に表示されたアニメーション効果が付加された文字を読み上げた音声を認識する音声認識部と、音声認識部が認識したユーザの音声に基づいて、ユーザの識字能力を判定する測定部と、を備える。
【選択図】図1
特許請求の範囲
【請求項1】
表示部にアニメーション効果を付加した文字を表示させる表示制御部と、
ユーザが前記表示部に表示されたアニメーション効果が付加された文字を読み上げた音声を認識する音声認識部と、
前記音声認識部が認識した前記ユーザの音声に基づいて、前記ユーザの識字能力を判定する測定部と、
を備える、測定装置。
続きを表示(約 530 文字)
【請求項2】
前記表示制御部は、前記表示部に表示する文字の種類に応じて、前記文字に付加するアニメーション効果を変更する、
請求項1に記載の測定装置。
【請求項3】
前記測定部は、前記文字に付加されているアニメーション効果に応じた重み付けを行って、前記ユーザの識字能力を判定する、
請求項1または2に記載の測定装置。
【請求項4】
コンピュータが、
表示部にアニメーション効果を付加した文字を表示させるステップと、
ユーザが前記表示部に表示されたアニメーション効果が付加された文字を読み上げた音声を認識するステップと、
認識された前記ユーザの音声に基づいて、前記ユーザの識字能力を判定するステップと、
を実行する、測定方法。
【請求項5】
表示部にアニメーション効果を付加した文字を表示させるステップと、
ユーザが前記表示部に表示されたアニメーション効果が付加された文字を読み上げた音声を認識するステップと、
認識された前記ユーザの音声に基づいて、前記ユーザの識字能力を判定するステップと、
をコンピュータに実行させる、プログラム。
発明の詳細な説明
【技術分野】
【0001】
本開示は、測定装置、測定方法及びプログラムに関する。
続きを表示(約 1,800 文字)
【背景技術】
【0002】
特許文献1には、音声言語に対するユーザの理解度を算出する技術が開示されている。
【先行技術文献】
【特許文献】
【0003】
特開2018-36996号公報
【発明の概要】
【発明が解決しようとする課題】
【0004】
通常、学習障がいなどに伴う識字能力の診断は、専門の医療機関などで医師により行われている。識字能力の診断を医療機関などによらず、専用の装置で容易に行うことができれば、学習障がいを持つユーザに対して、適切な学習支援を提供することが可能となる。
【0005】
本開示は、ユーザの識字能力を適切に測定することのできる測定装置、測定方法及びプログラムを提供することを目的とする。
【課題を解決するための手段】
【0006】
本開示の測定装置は、表示部にアニメーション効果を付加した文字を表示させる表示制御部と、ユーザが前記表示部に表示されたアニメーション効果が付加された文字を読み上げた音声を認識する音声認識部と、前記音声認識部が認識した前記ユーザの音声に基づいて、前記ユーザの識字能力を判定する測定部と、を備える。
【0007】
本開示の測定方法は、コンピュータが、表示部にアニメーション効果を付加した文字を表示させるステップと、ユーザが前記表示部に表示されたアニメーション効果が付加された文字を読み上げた音声を認識するステップと、認識された前記ユーザの音声に基づいて、前記ユーザの識字能力を判定するステップと、を実行する。
【0008】
本開示のプログラムは、表示部にアニメーション効果を付加した文字を表示させるステップと、ユーザが前記表示部に表示されたアニメーション効果が付加された文字を読み上げた音声を認識するステップと、認識された前記ユーザの音声に基づいて、前記ユーザの識字能力を判定するステップと、をコンピュータに実行させる。
【発明の効果】
【0009】
本開示によれば、ユーザの識字能力を適切に測定することができる。
【図面の簡単な説明】
【0010】
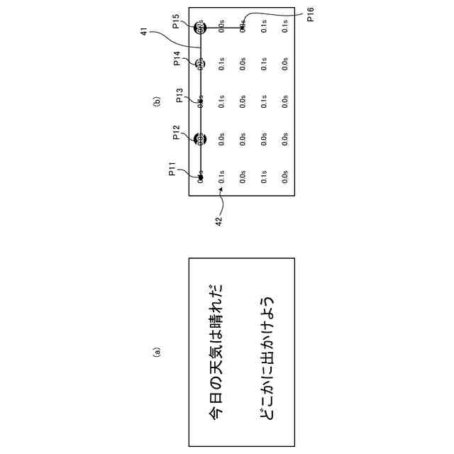
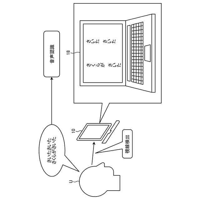
図1は、第1実施形態に係る測定装置の構成例を示すブロック図である。
図2は、第1実施形態に係る測定装置の処理の概要を説明するため図である。
図3は、第1実施形態に係る識字能力の測定方法の流れを示すフローチャートである。
図4は、第1実施形態の第1の例に係る視線の位置を検出する方法を説明するための図である。
図5は、第1実施形態の第2の例に係る視線の位置を検出する方法を説明するための図である。
図6は、第2実施形態に係る測定装置の処理の概要を説明するため図である。
図7は、第2実施形態に係る識字能力の測定方法の流れを示すフローチャートである。
図8は、第2実施形態に係る第1のアニメーション効果を説明するための図である。
図9は、第2実施形態に係る第2のアニメーション効果を説明するための図である。
図10は、第2実施形態に係る第3のアニメーション効果を説明するための図である。
図11は、第2実施形態に係る第4のアニメーション効果を説明するための図である。
図12は、第2実施形態に係る第5のアニメーション効果を説明するための図である。
図13は、第2実施形態に係る第6のアニメーション効果を説明するための図である。
図14は、第2実施形態の第7のアニメーション効果を説明するための図である。
図15は、第2実施形態の第8のアニメーション効果を説明するための図である。
図16は、第3実施形態に係る識字能力の測定方法の流れを示すフローチャートである。
図17は、第3実施形態に係る視線の推移に基づいてユーザの識字能力が異常ありと判定される場合の例を説明するための図である。
図18は、第3実施形態に係る視線の推移に基づいてユーザの識字能力が正常であると判定される場合の例を説明するための図である。
【発明を実施するための形態】
(【0011】以降は省略されています)
この特許をJ-PlatPat(特許庁公式サイト)で参照する
関連特許
個人
回転式カード学習具
1か月前
日本精機株式会社
表示装置
3か月前
日本精機株式会社
表示装置
1か月前
個人
時刻表示機能つき手帳
2か月前
日本精機株式会社
表示装置
18日前
個人
計算用教具
14日前
中国電力株式会社
標示旗
24日前
日本精機株式会社
車両用表示装置
2か月前
日本精機株式会社
車両用表示装置
2か月前
日本精機株式会社
車両用表示装置
2か月前
個人
モデルで薔薇の花嫁様を描く為
1か月前
日本精機株式会社
車両用センサ装置
14日前
トヨタ自動車株式会社
評価方法
2か月前
株式会社一弘社
情報表示板
1か月前
シャープ株式会社
表示装置
25日前
シャープ株式会社
表示装置
3か月前
株式会社ウメラボ
学習支援システム
10日前
個人
口唇閉鎖の訓練具
3か月前
パイオニア株式会社
表示装置
3か月前
株式会社ウメラボ
学習支援システム
4日前
個人
音楽教材
1か月前
株式会社半導体エネルギー研究所
半導体装置
2か月前
ニチレイマグネット株式会社
磁着式電飾装置
24日前
株式会社ノジマ
応対体験システム
3か月前
リンテック株式会社
表示体
3日前
株式会社リコー
画像投射システム
25日前
学校法人関西医科大学
腹腔鏡手術訓練装置
24日前
BEST株式会社
吊り下げ表示部材
1か月前
株式会社サンゲツ
見本帳
1か月前
シチズンファインデバイス株式会社
液晶表示装置
2か月前
個人
サインポスト
2か月前
株式会社バンダイ
情報処理装置およびプログラム
3か月前
シチズンファインデバイス株式会社
液晶表示装置
1か月前
個人
ピアノの指トレーニング器具及び練習方法
2か月前
シャープ株式会社
表示装置
2か月前
シャープ株式会社
表示装置
1か月前
続きを見る
他の特許を見る