TOP
|
特許
|
意匠
|
商標
特許ウォッチ
Twitter
他の特許を見る
10個以上の画像は省略されています。
公開番号
2025152908
公報種別
公開特許公報(A)
公開日
2025-10-10
出願番号
2024055087
出願日
2024-03-28
発明の名称
情報提示システム、領域抽出装置及びプログラム
出願人
日本放送協会
代理人
個人
主分類
G09G
5/00 20060101AFI20251002BHJP(教育;暗号方法;表示;広告;シール)
要約
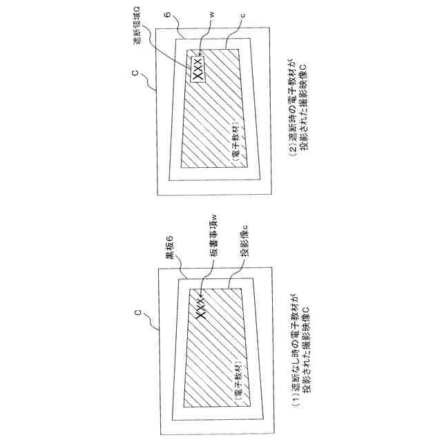
【課題】投影像と板書事項の干渉をなくし、板書事項を見易くする。
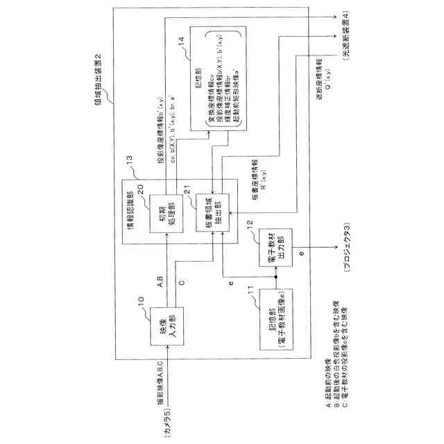
【解決手段】情報提示システム1は、電子教材画像eの出射光により形成された投影像を黒板6へ提示し、投影像及び黒板6に書き込まれた板書事項wを含む撮影映像Cから、板書事項wの領域を板書領域R’として抽出し、板書座標情報R’(x,y)に対応する電子教材画像eの出射光の一部を遮断する。情報提示システム1は、電子教材画像eの出射光を黒板6へ投影するプロジェクタ3と、板書座標情報R’(x,y)に基づいて、電子教材画像eの出射光の一部を遮断する光遮断装置4と、投影像及び板書事項wを含む撮影映像Cを撮影するカメラ5と、撮影映像Cから投影像の領域の映像である投影像cを抽出し、投影像c及び電子教材画像eを比較することで、差分のある領域を板書領域R’として抽出し、板書座標情報R’(x,y)を光遮断装置4へ出力する領域抽出装置2と、を備える。
【選択図】図1
特許請求の範囲
【請求項1】
所定画像の出射光により形成された投影像を黒板へ提示し、前記投影像及び前記黒板に書き込まれた板書事項を含む撮影映像から、前記板書事項の領域を板書領域として抽出し、前記板書領域に対応する前記所定画像の出射光の一部を遮断する情報提示システムであって、
前記所定画像の出射光を前記黒板へ投影し、前記投影像を形成するプロジェクタと、
前記板書領域の座標情報に基づいて、前記所定画像の出射光の一部を遮断する光遮断装置と、
前記投影像及び前記板書事項を含む映像を前記撮影映像として撮影するカメラと、
前記撮影映像から前記投影像の領域の映像を抽出し、前記投影像の領域の映像及び前記所定画像を比較することで、差分のある領域を前記板書領域として抽出し、前記板書領域の座標情報を前記光遮断装置へ出力する領域抽出装置と、
を備えたことを特徴とする情報提示システム。
続きを表示(約 1,700 文字)
【請求項2】
請求項1に記載の情報提示システムにおいて、
前記所定画像の出射光の一部が遮断された領域を遮断領域として、
前記光遮断装置は、
前記遮断領域の座標情報を前記領域抽出装置へ出力し、
前記領域抽出装置は、
前記撮影映像を入力する入力部と、
前記所定画像を前記プロジェクタへ出力する出力部と、
前記光遮断装置から前記遮断領域の座標情報を入力し、前記遮断領域の座標情報に基づいて、遮断の有無を判定する遮断有無判定部と、
前記遮断有無判定部により遮断なしが判定された場合、前記入力部により入力された前記撮影映像から前記投影像の領域の映像を抽出し、
前記投影像の領域の映像と前記所定画像とを比較することで、差分のある領域を前記板書領域として抽出し、前記板書領域の座標情報を前記光遮断装置へ出力する遮断なし板書領域抽出部と、
前記遮断有無判定部により遮断ありが判定された場合、前記入力部により入力された前記撮影映像から前記投影像の領域の映像を抽出し、
前記投影像の領域の映像から前記遮断領域を除外した映像と前記所定画像から前記遮断領域を除外した画像とを比較することで、差分のある領域を第1板書領域として抽出し、
前記投影像の領域の映像から、前記遮断領域の映像を第1映像として抽出し、前記プロジェクタを起動する前の撮影映像から抽出することで得られた前記投影像と同じ領域の映像から、前記遮断領域の映像を第2映像として抽出し、
前記第1映像と前記第2映像とを比較することで、前記投影像の領域内の前記遮断領域に前記板書事項が含まれるか否かを判定し、
前記板書事項が含まれないと判定された場合、前記第1板書領域を前記板書領域として、前記板書領域の座標情報を前記光遮断装置へ出力し、
前記板書事項が含まれると判定された場合、前記第1板書領域及び前記遮断領域を前記板書領域として、前記板書領域の座標情報を前記光遮断装置へ出力する遮断あり板書領域抽出部と、
を備えたことを特徴とする情報提示システム。
【請求項3】
プロジェクタからの所定画像の出射光により黒板に形成された投影像を含み、かつユーザにより前記黒板に書き込まれた板書事項を含む撮影映像を入力し、前記撮影映像に基づいて、前記板書事項を含む領域を板書領域として抽出し、前記板書領域に対応する前記所定画像の出射光の一部を遮断させる領域抽出装置であって、
前記撮影映像を入力する入力部と、
前記所定画像を前記プロジェクタへ出力する出力部と、
前記撮影映像から前記投影像の領域の映像を抽出し、前記投影像の領域の映像及び前記所定画像を比較することで、差分のある領域を前記板書領域として抽出し、前記板書領域の座標情報を、前記プロジェクタと前記黒板との間に挿入された光遮断装置へ出力する板書領域抽出部と、を備え、
前記光遮断装置に対し、前記板書領域の座標情報に基づき、前記所定画像の出射光の一部を遮断させることを特徴とする領域抽出装置。
【請求項4】
プロジェクタからの所定画像の出射光により黒板に形成された投影像を含み、かつユーザにより前記黒板に書き込まれた板書事項を含む撮影映像を入力し、前記撮影映像に基づいて、前記板書事項を含む領域を板書領域として抽出し、前記板書領域に対応する前記所定画像の出射光の一部を遮断させる領域抽出装置を構成するコンピュータを、
前記撮影映像を入力する入力部、
前記所定画像を前記プロジェクタへ出力する出力部、及び、
前記撮影映像から前記投影像の領域の映像を抽出し、前記投影像の領域の映像及び前記所定画像を比較することで、差分のある領域を前記板書領域として抽出し、前記板書領域の座標情報を、前記プロジェクタと前記黒板との間に挿入された光遮断装置へ出力する板書領域抽出部として機能させ、
前記光遮断装置に対し、前記板書領域の座標情報に基づき、前記所定画像の出射光の一部を遮断させることを特徴とするプログラム。
発明の詳細な説明
【技術分野】
【0001】
本発明は、光学的に任意の出射光を遮断する情報提示システム、遮断対象の領域を抽出する領域抽出装置及びプログラムに関する。
続きを表示(約 1,500 文字)
【背景技術】
【0002】
従来、教育現場ではICT(Information and Communication Technology)機器の活用が進んでおり、紙媒体及び板書に加え、電子教材を用いた授業が行われている。このような電子教材を用いた授業により、教育の質の向上を図ることができる。
【0003】
例えば生徒は、手元にある端末を用いて電子教材を個別に視聴したり、教室に備え付けられた黒板、ホワイトボード、電子黒板等に投影された、プロジェクタからの電子教材を視聴したりする。
【0004】
黒板に電子教材を投影するためのシステムの例として、電子黒板システムが提案されている(例えば特許文献1,2を参照)。
【0005】
特許文献1の電子黒板システムは、プロジェクタ、ストリーミングデバイス及びスマートフォンからなる。この電子黒板システムは、プロジェクタとストリーミングデバイスとがHDMI(登録商標)ケーブルにより接続され、ストリーミングデバイスとスマートフォンとがWi-Fi(登録商標)により接続されることで、電子教材をスマートフォンからストリーミングデバイスを介してプロジェクタへ送信し、電子教材の画像を黒板へ投影する。
【0006】
また、特許文献2の電子黒板システムは、スマートフォンとプロジェクタとが無線で接続され、電子教材をスマートフォンからプロジェクタへ送信することで、電子教材の画像を黒板に投影するものである。例えば、教師がスマートフォンを操作することにより、電子教材の画像が黒板へ投影される。そして、教師は、黒板に画像が投影された状態で、チョークを用いて板書をしながら、授業を進める。
【先行技術文献】
【特許文献】
【0007】
特開2023-147131号公報
特開2024-8542号公報
【発明の概要】
【発明が解決しようとする課題】
【0008】
しかしながら、前述の特許文献1,2の電子黒板システムでは、電子教材の画像をプロジェクタから黒板へ直接投影する。このため、板書された文字、図表等(以下、「板書事項」という。)と投影像が干渉し、板書事項が見え難くなるという問題があった。
【0009】
そこで、本発明は前記課題を解決するためになされたものであり、その目的は、投影像と板書事項の干渉をなくし、板書事項を見易くする情報提示システム、領域抽出装置及びプログラムを提示することにある。
【課題を解決するための手段】
【0010】
前記課題を解決するために、請求項1の情報提示システムは、所定画像の出射光により形成された投影像を黒板へ提示し、前記投影像及び前記黒板に書き込まれた板書事項を含む撮影映像から、前記板書事項の領域を板書領域として抽出し、前記板書領域に対応する前記所定画像の出射光の一部を遮断する情報提示システムであって、前記所定画像の出射光を前記黒板へ投影し、前記投影像を形成するプロジェクタと、前記板書領域の座標情報に基づいて、前記所定画像の出射光の一部を遮断する光遮断装置と、前記投影像及び前記板書事項を含む映像を前記撮影映像として撮影するカメラと、前記撮影映像から前記投影像の領域の映像を抽出し、前記投影像の領域の映像及び前記所定画像を比較することで、差分のある領域を前記板書領域として抽出し、前記板書領域の座標情報を前記光遮断装置へ出力する領域抽出装置と、を備えたことを特徴とする。
(【0011】以降は省略されています)
この特許をJ-PlatPat(特許庁公式サイト)で参照する
関連特許
日本放送協会
収音装置
1か月前
日本放送協会
撮像装置
1か月前
日本放送協会
撮像装置
9か月前
日本放送協会
配線構造
5か月前
日本放送協会
アンテナ装置
1か月前
日本放送協会
マイクロホン
7か月前
日本放送協会
光学計測装置
7か月前
日本放送協会
無線通信装置
6か月前
日本放送協会
基板固定装置
1か月前
日本放送協会
磁性細線メモリ
5か月前
日本放送協会
光分布生成装置
2か月前
日本放送協会
レンズアダプター
11か月前
日本放送協会
広視野角撮像装置
19日前
日本放送協会
広視野角撮像装置
19日前
日本放送協会
磁性細線デバイス
9か月前
日本放送協会
無線伝送システム
8か月前
日本放送協会
映像伝送システム
5か月前
日本放送協会
データ管理システム
8か月前
日本放送協会
3次元映像表示装置
5か月前
日本放送協会
良撮影位置推定装置
4か月前
日本放送協会
角度選択フィルター
3か月前
日本放送協会
3次元映像表示装置
1か月前
日本放送協会
送信装置及び受信装置
11か月前
日本放送協会
送信装置及び受信装置
11か月前
日本放送協会
送信装置及び受信装置
8か月前
日本放送協会
送信装置及び受信装置
1か月前
日本放送協会
受信装置及び送出装置
10か月前
日本放送協会
送信装置及び受信装置
8か月前
日本放送協会
衛星放送受信システム
11か月前
日本放送協会
送信装置及び受信装置
9か月前
日本放送協会
磁壁移動型空間光変調器
10か月前
日本放送協会
受信装置及びプログラム
2か月前
日本放送協会
縮小装置及びプログラム
2か月前
日本放送協会
端末装置及びプログラム
10か月前
日本放送協会
受信装置及びプログラム
10か月前
日本放送協会
受信装置及びプログラム
4か月前
続きを見る
他の特許を見る