TOP
|
特許
|
意匠
|
商標
特許ウォッチ
Twitter
他の特許を見る
10個以上の画像は省略されています。
公開番号
2025155755
公報種別
公開特許公報(A)
公開日
2025-10-14
出願番号
2024209768
出願日
2024-12-02
発明の名称
光透過性シート
出願人
パナソニックオートモーティブシステムズ株式会社
代理人
弁理士法人酒井国際特許事務所
主分類
G09F
13/04 20060101AFI20251002BHJP(教育;暗号方法;表示;広告;シール)
要約
【課題】意匠の視認性がよい光透過性シートを提供する。
【解決手段】実施形態の光透過性シートは、光を透過する基材層と、前記基材層の前記光が照射される側に設けられ、透光部と遮光部を有する意匠層と、前記意匠層を介して前記基材層と対向するように設けられた着色層と、を備える。
【選択図】図1
特許請求の範囲
【請求項1】
光を透過する基材層と、
前記基材層の前記光が照射される側に設けられ、透光部と遮光部を有する意匠層と、
前記意匠層を介して前記基材層と対向するように設けられた着色層と、
を備えた光透過性シート。
続きを表示(約 610 文字)
【請求項2】
前記着色層は少なくとも前記透光部に対向する部分の色味が、前記遮光部の色味と近くなるように構成されている
請求項1に記載の光透過性シート。
【請求項3】
前記着色層と前記遮光部との色差ΔEが所定値以下になるように構成されている
請求項2に記載の光透過性シート。
【請求項4】
前記着色層は、前記色差ΔE≦5.0になるように構成されている
請求項3に記載の光透過性シート。
【請求項5】
前記着色層は、前記色差ΔE≦3.0になるように構成されている
請求項3に記載の光透過性シート。
【請求項6】
前記着色層は、前記色差ΔE≦1.5になるように構成されている
請求項3に記載の光透過性シート。
【請求項7】
前記遮光部は、前記光の透過率が5%以下である
請求項2に記載の光透過性シート。
【請求項8】
前記着色層は、前記光の透過率が50%以上である
請求項2に記載の光透過性シート。
【請求項9】
前記基材層は、表面に凹凸を有している
請求項2に記載の光透過性シート。
【請求項10】
前記基材層はエラストマーシートである
請求項2に記載の光透過性シート。
(【請求項11】以降は省略されています)
発明の詳細な説明
【技術分野】
【0001】
本開示は、光透過性シートに関する。
続きを表示(約 1,800 文字)
【背景技術】
【0002】
特許文献1には、光透過性をそなえた積層構造の人工皮革シートが開示されている。
【先行技術文献】
【特許文献】
【0003】
特許第6271135号公報
【発明の概要】
【発明が解決しようとする課題】
【0004】
しかしながら、特許文献1に開示されている従来技術では、透過して浮かび上がる意匠がぼやけてしまい視認性が低下する等、機能性の観点で改善の余地があった。
【0005】
本開示の非限定的な実施例は、上記課題を解決し、意匠の視認性がよい光透過性シートを提供することを目的の一つとする。
【課題を解決するための手段】
【0006】
実施形態の光透過性シートは、光を透過する基材層と、前記基材層の前記光が照射される側に設けられ、透光部と遮光部を有する意匠層と、前記意匠層を介して前記基材層と対向するように設けられた着色層と、を備える。
【発明の効果】
【0007】
本開示の一実施例は、意匠の視認性が向上した光透過性シートを提供する。
【0008】
本開示の一実施例におけるさらなる利点及び効果は、明細書及び図面から明らかにされる。係る利点及び/又は効果は、いくつかの実施形態並びに明細書及び図面に記載された特徴によってそれぞれ提供されるが、1つ又はそれ以上の同一の特徴を得るために必ずしも全てが提供される必要はない。
【図面の簡単な説明】
【0009】
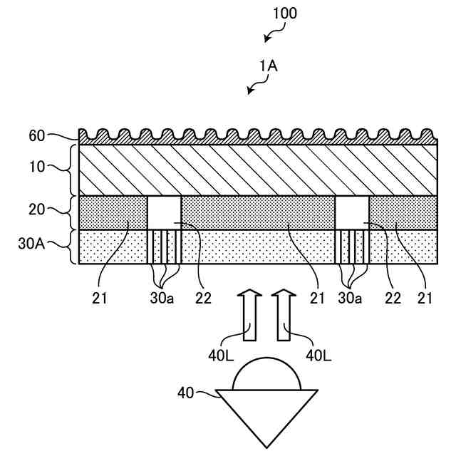
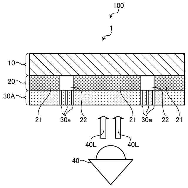
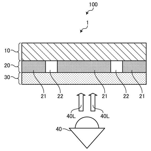
図1は、本開示の第1の実施形態に係る光透過性シートを含む光透過性加飾システムの構成を示す概略図である。
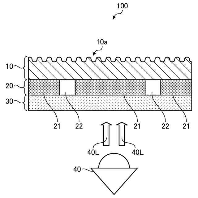
図2は、本開示の第1の実施形態に係る基材層に凹凸が施された光透過性シートを含む光透過性加飾システムの構成を示す概略図である。
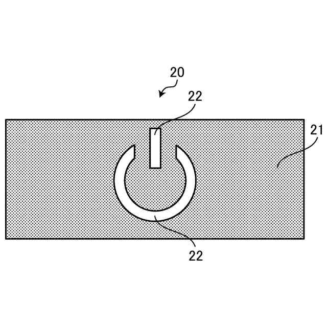
図3は、本開示の第1の実施の形態に係る意匠層の正面図である。
図4は、本開示の第1の実施形態の第1変形例に係るカラーシフト層が設けられた光透過性シートを含む光透過性加飾システムの構成を示す概略断面図である。
図5は、本開示の第1の実施形態の第2変形例に係る着色層に透過孔が設けられた光透過性シートを含む光透過性加飾システムの構成を示す概略図である。
図6は、本開示の第2の実施形態に係る保護層が設けられた光透過性シートを含む光透過性加飾システムの構成を示す概略図である。
図7は、本開示の第2の実施形態の第1変形例に係るカラーシフト層が設けられた光透過性シートを含む光透過性加飾システムの構成を示す概略図である。
図8は、本開示の第2の実施形態の第2変形例に係る着色層に透過孔が設けられた光透過性シートを含む光透過性加飾システムの構成を示す概略図である。
図9は、本開示の第2の実施形態の第4変形例に係る機能層が設けられた光透過性シートを含む光透過性加飾システムの構成を示す概略図である。
図10は、本開示の第2の実施形態に係る基材層に意匠層が隣接して設けられた光透過性シートを含む光透過性加飾システムの構成を示す概略図である。
図11は、本開示の第2の実施形態に係る保護層が着色され、着色層を備えない光透過性シートを含む光透過性加飾システムの構成を示す概略図である。
図12は、本開示の第3の実施形態に係る反射層が設けられた光透過性シートを含む光透過性加飾システムの構成を示す概略図である。
図13は、第3の実施形態の第1変形例の光透過性シートを含む光透過性加飾システムの構成を示す概略図である。
図14は、第3の実施形態の第2変形例の光透過性シートを含む光透過性加飾システムの構成を示す概略図である。
図15は、第3の実施形態の第2変形例の光透過性シートの意匠層の斜視図である。
図16は、第3の実施形態の第3変形例の光透過性シートを含む光透過性加飾システムの構成を示す概略図である。
【発明を実施するための形態】
【0010】
以下に添付図面を参照しながら、本開示の好適な実施形態について詳細に説明する。尚、本明細書及び図面において、実質的に同一の機能を有する構成要素については、同一の符号を付することにより重複説明を省略する。
(【0011】以降は省略されています)
この特許をJ-PlatPat(特許庁公式サイト)で参照する
関連特許
個人
回転式カード学習具
1か月前
日本精機株式会社
表示装置
2か月前
個人
時刻表示機能つき手帳
2か月前
日本精機株式会社
表示装置
26日前
個人
計算用教具
22日前
中国電力株式会社
標示旗
1か月前
日本精機株式会社
車両用表示装置
2か月前
日本精機株式会社
車両用表示装置
2か月前
日本精機株式会社
車両用表示装置
2か月前
日本精機株式会社
車両用センサ装置
22日前
個人
モデルで薔薇の花嫁様を描く為
1か月前
個人
微細構造を模した理科学習教材
5日前
株式会社一弘社
情報表示板
1か月前
シャープ株式会社
表示装置
1か月前
個人
音楽教材
2か月前
株式会社ウメラボ
学習支援システム
18日前
株式会社ウメラボ
学習支援システム
12日前
ニチレイマグネット株式会社
磁着式電飾装置
1か月前
株式会社半導体エネルギー研究所
半導体装置
2か月前
リンテック株式会社
表示体
11日前
株式会社リコー
画像投射システム
1か月前
BEST株式会社
吊り下げ表示部材
2か月前
シチズンファインデバイス株式会社
液晶表示装置
1か月前
シチズンファインデバイス株式会社
液晶表示装置
2か月前
株式会社サンゲツ
見本帳
2か月前
学校法人関西医科大学
腹腔鏡手術訓練装置
1か月前
シャープ株式会社
表示装置
2か月前
シャープ株式会社
表示装置
2か月前
セイコーエプソン株式会社
表示方法
1か月前
セイコーエプソン株式会社
表示方法
1か月前
ニプロ株式会社
シミュレータ
1か月前
リンテック株式会社
粘着ラベル
12日前
TOPPANホールディングス株式会社
ラベル
22日前
キヤノン株式会社
発光装置
25日前
TOPPANホールディングス株式会社
ラベル
2か月前
ローム株式会社
暗号化装置
12日前
続きを見る
他の特許を見る