TOP
|
特許
|
意匠
|
商標
特許ウォッチ
Twitter
他の特許を見る
10個以上の画像は省略されています。
公開番号
2025155794
公報種別
公開特許公報(A)
公開日
2025-10-14
出願番号
2024227759
出願日
2024-12-24
発明の名称
アーク表示装置
出願人
友達光電股ふん有限公司
,
AUO Corporation
代理人
弁理士法人エビス国際特許事務所
主分類
G09F
9/40 20060101AFI20251002BHJP(教育;暗号方法;表示;広告;シール)
要約
【課題】アーク表示装置を提供する。
【解決手段】アーク表示装置であって、非矩形基板と、非矩形基板に設置され、画素行及び画素列に配列される発光画素とを含む。非矩形基板は第1縁部、第1縁部に接続される第2縁部及び第1縁部に相対する第3縁部を有する。画素行はそれぞれ第1縁部及び第3縁部に隣接する第1縁部画素行と第2縁部画素行とを含み、画素列は第2縁部に隣接する第1縁部画素列を含む。第1縁部画素行の発光画素から第1縁部までの距離はいずれも等しく、第2縁部画素行の発光画素から第3縁部までの距離はいずれも等しく、第1縁部画素列の発光画素から第2縁部までの距離はいずれも等しく、且つ第1縁部画素行の発光画素から第1縁部までの距離は第2縁部画素行の発光画素から第3縁部までの距離と等しい。
【選択図】図3B
特許請求の範囲
【請求項1】
アーク表示装置であって、
それぞれは第1縁部、前記第1縁部に接続される第2縁部及び前記第1縁部に相対する第3縁部を有する複数の非矩形基板と、
それぞれ前記複数の非矩形基板に設置され、行列配列される複数の発光画素を含む複数の画素配列と、を含み、
前記複数の発光画素は複数の画素行及び複数の画素列に配列され、且つ前記複数の画素行は前記第1縁部に隣接する第1縁部画素行及び前記第3縁部に隣接する第2縁部画素行を含み、前記複数の画素列は前記第2縁部に隣接する第1縁部画素列を含み、
前記第1縁部画素行の前記複数の発光画素から前記第1縁部までの距離はいずれも等しく、前記第1縁部画素列の前記複数の発光画素から前記第2縁部までの距離はいずれも等しく、前記第2縁部画素行の前記複数の発光画素から前記第3縁部までの距離はいずれも等しく、且つ前記第1縁部画素行の前記複数の発光画素から前記第1縁部までの距離は前記第2縁部画素行の前記複数の発光画素から前記第3縁部までの距離と等しいことを特徴とする、アーク表示装置。
続きを表示(約 2,400 文字)
【請求項2】
前記第1縁部画素行の前記複数の発光画素から前記第1縁部までの距離は前記第1縁部画素列の前記複数の発光画素から前記第2縁部までの距離と等しくない、請求項1に記載のアーク表示装置。
【請求項3】
前記複数の非矩形基板は隣接する2つの非矩形基板を含み、前記隣接する2つの非矩形基板の1つの前記第3縁部は前記隣接する2つの非矩形基板のもう1つの前記第1縁部に接合され、前記隣接する2つの非矩形基板の前記1つの前記第2縁部画素行の前記複数の発光画素と前記隣接する2つの非矩形基板の前記もう1つの前記第1縁部画素行の前記複数の発光画素との間の間隔は、前記隣接する2つの非矩形基板の各前記画素列の前記複数の発光画素の間の間隔以下である、請求項1に記載のアーク表示装置。
【請求項4】
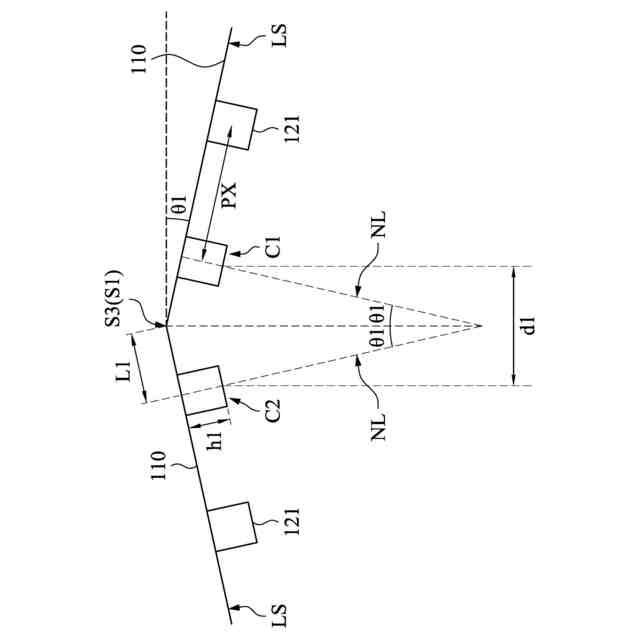
前記複数の非矩形基板は隣接する2つの非矩形基板を含み、前記隣接する2つの非矩形基板の1つの前記第3縁部は前記隣接する2つの非矩形基板のもう1つの前記第1縁部に接合され、前記隣接する2つの非矩形基板の法線の間には夾角を有し、前記隣接する2つの非矩形基板の前記1つの前記第2縁部画素行の前記複数の発光画素と前記隣接する2つの非矩形基板の前記もう1つの前記第1縁部画素行の前記複数の発光画素との間には間隔を有し、前記隣接する2つの非矩形基板の前記1つの前記第2縁部画素行の前記複数の発光画素から前記隣接する2つの非矩形基板の前記1つの前記第3縁部までは距離を有し、前記隣接する2つの非矩形基板の前記1つの前記第2縁部画素行の各前記発光画素は高さを有し、ここで、前記距離、前記間隔、前記夾角の半角及び前記高さは以下の数式を満たし、
L1=((d1/2sinθ1)+1)×tanθ1
ここで、L1は前記距離で、d1は前記間隔で、θ1は前記夾角の半角で、h1は前記高さである、請求項1に記載のアーク表示装置。
【請求項5】
各前記非矩形基板はさらに前記第1縁部に接続する第4縁部を有し、前記複数の画素列はさらに前記第4縁部に隣接する第2縁部画素列を含み、前記第2縁部画素列の前記複数の発光画素から前記第4縁部までの距離はいずれも等しく、前記第2縁部画素列の前記複数の発光画素から前記第4縁部までの距離は、前記第1縁部画素列の前記複数の発光画素から前記第2縁部までの距離と等しい、請求項1に記載のアーク表示装置。
【請求項6】
前記複数の非矩形基板は隣接する2つの非矩形基板を含み、前記隣接する2つの非矩形基板の1つの前記第2縁部は前記隣接する2つの非矩形基板のもう1つの前記第4縁部に接合され、前記隣接する2つの非矩形基板の前記1つの前記第1縁部画素列の前記複数の発光画素と前記隣接する2つの非矩形基板の前記もう1つの前記第2縁部画素列の前記複数の発光画素との間の間隔は、前記隣接する2つの非矩形基板の各前記画素行の前記複数の発光画素の間の間隔以下である、請求項5に記載のアーク表示装置。
【請求項7】
前記複数の非矩形基板は隣接する2つの非矩形基板を含み、前記隣接する2つの非矩形基板の1つの前記第2縁部は前記隣接する2つの非矩形基板のもう1つの前記第4縁部に接合され、前記隣接する2つの非矩形基板の法線の間には夾角を有し、前記隣接する2つの非矩形基板の前記1つの前記第1縁部画素列の前記複数の発光画素と前記隣接する2つの非矩形基板の前記もう1つの前記第2縁部画素列の前記複数の発光画素との間には間隔を有し、前記隣接する2つの非矩形基板の前記1つの前記第1縁部画素列の前記複数の発光画素から前記隣接する2つの非矩形基板の前記1つの前記第2縁部までは距離を有し、前記隣接する2つの非矩形基板の前記1つの前記第1縁部画素列の前記複数の発光画素は高さを有し、ここで、前記距離、前記間隔、前記夾角の半角及び前記高さは以下の数式を満たし、
L2=(d2/2sinθ2)+h2)×tanθ2
ここで、L2は前記距離で、d2は前記間隔で、θ2は前記夾角の半角で、h2は前記高さである、請求項5に記載のアーク表示装置。
【請求項8】
各前記非矩形基板はさらに前記第2縁部と前記第3縁部に接続する第5縁部を有し、前記複数の画素列はさらに前記第5縁部に隣接する第3縁部画素列を含み、前記第3縁部画素列の前記複数の発光画素から前記第5縁部までの距離はいずれも等しく、前記第3縁部画素列の前記複数の発光画素から前記第5縁部までの距離は、前記第1縁部画素列の前記複数の発光画素から前記第2縁部までの距離と等しい、請求項5に記載のアーク表示装置。
【請求項9】
各前記非矩形基板はさらに前記第3縁部に接続する第5縁部及び前記第2縁部と前記第5縁部に接続する第6縁部を有し、前記複数の画素列はさらに前記第5縁部に隣接する第3縁部画素列及び前記第6縁部に隣接する第4縁部画素列を含み、前記第3縁部画素列の前記複数の発光画素から前記第5縁部までの距離はいずれも等しく、前記第4縁部画素列の前記複数の発光画素から前記第6縁部までの距離はいずれも等しく、前記第3縁部画素列の前記複数の発光画素から前記第5縁部までの距離は、前記第1縁部画素列の前記複数の発光画素から前記第2縁部までの距離と等しく、前記第4縁部画素列の前記複数の発光画素から前記第6縁部までの距離は、前記第3縁部画素列の前記複数の発光画素から前記第5縁部までの距離と等しい、請求項5に記載のアーク表示装置。
【請求項10】
同一の前記画素列の前記複数の発光画素の間の間隔はいずれも等しい、請求項1に記載のアーク表示装置。
(【請求項11】以降は省略されています)
発明の詳細な説明
【技術分野】
【0001】
本発明はアーク表示装置に関し、特に複数の非矩形基板を含むアーク表示装置に関する。
続きを表示(約 2,200 文字)
【背景技術】
【0002】
科学技術産業の日々発展に伴い、表示装置は日常生活に広く応用されている。発光素子を含む複数の表示ユニット(ライトパネル)をアーク面に接合することにより、アーク表示装置は、平面ディスプレイと異なる体験を提供することができ、大規模な展示イベントによく使用される。アーク表示装置の表示面は平面ではないため、ライトパネル形状は非矩形で斜辺を有する多辺形である可能性があり、球形表示装置を例として、赤道に近接するライトパネル形状は台形である可能性があるが、南北極に近接するライトパネル形状は五辺形以上の異形パネルである可能性がある。
【0003】
しかしながら、発光素子が矩形ライトパネルに設置される一般的な配列形態で非矩形の斜辺を有する多辺形ライトパネルに設置する場合、ライトパネルに隣接する縁部に位置する発光素子からライトパネル斜辺までの距離が異なる状況が発生し、接合位置に明るい線又は暗い線が生成し、これによって表示品質に影響を与える。
【発明の概要】
【課題を解決するための手段】
【0004】
本発明は、接合位置の明るい線又は暗い線の生成を減少させ、これにより表示品質を維持又は向上させることができるアーク表示装置を提供する。
【0005】
本発明の少なくとも一実施例により提供されるアーク表示装置は複数の非矩形基板及び複数の画素配列を含む。各非矩形基板は第1縁部、第1縁部に接続される第2縁部及び第1縁部に相対する第3縁部を有する。これらの画素配列はそれぞれこれらの非矩形基板に設置され、各画素配列は行列に配列される複数の発光画素を含み、これらの発光画素は複数の画素行及び複数の画素列に配列され、且つこれらの画素行は第1縁部に隣接する第1縁部画素行及び第3縁部に隣接する第2縁部画素行を含み、これらの画素列は第2縁部に隣接する第1縁部画素列を含む。第1縁部画素行のこれらの発光画素から第1縁部までの距離はいずれも等しく、第2縁部画素行のこれらの発光画素から第3縁部までの距離はいずれも等しく、第1縁部画素列のこれらの発光画素から第2縁部までの距離はいずれも等しく、且つ第1縁部画素行のこれらの発光画素から第1縁部までの距離は第2縁部画素行のこれらの発光画素から第3縁部までの距離と等しい。
【0006】
本発明の少なくとも一実施例において、第1縁部画素行のこれらの発光画素から第1縁部までの距離は第1縁部画素列のこれらの発光画素から第2縁部までの距離と等しくない。
【0007】
本発明の少なくとも一実施例において、前記複数の非矩形基板は隣接する2つの非矩形基板を含み、隣接する2つの非矩形基板の1つの前記第3縁部は隣接する2つの非矩形基板のもう1つの前記第1縁部に接合され、隣接する2つの非矩形基板の1つの前記第2縁部画素行の前記複数の発光画素と隣接する2つの非矩形基板のもう1つの前記第1縁部画素行の前記複数の発光画素との間の間隔は、隣接する2つの非矩形基板の各画素列の前記複数の発光画素の間の間隔以下である。
【0008】
本発明の少なくとも一実施例において、前記複数の非矩形基板は隣接する2つの非矩形基板を含み、隣接する2つの非矩形基板の1つの前記第3縁部は隣接する2つの非矩形基板のもう1つの前記第1縁部に接合され、隣接する2つの非矩形基板の法線の間には夾角を有し、隣接する2つの非矩形基板の1つの前記第2縁部画素行の前記複数の発光画素と隣接する2つの非矩形基板のもう1つの前記第1縁部画素行の前記複数の発光画素との間には間隔を有し、隣接する2つの非矩形基板の1つの前記第2縁部画素行の前記複数の発光画素から隣接する2つの非矩形基板の1つの前記第3縁部までは距離を有し、隣接する2つの非矩形基板の1つの前記第2縁部画素行の各前記発光画素は高さを有し、ここで、距離、間隔、夾角の半角及び高さは以下の数式を満たし、
L1=((d1/2sinθ1)+h1)×tanθ1
ここで、L1は距離で、d1は間隔で、θ1は夾角の半角で、h1は高さである。
【0009】
本発明の少なくとも一実施例において、各前記非矩形基板はさらに前記第1縁部に接続する第4縁部を有し、前記複数の画素列はさらに第4縁部に隣接する第2縁部画素列を含み、第2縁部画素列の前記複数の発光画素から第4縁部までの距離はいずれも等しく、第2縁部画素列の前記複数の発光画素から第4縁部までの距離は、前記第1縁部画素列の前記複数の発光画素から前記第2縁部までの距離と等しい。
【0010】
本発明の少なくとも一実施例において、前記複数の非矩形基板は隣接する2つの非矩形基板を含み、隣接する2つの非矩形基板の1つの前記第2縁部は隣接する2つの非矩形基板のもう1つの前記第4縁部に接合され、隣接する2つの非矩形基板の1つの前記第1縁部画素列の前記複数の発光画素と隣接する2つの非矩形基板のもう1つの前記第2縁部画素列の前記複数の発光画素との間の間隔は、隣接する2つの非矩形基板の各前記画素行の前記複数の発光画素の間の間隔以下である。
(【0011】以降は省略されています)
この特許をJ-PlatPat(特許庁公式サイト)で参照する
関連特許
個人
回転式カード学習具
1か月前
日本精機株式会社
表示装置
26日前
日本精機株式会社
表示装置
2か月前
個人
時刻表示機能つき手帳
2か月前
個人
計算用教具
22日前
中国電力株式会社
標示旗
1か月前
日本精機株式会社
車両用表示装置
2か月前
日本精機株式会社
車両用表示装置
2か月前
日本精機株式会社
車両用表示装置
2か月前
個人
微細構造を模した理科学習教材
5日前
個人
モデルで薔薇の花嫁様を描く為
1か月前
日本精機株式会社
車両用センサ装置
22日前
シャープ株式会社
表示装置
1か月前
株式会社一弘社
情報表示板
1か月前
個人
音楽教材
2か月前
株式会社ウメラボ
学習支援システム
12日前
株式会社ウメラボ
学習支援システム
18日前
ニチレイマグネット株式会社
磁着式電飾装置
1か月前
株式会社半導体エネルギー研究所
半導体装置
2か月前
リンテック株式会社
表示体
11日前
株式会社リコー
画像投射システム
1か月前
シチズンファインデバイス株式会社
液晶表示装置
1か月前
株式会社サンゲツ
見本帳
2か月前
学校法人関西医科大学
腹腔鏡手術訓練装置
1か月前
シチズンファインデバイス株式会社
液晶表示装置
2か月前
BEST株式会社
吊り下げ表示部材
2か月前
シャープ株式会社
表示装置
2か月前
シャープ株式会社
表示装置
2か月前
セイコーエプソン株式会社
表示方法
1か月前
セイコーエプソン株式会社
表示方法
1か月前
リンテック株式会社
粘着ラベル
12日前
ニプロ株式会社
シミュレータ
1か月前
ローム株式会社
暗号化装置
12日前
TOPPANホールディングス株式会社
ラベル
2か月前
キヤノン株式会社
発光装置
25日前
TOPPANホールディングス株式会社
ラベル
22日前
続きを見る
他の特許を見る