TOP
|
特許
|
意匠
|
商標
特許ウォッチ
Twitter
他の特許を見る
10個以上の画像は省略されています。
公開番号
2025156529
公報種別
公開特許公報(A)
公開日
2025-10-14
出願番号
2025130666,2024101297
出願日
2025-08-05,2016-07-14
発明の名称
表示装置
出願人
株式会社半導体エネルギー研究所
代理人
主分類
G09F
9/30 20060101AFI20251002BHJP(教育;暗号方法;表示;広告;シール)
要約
【課題】表示装置の表示不良を低減する。表示装置の表示品位を向上する。
【解決手段】表示パネルと第1の導電層を有する表示装置である。表示パネルは、一対の
電極を有する表示素子を有する。一対の電極のうち、表示パネルの一方の表面に近い方の
電極には、定電位が供給される。第1の導電層には定電位が供給される。表示パネルの他
方の表面に設けられた第2の導電層が、第1の導電層と接することで、第2の導電層にも
、定電位が供給される。第2の導電層は、第1の導電層と固定されていない部分を有する
。
【選択図】図2
特許請求の範囲
【請求項1】
表示パネル及び第1の導電層を有し、
前記表示パネルは、可撓性を有し、
前記表示パネルは、可撓性基板、トランジスタ、発光素子、及び第2の導電層を有し、
前記トランジスタ及び前記発光素子は、それぞれ、前記可撓性基板上に位置し、
前記発光素子は、前記可撓性基板上の第1の電極と、前記第1の電極上の発光性の物質を含む層と、
前記発光性の物質を含む層上の第2の電極と、を有し、
前記第1の電極は、前記トランジスタのソース又はドレインと電気的に接続され、
前記第2の電極には、定電位が供給され、
前記トランジスタ及び前記発光素子は、それぞれ、前記第2の導電層と電気的に絶縁され、かつ、
それぞれ、前記可撓性基板を介して前記第2の導電層と重なり、
前記第2の導電層は、前記第1の導電層と接する部分を有し、かつ、前記第1の導電層と固定されていない部分を有し、
前記第1の導電層には、定電位が供給される、表示装置。
発明の詳細な説明
【技術分野】
【0001】
本発明の一態様は、表示装置、モジュール、及び電子機器に関する。本発明の一態様は、
特に、エレクトロルミネッセンス(Electroluminescence、以下EL
とも記す)現象を利用した表示装置、モジュール、及び電子機器に関する。
続きを表示(約 890 文字)
【0002】
なお、本発明の一態様は、上記の技術分野に限定されない。本発明の一態様の技術分野と
しては、半導体装置、表示装置、発光装置、蓄電装置、記憶装置、電子機器、照明装置、
入力装置(例えば、タッチセンサなど)、入出力装置(例えば、タッチパネルなど)、そ
れらの駆動方法、又はそれらの製造方法を一例として挙げることができる。
【背景技術】
【0003】
近年、表示装置は様々な用途への応用が期待されており、多様化が求められている。
【0004】
例えば、携帯機器用途等の表示装置では、薄型であること、軽量であること、又は破損し
にくいこと等が求められている。
【0005】
EL現象を利用した発光素子(EL素子とも記す)は、薄型軽量化が容易である、入力信
号に対し高速に応答可能である、直流低電圧電源を用いて駆動可能である等の特徴を有し
、表示装置への応用が検討されている。
【0006】
例えば、特許文献1に、有機EL素子が適用された可撓性を有する発光装置が開示されて
いる。
【先行技術文献】
【特許文献】
【0007】
特開2014-197522号公報
【発明の概要】
【発明が解決しようとする課題】
【0008】
軽量化又はフレキシブル化のために表示パネルの厚さを薄くすると、表示パネルはノイズ
の影響を受けやすくなる。
【0009】
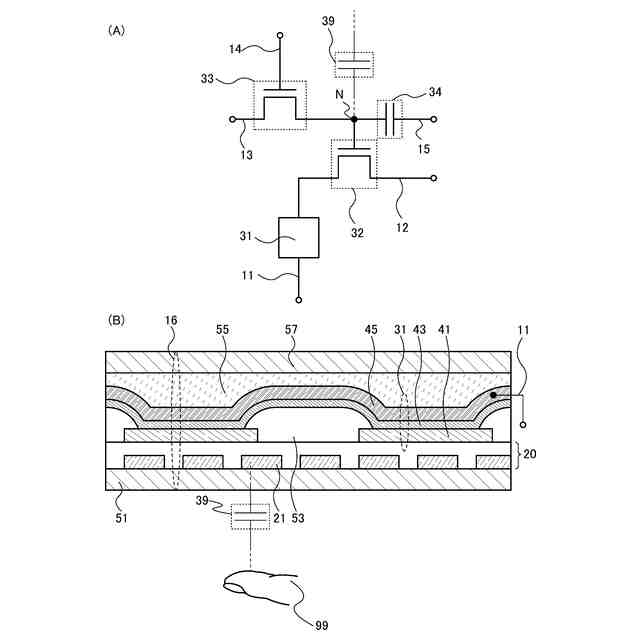
ノイズの原因の一つとして、表示パネルと、筐体又は人体等との寄生容量が挙げられる。
【0010】
例えば、表示パネルを変形させることで、表示パネルの少なくとも一部において、筐体に
対する相対的な位置が変わることがある。これにより、表示パネルと、筐体との間の寄生
容量の大きさが変化すると、局所的に画素の輝度が変化し、表示不良となる恐れがある。
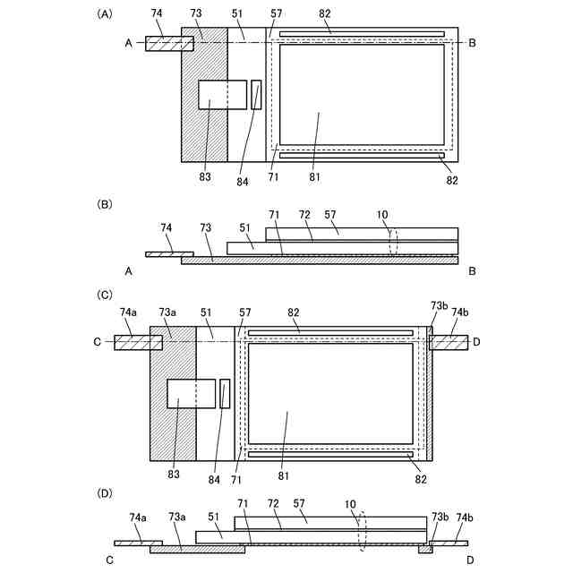
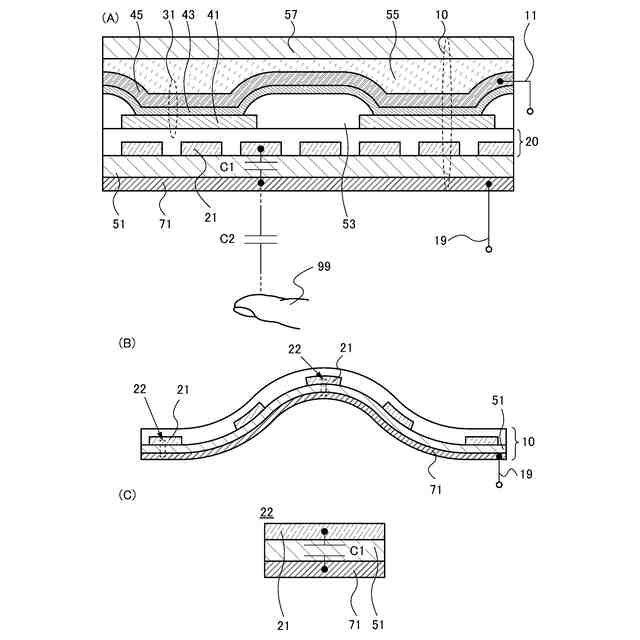
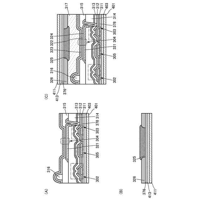
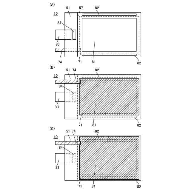
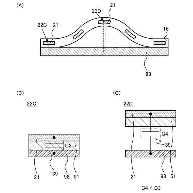
(【0011】以降は省略されています)
この特許をJ-PlatPat(特許庁公式サイト)で参照する
関連特許
個人
回転式カード学習具
1か月前
日本精機株式会社
表示装置
26日前
日本精機株式会社
表示装置
2か月前
個人
時刻表示機能つき手帳
2か月前
個人
計算用教具
22日前
中国電力株式会社
標示旗
1か月前
日本精機株式会社
車両用表示装置
2か月前
日本精機株式会社
車両用表示装置
2か月前
日本精機株式会社
車両用表示装置
2か月前
個人
微細構造を模した理科学習教材
5日前
個人
モデルで薔薇の花嫁様を描く為
1か月前
日本精機株式会社
車両用センサ装置
22日前
トヨタ自動車株式会社
評価方法
3か月前
株式会社一弘社
情報表示板
1か月前
シャープ株式会社
表示装置
1か月前
株式会社ウメラボ
学習支援システム
18日前
株式会社ウメラボ
学習支援システム
12日前
個人
音楽教材
2か月前
個人
口唇閉鎖の訓練具
3か月前
株式会社半導体エネルギー研究所
半導体装置
2か月前
ニチレイマグネット株式会社
磁着式電飾装置
1か月前
株式会社リコー
画像投射システム
1か月前
リンテック株式会社
表示体
11日前
株式会社ノジマ
応対体験システム
3か月前
シチズンファインデバイス株式会社
液晶表示装置
1か月前
個人
サインポスト
2か月前
シチズンファインデバイス株式会社
液晶表示装置
2か月前
株式会社サンゲツ
見本帳
2か月前
学校法人関西医科大学
腹腔鏡手術訓練装置
1か月前
BEST株式会社
吊り下げ表示部材
2か月前
シャープ株式会社
表示装置
2か月前
シャープ株式会社
表示装置
2か月前
個人
ピアノの指トレーニング器具及び練習方法
3か月前
セイコーエプソン株式会社
表示方法
1か月前
セイコーエプソン株式会社
表示方法
1か月前
ニデックインスツルメンツ株式会社
情報処理装置
2か月前
続きを見る
他の特許を見る