TOP
|
特許
|
意匠
|
商標
特許ウォッチ
Twitter
他の特許を見る
10個以上の画像は省略されています。
公開番号
2025158996
公報種別
公開特許公報(A)
公開日
2025-10-17
出願番号
2025126219,2024146412
出願日
2025-07-29,2010-01-11
発明の名称
半導体装置
出願人
株式会社半導体エネルギー研究所
代理人
主分類
G09F
9/30 20060101AFI20251009BHJP(教育;暗号方法;表示;広告;シール)
要約
【課題】プルアップトランジスタのゲートの電位の低下を抑制することを課題の一とする
。
【解決手段】駆動回路が有する第1のトランジスタは、第1の端子が第2の配線に電気的
に接続され、第2の端子が第1の配線に電気的に接続され、ゲートが第2の回路及び第3
のトランジスタの第1の端子に電気的に接続され、第2のトランジスタは、第1の端子が
第1の配線に電気的に接続され、第2の端子が第6の配線に電気的に接続され、ゲートが
第1の回路及び第3のトランジスタのゲートに電気的に接続され、第3のトランジスタは
、第2の端子が第6の配線に電気的に接続され、第1の回路は、第3の配線、第4の配線
、第5の配線、及び第6の配線に電気的に接続され、第2の回路は、第1の配線、第2の
配線、及び第6の配線に電気的に接続されている。
【選択図】図1
特許請求の範囲
【請求項1】
基板と、
前記基板の上方に位置する領域を有し、かつのゲート電極としての機能を有する第1の導電層と、
前記第1の導電層の上方に位置する領域を有し、かつゲート絶縁膜としての機能を有する第1の絶縁層と、
前記第1の絶縁層の上方に位置する領域を有し、かつチャネル形成領域を有する半導体層と、
前記半導体層の上方に位置する領域を有し、かつソース電極またはドレイン電極としての機能を有する第2の導電層と、
前記第2の導電層の上方に位置する領域を有する第2の絶縁層と、
前記第2の絶縁層の上方に位置する領域を有し、かつ画素電極としての機能を有する第3の導電層と、を有する半導体装置。
発明の詳細な説明
【技術分野】
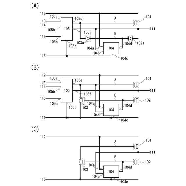
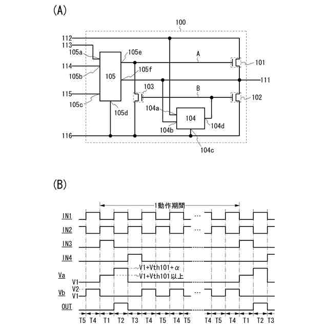
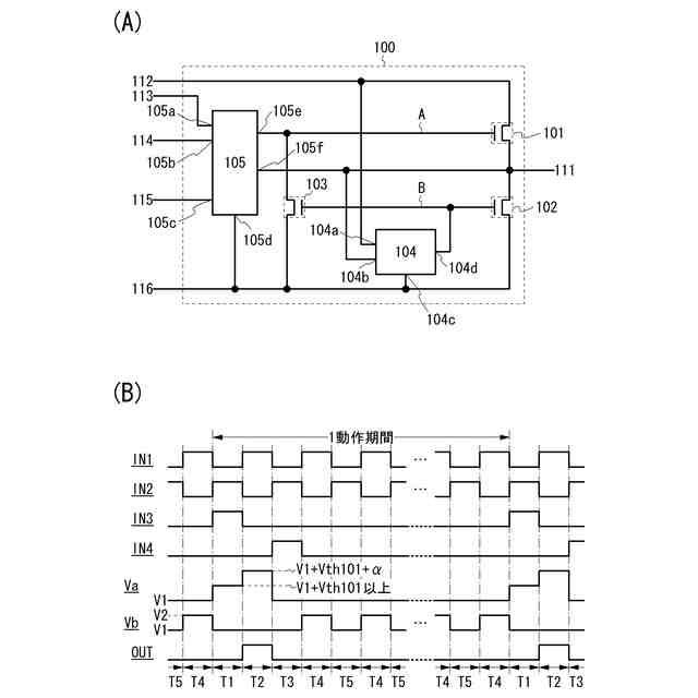
【0001】
半導体装置、表示装置、液晶表示装置、それらの駆動方法、又はそれらを生産する方法に
関する。特に、画素部と同じ基板に形成される駆動回路を有する半導体装置、表示装置、
液晶表示装置、又はそれらの駆動方法に関する。または、当該半導体装置、当該表示装置
、又は当該液晶表示装置を有する電子機器に関する。
続きを表示(約 2,000 文字)
【背景技術】
【0002】
近年、表示装置は、液晶テレビなどの大型表示装置の増加から、活発に開発が進められて
いる。特に、非単結晶半導体によって構成されるトランジスタを用いて、画素部と同じ基
板にゲートドライバなどの駆動回路を構成する技術は、コストの低減、信頼性の向上に大
きく貢献するため、活発に開発が進められている。
【0003】
非単結晶半導体によって構成されるトランジスタは、閾値電圧の上昇、又は移動度の低下
などの劣化を生じることがある。このトランジスタの劣化が進むと、駆動回路が動作しづ
らくなり、画像を表示できなくなるといった問題があった。そこで、特許文献1には、ト
ランジスタの劣化を抑制することができるシフトレジスタが開示されている。特に、特許
文献1の図7では、トランジスタの特性劣化を抑制するために、二つのトランジスタが用
いられる。一方のトランジスタは、フリップフロップの出力端子と、VSS(以下負電源
)が供給される配線との間に接続される。他方のトランジスタは、フリップフロップの出
力端子と、プルアップトランジスタのゲートとの間に接続される。そして、フリップフロ
ップの出力信号がLレベルになる期間において、この二つのトランジスタが交互にオンす
る。一方のトランジスタがオンすると、VSSが一方のトランジスタを介してフリップフ
ロップの出力端子に供給される。他方のトランジスタがオンすると、プルアップトランジ
スタのゲートに供給されるVSSが他方のトランジスタを介してフリップフロップの出力
端子に供給される。こうして、トランジスタの劣化を抑制することができる。さらに、フ
リップフロップの出力端子にVSSが常に供給されるので、フリップフロップの出力信号
をLレベルに維持しやすくなる。
【先行技術文献】
【特許文献】
【0004】
特開2005-50502号公報
【発明の概要】
【発明が解決しようとする課題】
【0005】
特許文献1に示す構成において、フリップフロップの出力信号がHレベルとなる期間にお
いて、他方のトランジスタが少しの間オンしてしまうので、プルアップトランジスタのゲ
ートと、フリップフロップの出力端子とが少しの間導通状態になる。このとき、プルアッ
プトランジスタのゲートの電位は、高い電位になっており、フリップフロップの出力端子
の電位は、低い電位となっている。本発明の一態様は、プルアップトランジスタのゲート
の電位を高くすることを課題とする。
【0006】
または、プルアップトランジスタのゲートの電位が低下すると、プルアップトランジスタ
がオフすることがある。本発明の一態様は、シフトレジスタの誤動作を防ぐことを課題と
する。
【0007】
または、プルアップトランジスタがオンし、シフトレジスタが正常に動作することができ
たとしても、プルアップトランジスタのゲートの電位は低下することに変わりない。本発
明の一態様は、プルアップトランジスタのゲートとソースとの間の電位差(Vgs)を大
きくすることを課題とする。
【0008】
または、プルアップトランジスタのVgsが小さくなると、プルアップトランジスタのオ
ン抵抗が大きくなってしまう。本発明の一態様は、表示装置を小さくすることを課題とす
る。または、本発明の一態様は、表示装置を高精細にすることを課題とする。
【0009】
または、プルアップトランジスタのVgsが小さくなると、フリップフロップの出力信号
の立ち上がり時間、又は立ち下がり時間が長くなってしまう。本発明の一態様は、画素へ
の不正な信号(例えば別の行に属する画素へのビデオ信号)の書き込みを防止し、表示品
位を高くすることを課題とする。
【0010】
または、プルアップトランジスタのVgsが小さくなると、プルアップトランジスタのチ
ャネル幅を大きくする必要がある。そして、プルアップトランジスタのチャネル幅が大き
くなると、他のトランジスタのチャネル幅も大きくする必要がある。本発明の一態様は、
レイアウト面積を小さくすることを課題とする。または、本発明の一態様は、表示装置の
額縁を狭くすることを課題とする。
(【0011】以降は省略されています)
この特許をJ-PlatPat(特許庁公式サイト)で参照する
関連特許
個人
回転式カード学習具
1か月前
日本精機株式会社
表示装置
26日前
日本精機株式会社
表示装置
2か月前
個人
時刻表示機能つき手帳
2か月前
個人
計算用教具
22日前
中国電力株式会社
標示旗
1か月前
日本精機株式会社
車両用表示装置
2か月前
日本精機株式会社
車両用表示装置
2か月前
日本精機株式会社
車両用表示装置
2か月前
個人
微細構造を模した理科学習教材
5日前
個人
モデルで薔薇の花嫁様を描く為
1か月前
日本精機株式会社
車両用センサ装置
22日前
トヨタ自動車株式会社
評価方法
3か月前
株式会社一弘社
情報表示板
1か月前
シャープ株式会社
表示装置
1か月前
株式会社ウメラボ
学習支援システム
18日前
株式会社ウメラボ
学習支援システム
12日前
個人
音楽教材
2か月前
個人
口唇閉鎖の訓練具
3か月前
株式会社半導体エネルギー研究所
半導体装置
2か月前
ニチレイマグネット株式会社
磁着式電飾装置
1か月前
株式会社リコー
画像投射システム
1か月前
リンテック株式会社
表示体
11日前
株式会社ノジマ
応対体験システム
3か月前
シチズンファインデバイス株式会社
液晶表示装置
1か月前
個人
サインポスト
2か月前
シチズンファインデバイス株式会社
液晶表示装置
2か月前
株式会社サンゲツ
見本帳
2か月前
学校法人関西医科大学
腹腔鏡手術訓練装置
1か月前
BEST株式会社
吊り下げ表示部材
2か月前
シャープ株式会社
表示装置
2か月前
シャープ株式会社
表示装置
2か月前
個人
ピアノの指トレーニング器具及び練習方法
3か月前
セイコーエプソン株式会社
表示方法
1か月前
セイコーエプソン株式会社
表示方法
1か月前
ニデックインスツルメンツ株式会社
情報処理装置
2か月前
続きを見る
他の特許を見る