TOP
|
特許
|
意匠
|
商標
特許ウォッチ
Twitter
他の特許を見る
10個以上の画像は省略されています。
公開番号
2025160999
公報種別
公開特許公報(A)
公開日
2025-10-24
出願番号
2024063809
出願日
2024-04-11
発明の名称
ラベルシート
出願人
朝日インテック株式会社
代理人
個人
主分類
G09F
3/02 20060101AFI20251017BHJP(教育;暗号方法;表示;広告;シール)
要約
【課題】 ラベルシート全体の大きさを増大させることなく、剥離シートの外側部剥離後、かつ剥離シートの内側部剥離前におけるラベルシートの粘着強度を増大させるとともに、表示部に粘着層をしっかりと保持した状態で表示部をシート本体から確実に剥離することができるラベルシートを提供する。
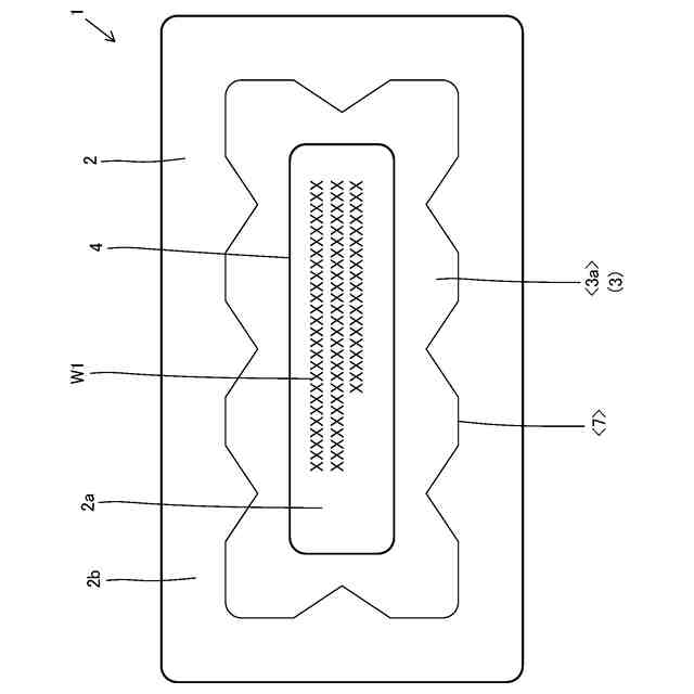
【解決手段】 ラベルシート1は、情報W1が表示された表示部2aと、その表示部2aの外周を覆うように、表示部2aとは分離して配置された外枠部2bと、を有し、1面に粘着層9を備えたシート本体2と、粘着層9を挟んでシート本体2とは反対側に、粘着層9に剥離可能に貼着され、外枠部2bの領域内で内側部3aと外側部3bとに分離された剥離シート3と、を備え、剥離シート3の外側部3bは、シート本体2の表示部2aに向かって延びる8個の第1の突起部5を備えている。
【選択図】 図2
特許請求の範囲
【請求項1】
情報が表示された表示部と、その表示部の外周を覆うように、前記表示部とは分離して配置された外枠部と、を有し、1面に粘着層を備えたシート本体と、
前記粘着層を挟んで前記シート本体とは反対側に、前記粘着層に剥離可能に貼着され、前記外枠部の領域内で内側部と外側部とに分離された剥離シートと、
を備え、
前記剥離シートの前記外側部は、前記シート本体の前記表示部に向かって延びる少なくとも1つの突起部を備えたことを特徴とするラベルシート。
続きを表示(約 1,200 文字)
【請求項2】
前記少なくとも1つの突起部の先端を、平面視において前記表示部の外周に接触させたことを特徴とする請求項1に記載のラベルシート。
【請求項3】
前記少なくとも1つの突起部の幅は、前記表示部に向かって細くなっており、前記少なくとも1つの突起部の先端を、平面視において前記表示部の外周に点接触させたことを特徴とする請求項2に記載のラベルシート。
【請求項4】
情報が表示された略矩形状の表示部と、その表示部の外周を覆うように、前記表示部とは分離して配置された外枠部と、を有し、1面に粘着層を備えたシート本体と、
前記粘着層を挟んで前記シート本体とは反対側に、前記粘着層に剥離可能に貼着され、前記外枠部の領域内で内側部と外側部とに分離された剥離シートと、
を備え、
前記剥離シートの前記外側部は、前記表示部の略矩形状の辺部に沿って断続的に形成され、前記シート本体の前記表示部に向かって延びる複数の突起部を備えたことを特徴とするラベルシート。
【請求項5】
前記複数の突起部のうち少なくとも1つの突起部の先端を、平面視において前記表示部の外周に接触させたことを特徴とする請求項4に記載のラベルシート。
【請求項6】
前記複数の突起部のうち少なくとも1つの突起部の幅は、前記表示部に向かって細くなっており、前記少なくとも1つの突起部の先端を、平面視において前記表示部の外周に点接触させたことを特徴とする請求項5に記載のラベルシート。
【請求項7】
前記複数の突起部は、前記表示部の略矩形状の角部から放射方向に延びる所定領域を除いて形成されていることを特徴とする請求項4乃至請求項6の何れかに記載のラベルシート。
【請求項8】
情報が表示された略楕円形状の表示部と、その表示部の外周を覆うように、前記表示部とは分離して配置された外枠部と、を有し、1面に粘着層を備えたシート本体と、
前記粘着層を挟んで前記シート本体とは反対側に、前記粘着層に剥離可能に貼着され、前記外枠部の領域内で内側部と外側部とに分離された剥離シートと、
を備え、
前記剥離シートの前記外側部は、前記表示部の略楕円形状の円周に沿って断続的に形成され、前記シート本体の前記表示部に向かって延びる複数の突起部を備えたことを特徴とするラベルシート。
【請求項9】
前記複数の突起部のうち少なくとも1つの突起部の先端を、平面視において前記表示部の外周に接触させたことを特徴とする請求項8に記載のラベルシート。
【請求項10】
前記複数の突起部のうち少なくとも1つの突起部の幅は、前記表示部に向かって細くなっており、前記少なくとも1つの突起部の先端を、平面視において前記表示部の外周に点接触させたことを特徴とする請求項9に記載のラベルシート。
(【請求項11】以降は省略されています)
発明の詳細な説明
【技術分野】
【0001】
本発明は、物品の容器を含む包装体に貼付されるラベルシートに関する。
続きを表示(約 1,400 文字)
【背景技術】
【0002】
従来から、包装された物品の内容を表示するために、物品の内容を表示したラベルシートが包装体の表面に貼付されてきた。
【0003】
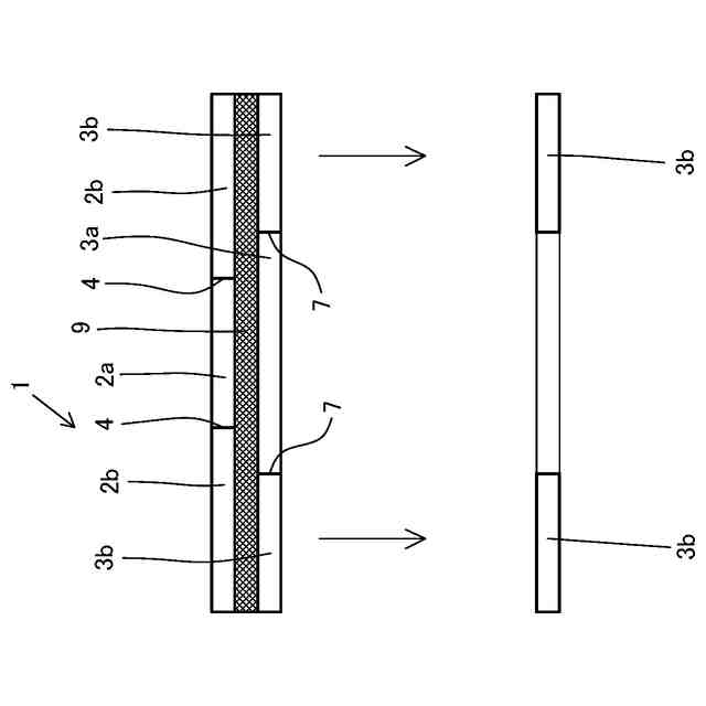
例えば、特許文献1には、貼付面に粘着層4が設けられたラベルシート2と、そのラベルシート2の粘着層4側に剥離可能に設けられた剥離シート3と、を備え、ラベルシート2は、医薬の内容が表示される表示部2aと、その表示部2aの外側を囲むように設けられ、表示部2aと分割された外枠部2bと、を有し、剥離シート3は、ラベルシート2の外枠部2bの領域内で、切れ目3cによって内側部3aと外側部3bとに分割された医薬ラベル1が記載されていると認められる(図1等参照)。
【先行技術文献】
【特許文献】
【0004】
特開2014-161366号公報
【発明の概要】
【発明が解決しようとする課題】
【0005】
しかしながら、特許文献1に記載の医薬ラベル1においては、剥離シート3の外側部3b剥離後、かつ剥離シート3の内側部3a剥離前に露出する粘着層4の領域が小さいため、すなわち、粘着層4の外周から剥離シート3の内側部3aの外周までの距離が短いために、医薬シート1の医薬用袋5に対する粘着強度が十分ではなく、医薬シート1が医薬用袋5から剥がれてしまうという問題があった。
【0006】
そこで、医薬シート1の医薬用袋5に対する粘着強度を増大させるために、粘着層4の領域を大きくして医薬シート1の医薬用袋5からの剥がれを防止する方法もあるが、その場合には、医薬シート1全体の大きさを増大させてしまうという問題があった。
【0007】
また、特許文献1に記載の医薬シート1(以下、「ラベルシート」と記す)は、医薬の内容が表示された表示部2aを外枠2bから剥がした状態で別の容器に貼り替える必要があることから、表示部2aに粘着層4がしっかりと保持された状態で外枠部2bから剥がされる必要がある。
【0008】
本発明は、従来技術が有する上述した問題に対応してなされたものであり、ラベルシート全体の大きさを増大させることなく、剥離シートの外側部剥離後、かつ剥離シートの内側部剥離前におけるラベルシートの粘着強度を増大させるとともに、表示部に粘着層をしっかりと保持した状態で表示部をシート本体から確実に剥離することができるラベルシートを提供することを目的とする。
【課題を解決するための手段】
【0009】
上述した課題を解決するために、本発明の第1の態様のラベルシートは、情報が表示された表示部と、その表示部の外周を覆うように、前記表示部とは分離して配置された外枠部と、を有し、1面に粘着層を備えたシート本体と、前記粘着層を挟んで前記シート本体とは反対側に、前記粘着層に剥離可能に貼着され、前記外枠部の領域内で内側部と外側部とに分離された剥離シートと、
を備え、前記剥離シートの前記外側部は、前記シート本体の前記表示部に向かって延びる少なくとも1つの突起部を備えたことを特徴とする。
【0010】
また、本発明の第2の態様は、第1の態様のラベルシートにおいて、前記少なくとも1つの突起部の先端を、平面視において前記表示部の外周に接触させたことを特徴とする。
(【0011】以降は省略されています)
この特許をJ-PlatPat(特許庁公式サイト)で参照する
関連特許
個人
教育のAI化
1日前
個人
英語教材
17日前
個人
回転式カード学習具
2か月前
日本精機株式会社
表示装置
4日前
日本精機株式会社
表示装置
1か月前
個人
計算用教具
1か月前
中国電力株式会社
標示旗
1か月前
日本精機株式会社
車両用表示装置
10日前
個人
インフィニティミラー
2日前
日本精機株式会社
車両用センサ装置
1か月前
個人
微細構造を模した理科学習教材
23日前
個人
モデルで薔薇の花嫁様を描く為
2か月前
日榮新化株式会社
対象物質感知シート
1日前
株式会社一弘社
情報表示板
2か月前
ニチレイマグネット株式会社
サイン器具
15日前
シャープ株式会社
表示装置
1か月前
株式会社ウメラボ
学習支援システム
1か月前
株式会社ウメラボ
学習支援システム
1か月前
日本精機株式会社
表示装置及びその製造方法
4日前
ニチレイマグネット株式会社
磁着式電飾装置
1か月前
朝日インテック株式会社
ラベルシート
15日前
リンテック株式会社
表示体
29日前
朝日インテック株式会社
生体モデル装置
4日前
株式会社イリオスNOTO
シート保管具
15日前
シャープ株式会社
表示装置
16日前
株式会社リコー
画像投射システム
1か月前
シチズンファインデバイス株式会社
液晶表示装置
1か月前
学校法人関西医科大学
腹腔鏡手術訓練装置
1か月前
国立大学法人秋田大学
運転シミュレータ
16日前
セイコーエプソン株式会社
表示方法
1か月前
セイコーエプソン株式会社
表示方法
1か月前
リンテック株式会社
粘着ラベル
1か月前
ニプロ株式会社
シミュレータ
2か月前
TOPPANホールディングス株式会社
ラベル
1か月前
キヤノン株式会社
発光装置
1か月前
ローム株式会社
暗号化装置
1か月前
続きを見る
他の特許を見る