TOP
|
特許
|
意匠
|
商標
特許ウォッチ
Twitter
他の特許を見る
公開番号
2025068286
公報種別
公開特許公報(A)
公開日
2025-04-28
出願番号
2023178076
出願日
2023-10-16
発明の名称
収納装置および繊維構造体製造装置
出願人
セイコーエプソン株式会社
代理人
個人
,
個人
,
個人
主分類
D04H
1/736 20120101AFI20250421BHJP(組みひも;レース編み;メリヤス編成;縁とり;不織布)
要約
【課題】コンプレッサーの冷却を良好に行うことができるとともに、コンプレッサーによる圧縮空気の生成および供給を安定して行うことができる収納装置および繊維構造体製造装置を提供すること。
【解決手段】繊維構造体の製造に用いられる圧縮空気を供給するコンプレッサーを収納する収納装置であって、コンプレッサーを収納する第1収納部と、コンプレッサーに供給される第1空気を吸気する第1吸気口と、第1空気より高温の第2空気を排気する第1排気口と、を有する第1ケーシングと、第1排気口に接続され、第1排気口から排出された第2空気を第1吸気口から遠ざけるように導いて排出する第1導風部材と、を有する第1収納具を備えることを特徴とする収納装置。
【選択図】図2
特許請求の範囲
【請求項1】
繊維構造体の製造に用いられる圧縮空気を供給するコンプレッサーを収納する収納装置であって、
前記コンプレッサーを収納する第1収納部と、前記コンプレッサーに供給される第1空気を吸気する第1吸気口と、前記第1空気より高温の第2空気を排気する第1排気口と、を有する第1ケーシングと、
前記第1排気口に接続され、前記第1排気口から排出された前記第2空気を前記第1吸気口から遠ざけるように導いて排出する第1導風部材と、を有する第1収納具を備えることを特徴とする収納装置。
続きを表示(約 1,000 文字)
【請求項2】
前記第1ケーシングは、平板状の第1壁部を有し、
前記第1吸気口および前記第1排気口は、前記第1壁部に設けられている請求項1に記載の収納装置。
【請求項3】
前記第1導風部材は、一端部が前記第1排気口に接続され、他端部に開口を有し、
前記開口の少なくとも一部が、前記第1壁部の平面視で前記第1壁部の外側に位置している請求項2に記載の収納装置。
【請求項4】
前記第1収納具を収納する第2収納部と、前記第1吸気口と連通する第2吸気口と、前記第1排気口と前記第1導風部材を介して連通する第2排気口と、を備える第2ケーシングを有する第2収納具を備える請求項1ないし3のいずれか1項に記載の収納装置。
【請求項5】
前記第2ケーシングは、平板状の第2壁部を有し、
前記第2吸気口および前記第2排気口は、前記第2壁部に設けられている請求項4に記載の収納装置。
【請求項6】
前記第2収納具は、前記第2排気口に接続され、前記第2排気口から排出された前記第2空気を前記第2吸気口から遠ざけるように導いて排出する第2導風部材を備える請求項5に記載の収納装置。
【請求項7】
繊維を含む材料を供給する原料供給部と、
前記材料の解繊物を堆積させて堆積物を生成する堆積部と、
前記堆積物を成形して繊維構造体を生成する成形部と、
前記繊維構造体の製造に用いられる圧縮空気を供給するコンプレッサーと、
前記コンプレッサーを収納する収納装置と、を備え、
前記収納装置は、前記コンプレッサーを収納する第1収納部と、前記コンプレッサーに供給される第1空気を吸気する第1吸気口と、前記第1空気より高温の第2空気を排気する第1排気口と、を有する第1ケーシングと、
前記第1排気口に接続され、前記第1排気口から排出された前記第2空気を前記第1吸気口から遠ざけるように導いて排出する第1導風部材と、を有する第1収納具を備えることを特徴とする繊維構造体製造装置。
【請求項8】
前記収納装置は、前記第1収納具を収納する第2収納部と、前記第1吸気口と連通する前記第2吸気口と、前記第2排気口と前記第1導風部材を介して連通する前記第2排気口と、を備える第2ケーシングを有する第2収納具を備える請求項7に記載の繊維構造体製造装置。
発明の詳細な説明
【技術分野】
【0001】
本発明は、収納装置および繊維構造体製造装置に関する。
続きを表示(約 1,700 文字)
【背景技術】
【0002】
古紙を供給する原料供給部、古紙を粗砕する粗砕部、粗砕部で得られた粗砕片を貯留する貯留部、貯留部から排出された粗砕片を解繊する解繊部、解繊部で得られた解繊物を平面上に堆積させる堆積部、堆積したウェブを加熱、加圧する加熱加圧部、加熱加圧部で得られたシートを所定の形状に裁断する裁断部、および得られたシートを回収するシート回収部を備えた繊維構造体製造装置が知られている。この繊維構造体製造装置は、圧縮空気を生成し、該圧縮空気を装置の所定部位へ供給するコンプレッサーを備えている。
【0003】
コンプレッサーにより生成された圧縮空気は、例えば、原料供給部等の各部に供給され、古紙の搬送等に用いられる。コンプレッサーは、特許文献1に示すように、吸気口および排気口を有するケーシングに収納されて用いられる。吸気口から空気を取り入れ、取り入れた空気をコンプレッサーに供給して圧縮したり、コンプレッサーの冷却に使用したりする。排気口からは、ケーシングの内部で昇温した空気が排出される。
【先行技術文献】
【特許文献】
【0004】
特開平9-170557号公報
【発明の概要】
【発明が解決しようとする課題】
【0005】
しかしながら、特許文献1に記載されている構成では、コンプレッサーの設計の都合上、ケーシングの吸気口および排気口は、比較的近くに設けられている。このため、排気口から排出された暖かい空気が、再度、吸気口から吸引される。その結果、コンプレッサーの冷却が不十分となるおそれがある。
【課題を解決するための手段】
【0006】
本発明の収納装置は、繊維構造体の製造に用いられる圧縮空気を供給するコンプレッサーを収納する収納装置であって、
前記コンプレッサーを収納する第1収納部と、前記コンプレッサーに供給される第1空気を吸気する第1吸気口と、前記第1空気より高温の第2空気を排気する第1排気口と、を有する第1ケーシングと、
前記第1排気口に接続され、前記第1排気口から排出された前記第2空気を前記第1吸気口から遠ざけるように導いて排出する第1導風部材と、を有する第1収納具を備える。
【0007】
本発明の繊維構造体製造装置は、繊維を含む材料を供給する原料供給部と、
前記材料の解繊物を堆積させて堆積物を生成する堆積部と、
前記堆積物を成形して繊維構造体を生成する成形部と、
前記繊維構造体の製造に用いられる圧縮空気を供給するコンプレッサーと、
前記コンプレッサーを収納する収納装置と、を備え、
前記収納装置は、前記コンプレッサーを収納する第1収納部と、前記コンプレッサーに供給される第1空気を吸気する第1吸気口と、前記第1空気より高温の第2空気を排気する第1排気口と、を有する第1ケーシングと、
前記第1排気口に接続され、前記第1排気口から排出された前記第2空気を前記第1吸気口から遠ざけるように導いて排出する第1導風部材と、を有する第1収納具を備える。
【図面の簡単な説明】
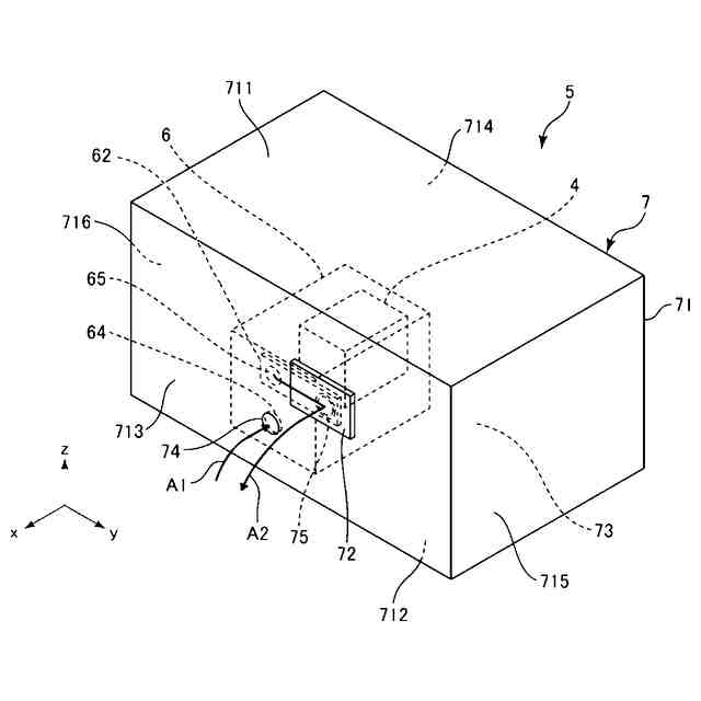
【0008】
図1は、本発明の実施形態に係る収納装置を備える繊維構造体製造装置の概略を示す構成図である。
図2は、図1に示す収納装置の斜視図である。
図3は、図1に示す収納装置が備える第1収納具の斜視図である。
図4は、図1に示す収納装置が備える第2収納具の第2導風部材の斜視図である。
【発明を実施するための形態】
【0009】
以下、本発明の収納装置および繊維構造体製造装置を添付図面に示す好適な実施形態に基づいて詳細に説明する。
【0010】
<実施形態>
図1は、本発明の実施形態に係る収納装置を備える繊維構造体製造装置の概略を示す構成図である。図2は、図1に示す収納装置の斜視図である。図3は、図1に示す収納装置が備える第1収納具の斜視図である。図4は、図1に示す収納装置が備える第2収納具の第2導風部材の斜視図である。
(【0011】以降は省略されています)
この特許をJ-PlatPat(特許庁公式サイト)で参照する
関連特許
東レ株式会社
編地
3か月前
東レ株式会社
不織布の製造装置
5日前
日本エステル株式会社
クッション体
1か月前
東レ株式会社
編物、繊維製品および詰め物
3か月前
株式会社ワコール
充填材
4か月前
ユニチカ株式会社
化粧料含浸用基布の製造方法
1か月前
東レ株式会社
不織布およびエアフィルター濾材
4か月前
グンゼ株式会社
編地及び繊維製品
7日前
株式会社島精機製作所
筒状編地の編成方法
4か月前
モリト株式会社
紐体を用いた連結体
1か月前
株式会社秋江
布製品
5か月前
ユニチカトレーディング株式会社
油吸着材用不織布
25日前
セーレン株式会社
緯編地
3か月前
東洋紡エムシー株式会社
農作物保護用生分解性不織布。
5日前
東レ株式会社
不織布の製造装置および不織布の製造方法
18日前
日本製紙クレシア株式会社
ローション不織布
1か月前
株式会社島精機製作所
編地の編成方法、および編地
1か月前
株式会社島精機製作所
編地の編成方法、および編地
2か月前
セイコーエプソン株式会社
シート製造装置
4か月前
セイコーエプソン株式会社
シート製造装置
4か月前
セイコーエプソン株式会社
シート成形装置
4か月前
帝人フロンティア株式会社
しみ防止布帛および繊維製品
3か月前
株式会社ヴィオレッタ
メッシュ経編地及び繊維製品
2か月前
ユニチカ株式会社
シート
3か月前
日本製紙クレシア株式会社
複合型不織布
1か月前
大和紡績株式会社
積層不織布、および液体含浸シート
4日前
花王株式会社
吸収性物品用不織布
13日前
日本毛織株式会社
編地及び衣類
25日前
東レ株式会社
エレクトレットメルトブロー不織布およびその製造方法
1か月前
東レ株式会社
不織布およびその製造方法ならびに積層体、衣料、雑貨
25日前
東洋紡エムシー株式会社
肌への密着性に優れるフェイスマスク用基材
11日前
東洋紡エムシー株式会社
生分解性不織布、その用途及びその製造方法。
15日前
帝人フロンティア株式会社
中綿および中綿評価方法および詰め物製品
2か月前
セイコーエプソン株式会社
二酸化炭素排出量の管理方法
4か月前
東レ・ファインケミカル株式会社
メルトブロー不織布およびマスク濾材
今日
東レ株式会社
スパンボンド不織布およびその製造方法ならびに積層体、表皮材
5日前
続きを見る
他の特許を見る