TOP
|
特許
|
意匠
|
商標
特許ウォッチ
Twitter
他の特許を見る
公開番号
2025146484
公報種別
公開特許公報(A)
公開日
2025-10-03
出願番号
2024047300
出願日
2024-03-22
発明の名称
機器の制御装置、機器の制御方法及びプログラム
出願人
カシオ計算機株式会社
代理人
個人
主分類
G06F
3/04817 20220101AFI20250926BHJP(計算;計数)
要約
【課題】疑似的な感情を適切に表現できる機器の制御装置、制御方法及びプログラムを提供する。
【解決手段】機器の制御装置は、外部刺激に応じて機器の疑似的な感情を表す感情データを設定する設定部と、所定期間における感情データの時系列に沿った変化を示す描画データであって、複数のタイミングでの感情データの値に機器のキャラクタ表示の位置をそれぞれ対応させて描画した描画データを出力する出力部と、を備える。
【選択図】図3
特許請求の範囲
【請求項1】
外部刺激に応じて機器の疑似的な感情を表す感情データを設定する設定部と、
所定期間における前記感情データの時系列に沿った変化を示す描画データであって、複数のタイミングでの前記感情データの値に前記機器のキャラクタ表示の位置をそれぞれ対応させて描画した描画データを出力する出力部と、
を備えた機器の制御装置。
続きを表示(約 1,200 文字)
【請求項2】
前記設定部は、前記機器の疑似的な感情の分布を複数次元の座標値として前記感情データを設定し、
前記出力部は、前記複数次元の座標値のうち幸福度を表す第1の軸の座標値に対応した第1の感情指標を時系列に沿って描画した描画データを出力する、
請求項1に記載の機器の制御装置。
【請求項3】
前記設定部は、前記機器の疑似的な感情の分布を複数次元の座標値として前記感情データを設定し、
前記出力部は、前記複数次元の座標値のうち不安度を表す第2の軸の座標値に対応した第2の感情指標を時系列に沿って描画した描画データを出力する、
請求項1に記載の機器の制御装置。
【請求項4】
前記出力部は、前記外部刺激が前記機器に与えられたことを示すシンボル表示の位置を、当該外部刺激が与えられたタイミングに対応させて描画した描画データを出力する、
請求項1から3のいずれか1項に記載の機器の制御装置。
【請求項5】
前記出力部は、前記シンボル表示の大きさを前記外部刺激による感情変化量に対応させ、前記シンボル表示の数を前記外部刺激の回数に対応させ、前記シンボル表示の表示色を前記感情データの増加又は減少に対応させて描画した描画データを出力する、
請求項4に記載の機器の制御装置。
【請求項6】
前記出力部は、前記感情データに対応して前記機器の疑似的な感情を示す文字表示又はアイコン表示を、前記機器のキャラクタ表示の近傍に配置させて描画した描画データを出力する、
請求項1から3のいずれか1項に記載の機器の制御装置。
【請求項7】
前記出力部は、前記感情データの値に前記機器のキャラクタ表示の表情を対応させて描画した描画データを出力する、
請求項1から3のいずれか1項に記載の機器の制御装置。
【請求項8】
制御装置による機器の制御方法であって、
外部刺激に応じて前記機器の疑似的な感情を表す感情データを設定する設定ステップと、
所定期間における前記感情データの時系列に沿った変化を示す描画データであって、複数のタイミングでの前記感情データの値に前記機器のキャラクタ表示の位置をそれぞれ対応させて描画した描画データを出力する出力ステップと、
を備えた機器の制御方法。
【請求項9】
コンピュータを、
外部刺激に応じて機器の疑似的な感情を表す感情データを設定する設定部、
所定期間における前記感情データの時系列に沿った変化を示す描画データであって、複数のタイミングでの前記感情データの値に前記機器のキャラクタ表示の位置をそれぞれ対応させて描画した描画データを出力する出力部、
として機能させるプログラム。
発明の詳細な説明
【技術分野】
【0001】
本発明は、機器の制御装置、機器の制御方法及びプログラムに関する。
続きを表示(約 1,700 文字)
【背景技術】
【0002】
進化や成長が可能な仮想生物を表示する装置が知られている。例えば、特許文献1は、使用者の反復的な運動量に対応して、複数グレードの仮想生物のキャラクタを表示するものを開示している。
【先行技術文献】
【特許文献】
【0003】
特開平11-52834号公報
【発明の概要】
【発明が解決しようとする課題】
【0004】
ペットのような生き物を模擬する電子機器を親しみのある存在に近づけるように、疑似的な感情の変化を適切に表現することが望まれている。しかしながら、グラフ表示やゲージ表示を用いた場合、ユーザに無機質な印象を与えるおそれがあった。
【0005】
本発明は、上記実状に鑑みてなされたものであり、疑似的な感情を適切に表現できる機器の制御装置、制御方法及びプログラムを提供することを目的とする。
【課題を解決するための手段】
【0006】
上記目的を達成するため、本発明に係る機器の制御装置は、
外部刺激に応じて機器の疑似的な感情を表す感情データを設定する設定部と、
所定期間における前記感情データの時系列に沿った変化を示す描画データであって、複数のタイミングでの前記感情データの値に前記機器のキャラクタ表示の位置をそれぞれ対応させて描画した描画データを出力する出力部と、
を備えた。
【発明の効果】
【0007】
本発明によれば、ユーザの親近感が高められるように、疑似的な感情を適切に表現することができる。
【図面の簡単な説明】
【0008】
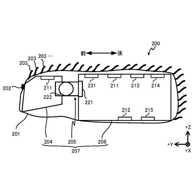
実施形態に係るロボットシステムの構成例を示す図である。
実施形態に係るロボットを側面から見た断面図である。
実施形態に係るロボットの構成例を示すブロック図である。
実施形態に係る端末装置の構成例を示すブロック図である。
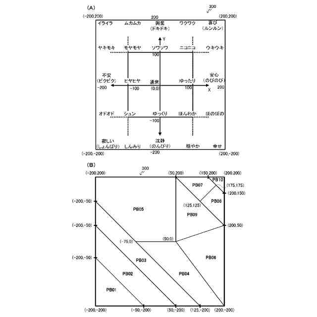
実施形態に係る感情マップについて(A)感情の分布(B)付加表示の割当て例を示す図である。
実施形態に係る仕草情報の構成例を示す図である。
実施形態に係るイベントログの構成例を示す図である。
実施形態に係る画像データによる(A)キャラクタ表示(B)付加表示を示す図である。
実施形態に係る画像データによる(A)パターン表示(B)シンボル表示を示す図である。
実施形態に係る絵日記画面のエリア構成例を示す図である。
実施形態に係る絵日記画面の表示例を示す図である。
実施形態に係る絵日記画面の表示例を示す図である。
【発明を実施するための形態】
【0009】
(実施形態)
以下、本発明の一実施形態について説明する。本実施形態に係るロボットシステム1は、図1に示すように、ロボット200と、端末装置50と、を備える。図1及び図2に示すロボット200は、電子機器の一例であり、外装201、装飾部品202、ふさふさの毛203、頭部204、連結部205、胴体部206、筐体207、タッチセンサ211、加速度センサ212、マイクロフォン213、照度センサ214、ジャイロセンサ215、スピーカ231、ひねりモータ221、上下モータ222を備える。ロボット200は、電子回路及び電子部品、機械的構成、装飾的構成、これらの物理的な構成を組み合わせた機器の一例である。
【0010】
ロボット200は、加速度センサ212及びジャイロセンサ215により、ロボット200自体の姿勢の変化を検出することができ、また、ユーザによって持ち上げられたり、向きを変えられたり、投げられたりしたことを検出することができる。なお、加速度センサ212、マイクロフォン213、照度センサ214、ジャイロセンサ215及びスピーカ231の少なくとも一部は、胴体部206に限らず、頭部204に備えられていてもよいし、胴体部206と頭部204との両方に備えられていてもよい。
(【0011】以降は省略されています)
この特許をJ-PlatPat(特許庁公式サイト)で参照する
関連特許
カシオ計算機株式会社
支持台
2日前
カシオ計算機株式会社
減音器具
4日前
カシオ計算機株式会社
減音器具
4日前
カシオ計算機株式会社
電子鍵盤楽器
2日前
カシオ計算機株式会社
装飾板及び時計
3日前
カシオ計算機株式会社
光源装置及び投影装置
16日前
カシオ計算機株式会社
光源装置及び投影装置
4日前
カシオ計算機株式会社
光源装置及び投影装置
4日前
カシオ計算機株式会社
端末装置及びプログラム
4日前
カシオ計算機株式会社
外装部品ユニット及び時計
2日前
カシオ計算機株式会社
電子機器、及び表示制御方法
6日前
カシオ計算機株式会社
カッターユニット及び切断装置
2日前
カシオ計算機株式会社
制御装置、方法およびプログラム
6日前
カシオ計算機株式会社
制御装置、方法およびプログラム
6日前
カシオ計算機株式会社
補助バスマスタ回路及び電子機器
6日前
カシオ計算機株式会社
演奏装置、方法およびプログラム
4日前
カシオ計算機株式会社
演奏装置、方法およびプログラム
3日前
カシオ計算機株式会社
発音装置及び音出力制御システム
16日前
カシオ計算機株式会社
ロボット、及びロボットの製造方法
2日前
カシオ計算機株式会社
制御装置、制御方法、及びプログラム
3日前
カシオ計算機株式会社
外装部品、外装部品ユニット及び時計
2日前
カシオ計算機株式会社
情報処理装置、方法およびプログラム
2日前
カシオ計算機株式会社
プログラム、電子機器及び登録処理方法
2日前
カシオ計算機株式会社
電子機器、登録処理方法及びプログラム
2日前
カシオ計算機株式会社
情報処理装置、表示方法、及びプログラム
6日前
カシオ計算機株式会社
情報提供装置、情報提供方法及びプログラム
4日前
カシオ計算機株式会社
情報処理装置、プログラム及び情報処理方法
2日前
カシオ計算機株式会社
切断制御装置、切断制御方法及びプログラム
16日前
カシオ計算機株式会社
音声提供装置、音声提供方法及びプログラム
2日前
カシオ計算機株式会社
印刷装置、印刷装置の制御方法及びプログラム
2日前
カシオ計算機株式会社
電子時計、電子時計の制御方法及びプログラム
6日前
カシオ計算機株式会社
投影装置、投影装置の調整方法及びプログラム
3日前
カシオ計算機株式会社
投影装置、投影装置の調整方法及びプログラム
3日前
カシオ計算機株式会社
電子楽器、電子楽器の制御方法及びプログラム
2日前
カシオ計算機株式会社
情報処理装置、表示制御方法、及びプログラム
2日前
カシオ計算機株式会社
電子機器、電子機器の制御方法及びプログラム
6日前
続きを見る
他の特許を見る