TOP
|
特許
|
意匠
|
商標
特許ウォッチ
Twitter
他の特許を見る
公開番号
2025146160
公報種別
公開特許公報(A)
公開日
2025-10-03
出願番号
2024046795
出願日
2024-03-22
発明の名称
情報処理装置、表示制御方法、及びプログラム
出願人
カシオ計算機株式会社
代理人
インフォート弁理士法人
主分類
G06Q
50/20 20120101AFI20250926BHJP(計算;計数)
要約
【課題】解答入力時の不正行為を困難にさせる。
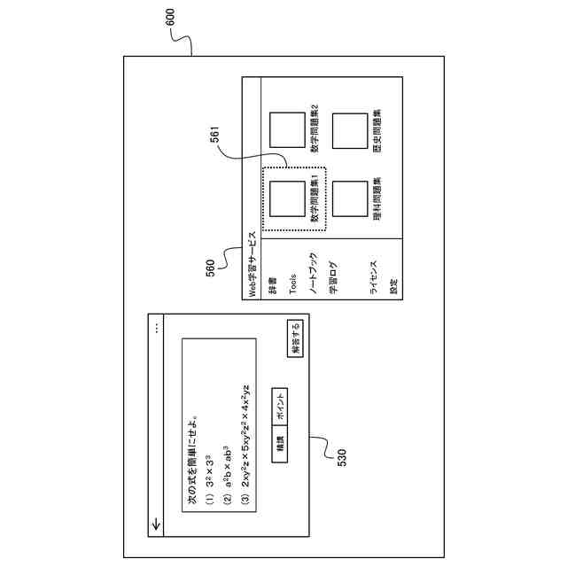
【解決手段】情報処理装置(2)が、所定の電子付箋(530)が表示されているときに所定のコンテンツの表示要求を検出すると、表示部(303)に所定のコンテンツを表示させないよう制御する制御部(200)を備え、所定の電子付箋は、所定のコンテンツより生成された問題が表示され、かつ、電子付箋に対して操作されたときに問題に対する解答を入力するための画面(540)を表示部に表示させるための操作ボタンとして機能する。
【選択図】図6
特許請求の範囲
【請求項1】
所定の電子付箋が表示されているときに所定のコンテンツの表示要求を検出すると、表示部に前記所定のコンテンツを表示させないよう制御する制御部を備え、
前記所定の電子付箋は、前記所定のコンテンツより生成された問題が表示され、かつ、前記電子付箋に対して操作されたときに前記問題に対する解答を入力するための画面を前記表示部に表示させるための操作ボタンとして機能する、
ことを特徴とする情報処理装置。
続きを表示(約 1,400 文字)
【請求項2】
前記制御部は、前記所定の電子付箋が表示されているときに前記所定のコンテンツの表示要求を検出すると、前記所定のコンテンツに代えて、前記表示部に前記所定のコンテンツの表示について不許可とするメッセージを表示させるよう制御する、
ことを特徴とする請求項1に記載の情報処理装置。
【請求項3】
前記制御部は、前記所定の電子付箋に表示された問題に対する解答を作成するユーザの識別情報と対応付けて、前記所定のコンテンツの表示要求に応じるか否かを示すフラグを設定する、
ことを特徴とする請求項1に記載の情報処理装置。
【請求項4】
前記制御部は、前記所定の電子付箋を通信ネットワークを介して外部装置に送信するときに、前記外部装置を操作するユーザの識別情報と対応付けて、前記所定のコンテンツの表示要求に応じるか否かを示すフラグを設定する、
ことを特徴とする請求項1に記載の情報処理装置。
【請求項5】
前記制御部は、前記外部装置において前記所定の電子付箋が表示されていないときに、前記外部装置から前記所定のコンテンツの表示要求を検出すると、前記外部装置の表示部に前記所定のコンテンツを表示するよう制御する、請求項4に記載の情報処理装置。
【請求項6】
前記制御部は、前記解答が作成された場合には、前記フラグを前記所定のコンテンツの表示要求に応じる設定にする、請求項3又は4に記載の情報処理装置。
【請求項7】
所定の電子付箋を表示部に表示させているときに所定のコンテンツの表示要求を検出すると、前記表示部に前記所定のコンテンツを表示させないよう制御する制御部を備え、
前記所定の電子付箋は、前記所定のコンテンツより生成された問題が表示される問題付箋であり、
前記制御部は、前記問題付箋に対する解答の受付が完了するまでは、前記表示部に前記所定のコンテンツを表示させないよう制御する、
ことを特徴とする情報処理装置。
【請求項8】
所定のコンテンツより生成された問題が表示される所定の電子付箋に対して操作されたことにより前記問題に対する解答を入力するための画面が表示部に表示されているときは、前記表示部に前記所定のコンテンツを表示させないよう制御する制御部を備えることを特徴とする情報処理装置。
【請求項9】
情報処理装置が、
所定の電子付箋が表示されているときに所定のコンテンツの表示要求を検出すると、表示部に前記所定のコンテンツを表示させないよう制御し、
前記所定の電子付箋は、前記所定のコンテンツより生成された問題が表示され、かつ、前記電子付箋に対して操作されたときに前記問題に対する解答を入力するための画面を前記表示部に表示させるための操作ボタンとして機能する、
ことを特徴とする表示制御方法。
【請求項10】
情報処理装置が、
所定の電子付箋を表示部に表示させているときに所定のコンテンツの表示要求を検出すると、前記表示部に前記所定のコンテンツを表示させないよう制御し、
前記所定の電子付箋は、前記所定のコンテンツより生成された問題が表示される問題付箋であり、
前記問題付箋に対する解答の受付が完了するまでは、前記表示部に前記所定のコンテンツを表示させないよう制御する、
ことを特徴とする表示制御方法。
(【請求項11】以降は省略されています)
発明の詳細な説明
【技術分野】
【0001】
本発明は、情報処理装置、表示制御方法、及びプログラムに関する。
続きを表示(約 1,800 文字)
【背景技術】
【0002】
パーソナルコンピュータ等の情報処理装置を利用した学習支援システムには、表示手段に表示された問題に対する正解を学習者の操作に応じて表示手段に更に表示することが可能なものがある。この種の学習支援システムには、表示手段に問題及び解答入力欄を表示し入力手段からの解答入力を受け付けているときには正解の表示を禁止するものがある(例えば、特許文献1)。
【先行技術文献】
【特許文献】
【0003】
特開平2-157785号公報
【発明の概要】
【発明が解決しようとする課題】
【0004】
近年増えているオンライン形式の学習支援システムでは、例えば、複数のブラウザを起動させて重複ログインすることで、あるブラウザに表示させている問題について他のブラウザにより解法のヒントや正解を表示させることが可能なケースがある。このため、問題に対する解答の入力において、その問題が含まれるコンテンツにアクセスすることで正解を参照できてしまう等、不正行為が容易に行えてしまうおそれがある。
【0005】
本発明は、このような問題点に鑑みてなされたものであり、解答入力時の不正行為を困難にさせることを目的の一つとする。
【課題を解決するための手段】
【0006】
本発明の一態様に係る情報処理装置は、所定の電子付箋が表示されているときに所定のコンテンツの表示要求を検出すると、表示部に前記所定のコンテンツを表示させないよう制御する制御部を備え、前記所定の電子付箋は、前記所定のコンテンツより生成された問題が表示され、かつ、前記電子付箋に対して操作されたときに前記問題に対する解答を入力するための画面を前記表示部に表示させるための操作ボタンとして機能する。
【発明の効果】
【0007】
上記の態様によれば、解答入力時の不正行為を困難にさせることができる。
【図面の簡単な説明】
【0008】
一実施の形態に係る学習システムの構成例を説明する図である。
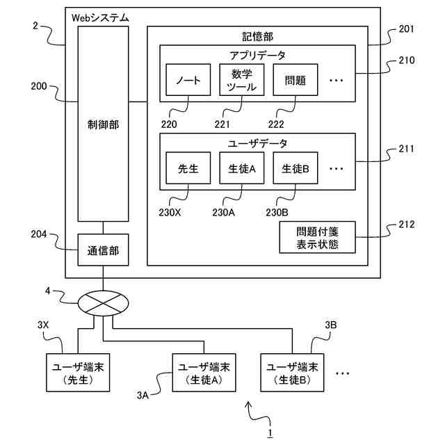
ユーザ端末の機能構成例を説明するブロック図である。
図3Aは、ユーザデータの例を説明するブロック図であり、図3Bは、問題付箋表示状況の例を説明する図である。
問題付箋配布時の処理の例を説明するフローチャートである。
配布された問題の答案を作成する処理の例を説明するシーケンス図である。
学習者が使用するユーザ端末に問題コンテンツを表示させるときに行われる処理の例を説明するシーケンス図である。
図7A~図7Cは、問題付箋配布時の表示画面の例を示す図である。
図8A~図8Cは、答案を作成して提出するときの表示画面の例を示す図である。
重複ログインしたときの表示画面の例を示す図である。
問題集コンテンツの閲覧を制限する表示画面の例を示す図である。
【発明を実施するための形態】
【0009】
以下、図面を参照して、本発明の実施の形態を説明する。図示した参照符号のうちの数字に続くアルファベットは、その数字の符号が割り当てられた複数の構成要素を識別することを意図している。本明細書の以下の記載では、同じ数字の符号が割り当てられた複数の構成要素のうちの特定の構成要素のみを対象とする場合にのみ、その数字に続くアルファベットを記載する。例えば、「ユーザ端末3」と記載されるとき、そのユーザ端末は図1の3つのユーザ端末3A、3B及び3X、並びに図示していないその他のユーザ端末のいずれであってもよく、「ユーザ端末3A」と記載されるとき、そのユーザ端末は図1において符号3Aが割り当てられたユーザ端末のみを指す。
【0010】
図1に例示した学習システム1は、Webシステム2とユーザ端末3とを含む。ユーザ端末3の数は、3つに限定されない。ユーザ端末3のユーザは、児童、生徒、学生等の学習システム1を利用して学習するユーザ(学習者)と、先生等の学習をサポートするユーザ(支援者)とを含む。Webシステム2とユーザ端末3の各々は、通信ネットワーク4と無線又は有線で接続可能であり、ユーザ端末3の各々は、通信ネットワーク4を介してWebシステム2と通信することができる。
(【0011】以降は省略されています)
この特許をJ-PlatPat(特許庁公式サイト)で参照する
関連特許
カシオ計算機株式会社
支持台
今日
カシオ計算機株式会社
減音器具
2日前
カシオ計算機株式会社
減音器具
2日前
カシオ計算機株式会社
電子鍵盤楽器
今日
カシオ計算機株式会社
装飾板及び時計
1日前
カシオ計算機株式会社
光源装置及び投影装置
14日前
カシオ計算機株式会社
光源装置及び投影装置
2日前
カシオ計算機株式会社
光源装置及び投影装置
2日前
カシオ計算機株式会社
端末装置及びプログラム
2日前
カシオ計算機株式会社
外装部品ユニット及び時計
今日
カシオ計算機株式会社
電子機器、及び表示制御方法
4日前
カシオ計算機株式会社
カッターユニット及び切断装置
今日
カシオ計算機株式会社
演奏装置、方法およびプログラム
2日前
カシオ計算機株式会社
補助バスマスタ回路及び電子機器
4日前
カシオ計算機株式会社
制御装置、方法およびプログラム
4日前
カシオ計算機株式会社
制御装置、方法およびプログラム
4日前
カシオ計算機株式会社
演奏装置、方法およびプログラム
1日前
カシオ計算機株式会社
発音装置及び音出力制御システム
14日前
カシオ計算機株式会社
ロボット、及びロボットの製造方法
今日
カシオ計算機株式会社
外装部品、外装部品ユニット及び時計
今日
カシオ計算機株式会社
制御装置、制御方法、及びプログラム
1日前
カシオ計算機株式会社
情報処理装置、方法およびプログラム
今日
カシオ計算機株式会社
発音装置、接続装置及び音出力システム
14日前
カシオ計算機株式会社
プログラム、電子機器及び登録処理方法
今日
カシオ計算機株式会社
電子機器、登録処理方法及びプログラム
今日
カシオ計算機株式会社
情報処理装置、表示方法、及びプログラム
4日前
カシオ計算機株式会社
切断制御装置、切断制御方法及びプログラム
14日前
カシオ計算機株式会社
情報処理装置、プログラム及び情報処理方法
今日
カシオ計算機株式会社
情報提供装置、情報提供方法及びプログラム
2日前
カシオ計算機株式会社
音声提供装置、音声提供方法及びプログラム
今日
カシオ計算機株式会社
投影装置、投影装置の調整方法及びプログラム
1日前
カシオ計算機株式会社
電子機器、電子機器の制御方法及びプログラム
4日前
カシオ計算機株式会社
情報処理装置、表示制御方法、及びプログラム
今日
カシオ計算機株式会社
印刷装置、印刷装置の制御方法及びプログラム
今日
カシオ計算機株式会社
電子楽器、電子楽器の制御方法及びプログラム
今日
カシオ計算機株式会社
電子時計、電子時計の制御方法及びプログラム
4日前
続きを見る
他の特許を見る