TOP
|
特許
|
意匠
|
商標
特許ウォッチ
Twitter
他の特許を見る
公開番号
2025147657
公報種別
公開特許公報(A)
公開日
2025-10-07
出願番号
2024048012
出願日
2024-03-25
発明の名称
機器、制御方法およびプログラム
出願人
カシオ計算機株式会社
代理人
個人
主分類
H02J
1/00 20060101AFI20250930BHJP(電力の発電,変換,配電)
要約
【課題】機器の電源ON/OFFとバッテリー充電とに関して、ユーザの操作性を向上させる。
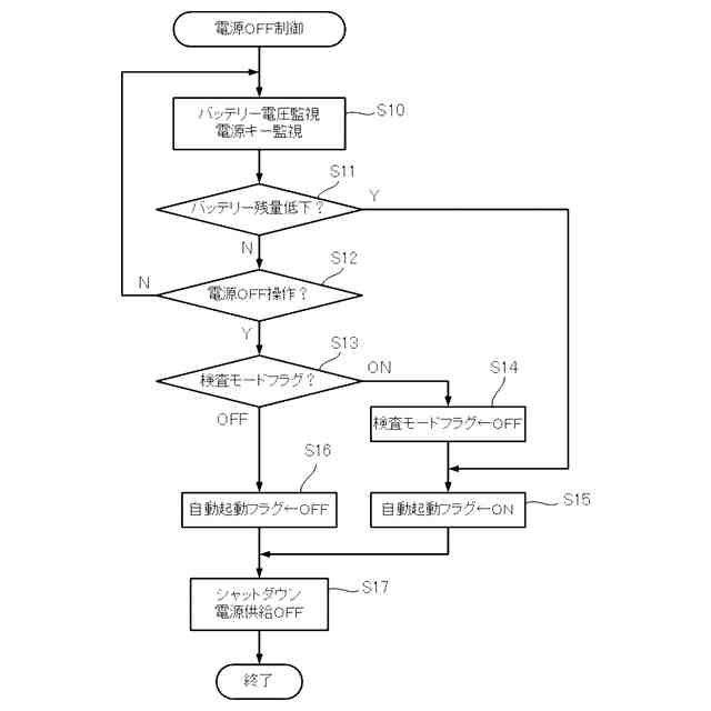
【解決手段】ロボット200は、電源を供給するバッテリー253と、電源ON/OFF操作を受け付ける電源キー241と、バッテリー253の充電状態を検知し電源ON/OFFと起動処理を制御するサブマイコン251と、を備える。サブマイコン251は、電源OFF操作されたときに、検査モードの設定を保持する検査モードフラグがONの場合は、自動起動の設定を保持する自動起動フラグをONにして、電源をOFFにし、検査モードフラグがOFFの場合は、自動起動フラグをOFFにして、電源をOFFにする。サブマイコン251は、電源がOFFの状態でバッテリー253の充電完了を検知したときに、自動起動フラグがONの場合は、電源をONにしてロボット200を起動し、自動起動フラグがOFFの場合は、ロボット200を起動せず電源のOFFを維持する。
【選択図】図4
特許請求の範囲
【請求項1】
自装置に電源を供給するバッテリーと、
前記自装置に接続される外部電源により充電される前記バッテリーの充電状態を検知する検知部と、
前記自装置の電源ONと電源OFFの操作を受け付ける受付手段と、
前記自装置の電源ON/OFFと起動処理を制御する制御部と、
を備え、
前記制御部は、
前記受付手段で電源OFFの操作を受け付けたときに、
検査モードのON/OFFの設定を保持する検査モードフラグがONの場合は、自動起動のON/OFFの設定を保持する自動起動フラグをONにして、電源をOFFにし、
前記検査モードフラグがOFFの場合は、前記自動起動フラグをOFFにして、電源をOFFにし、
電源がOFFの状態で前記検知部が前記バッテリーの充電完了を検知したときに、
前記自動起動フラグがONの場合は、電源をONにして前記自装置を起動し、
前記自動起動フラグがOFFの場合は、前記自装置を起動せず電源のOFFを維持する、
機器。
続きを表示(約 1,600 文字)
【請求項2】
前記制御部は、前記受付手段で電源OFFの操作を受け付けたときに、前記検査モードフラグがONの場合は、前記自動起動フラグをONにし、かつ、前記検査モードフラグをOFFにして、電源をOFFにする、請求項1に記載の機器。
【請求項3】
前記検知部は、前記バッテリーの残量を検知し、
電源がONの状態で前記検知部が前記バッテリーの残量が定めた閾値以下になったことを検知したときに、前記制御部は、前記自動起動フラグをONにして、電源をOFFにする、
請求項1または2に記載の機器。
【請求項4】
前記受付手段で電源ONの操作を受け付けた場合、前記制御部は電源をONにして前記自装置を起動し、前記自動起動フラグをONにする、請求項1または2に記載の機器。
【請求項5】
前記受付手段は、前記機器に備えられた、人が操作しうる電源キーを含む、請求項1または2に記載の機器。
【請求項6】
前記制御部がセットアップされた初期段階では、前記検査モードフラグはONに設定されている、請求項1または2に記載の機器。
【請求項7】
自装置に電源を供給するバッテリと、
前記自装置に接続された外部電源により充電される前記バッテリの充電状態を検知する検知部と、
前記充電状態に応じた前記自装置の自動起動フラグを取得する取得部と、
検査モードにおいて前記自装置の電源がオフされたときに前記自動起動フラグをオンにする設定部と、
前記充電状態が第1の充電状態となったことが前記検知部により検知されたときに、前記取得部により取得された前記自動起動フラグがオンであり、かつ、前記自装置と前記外部電源とが接続されている場合に、前記自装置の起動処理を行う制御部と、
を備えた機器。
【請求項8】
自装置に電源を供給するバッテリーと、前記自装置に接続される外部電源により充電される前記バッテリーの充電状態を検知する検知部と、前記自装置の電源ONと電源OFFの操作を受け付ける受付手段と、を備える機器が実行する制御方法であって、
前記受付手段で電源OFFの操作を受け付けたときに、
検査モードのON/OFFの設定を保持する検査モードフラグがONの場合は、自動起動のON/OFFの設定を保持する自動起動フラグをONにして、電源をOFFにし、
前記検査モードフラグがOFFの場合は、前記自動起動フラグをOFFにして、電源をOFFにし、
電源がOFFの状態で前記検知部が前記バッテリーの充電完了を検知したときに、
前記自動起動フラグがONの場合は、電源をONにして前記自装置を起動し
前記自動起動フラグがOFFの場合は、前記自装置を起動せず電源のOFFを維持する、
制御方法。
【請求項9】
自装置に電源を供給するバッテリーと、前記自装置に接続される外部電源により充電される前記バッテリーの充電状態を検知する検知部と、前記自装置の電源ONと電源OFFの操作を受け付ける受付手段と、を備える機器を制御するコンピュータに、
前記受付手段で電源OFFの操作を受け付けたときに、
検査モードのON/OFFの設定を保持する検査モードフラグがONの場合は、自動起動のON/OFFの設定を保持する自動起動フラグをONにして、電源をOFFにし、
前記検査モードフラグがOFFの場合は、前記自動起動フラグをOFFにして、電源をOFFにし、
電源がOFFの状態で前記検知部が前記バッテリーの充電完了を検知したときに、
前記自動起動フラグがONの場合は、電源をONにして前記自装置を起動し
前記自動起動フラグがOFFの場合は、前記自装置を起動せず電源のOFFを維持する、
処理を実行させるプログラム。
発明の詳細な説明
【技術分野】
【0001】
本発明は、機器、機器の制御方法およびプログラムに関する。
続きを表示(約 2,000 文字)
【背景技術】
【0002】
バッテリーで動く機器は、安定な動作のためにバッテリーの残量が低下したときに電源をOFFしバッテリーを充電する必要がある。特許文献1の携帯型電源から電力を供給される情報機器は、外部電力受給部と非携帯型電源からの電力供給と遮断とを切り替える操作部SWと、電力供給により当該情報機器の起動がなされたとき、その起動が当該情報機器の工場出荷後の最初の起動であるか否かを判定する判定部と、起動が当該情報機器の工場出荷後の最初の起動であると判定されたときに、外部電力受給部が非携帯型電源に接続されているか否かを検知する接続検知部と、起動が当該情報機器の工場出荷後の最初の起動であると判定され、外部電力受給部と非携帯型電源とが接続されていないと検知されたときに、ユーザに外部電力受給部と非携帯型電源との接続を促す報知部と、を備える。
【先行技術文献】
【特許文献】
【0003】
特開2007-066060号公報
【発明の概要】
【発明が解決しようとする課題】
【0004】
バッテリーで駆動する機器は、バッテリー残量の低下とバッテリーの充電を免れないが、電源ON/OFFとバッテリー充電とに関して、ユーザの操作性を損ねない工夫が求められている。
【0005】
本発明はこのような事情に鑑みてなされたもので、バッテリーで駆動する機器の電源ON/OFFとバッテリー充電とに関して、ユーザの操作性を向上させることを目的とする。
【課題を解決するための手段】
【0006】
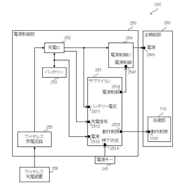
前記目的を達成するため、本発明に係る機器は、自装置に電源を供給するバッテリーと、前記自装置に接続される外部電源により充電される前記バッテリーの充電状態を検知する検知部と、前記自装置の電源ONと電源OFFの操作を受け付ける受付手段と、前記自装置の電源ON/OFFと起動処理を制御する制御部と、を備え、前記制御部は、前記受付手段で電源OFFの操作を受け付けたときに、検査モードのON/OFFの設定を保持する検査モードフラグがONの場合は、自動起動のON/OFFの設定を保持する自動起動フラグをONにして、電源をOFFにし、前記検査モードフラグがOFFの場合は、前記自動起動フラグをOFFにして、電源をOFFにし、電源がOFFの状態で前記検知部が前記バッテリーの充電完了を検知したときに、前記自動起動フラグがONの場合は、電源をONにして前記自装置を起動し、前記自動起動フラグがOFFの場合は、前記自装置を起動せず電源のOFFを維持する。
【発明の効果】
【0007】
本発明によれば、バッテリーで駆動する機器の電源ON/OFFとバッテリー充電とに関して、ユーザの操作性を向上させることができる。
【図面の簡単な説明】
【0008】
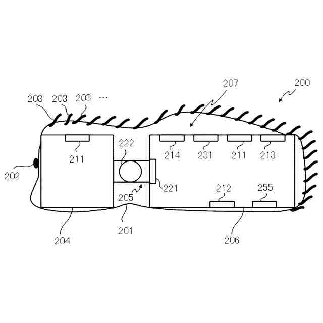
本発明の実施の形態に係るロボットの外観を示す図である。
実施の形態に係るロボットの側面から見た断面図である。
実施の形態に係るロボットの機能構成を示すブロック図である。
実施の形態に係るロボットの電源制御部の構成を示すブロック図である。
実施の形態に係る電源OFF処理の一例を示すフローチャートである。
実施の形態に係る電源ON処理の一例を示すフローチャートである。
【発明を実施するための形態】
【0009】
以下、本発明の実施の形態について、図面を参照して説明する。なお、図中同一または相当部分には同一符号を付す。本発明の実施の形態に係るロボット200は、充電可能なバッテリーで駆動する、小型の動物を模したペットロボットである。ロボット200は、図1に示すように、目を模した装飾部品202および毛203を備えた外装201に覆われている。図2に示すように、外装201の中には、ロボット200の筐体207が収納されている。ロボット200の筐体207は、頭部204、連結部205および胴体部206で構成され、頭部204と胴体部206とが連結部205で連結されている。
【0010】
以下の説明では、ロボット200を水平な床に普通に置いた場合を想定して、ロボット200の顔に相当する部分(頭部204の胴体部206とは反対側の部分)の方向を前、尾に相当する部分(胴体部206の頭部204とは反対側の部分)の方向を後ろとする。また、ロボット200を水平な床面に置いた場合に床面に接触する部分の方向を下、その反対の方向を上とする。そして、ロボット200の前後方向に延びる直線に直交し、かつ、上下方向に延びる直線にも直交する方向を、幅方向とする。
(【0011】以降は省略されています)
この特許をJ-PlatPat(特許庁公式サイト)で参照する
関連特許
カシオ計算機株式会社
支持台
8日前
カシオ計算機株式会社
電子鍵盤楽器
8日前
カシオ計算機株式会社
外装部品ユニット及び時計
8日前
カシオ計算機株式会社
カッターユニット及び切断装置
8日前
カシオ計算機株式会社
機器、制御方法およびプログラム
4日前
カシオ計算機株式会社
給電装置、及び、電力伝送システム
4日前
カシオ計算機株式会社
電子機器、及び、電力伝送システム
4日前
カシオ計算機株式会社
ロボット、及びロボットの製造方法
8日前
カシオ計算機株式会社
制御装置、制御方法、及びプログラム
9日前
カシオ計算機株式会社
外装部品、外装部品ユニット及び時計
8日前
カシオ計算機株式会社
情報処理装置、方法およびプログラム
8日前
カシオ計算機株式会社
プログラム、電子機器及び登録処理方法
8日前
カシオ計算機株式会社
電子機器、登録処理方法及びプログラム
8日前
カシオ計算機株式会社
情報処理方法、プログラム及び情報処理装置
4日前
カシオ計算機株式会社
活動支援方法、プログラム及び活動支援装置
4日前
カシオ計算機株式会社
情報処理装置、プログラム及び情報処理方法
8日前
カシオ計算機株式会社
音声提供装置、音声提供方法及びプログラム
8日前
カシオ計算機株式会社
情報出力方法、情報出力装置及びプログラム
4日前
カシオ計算機株式会社
情報処理装置、表示制御方法、及びプログラム
8日前
カシオ計算機株式会社
印刷装置、印刷装置の制御方法及びプログラム
8日前
カシオ計算機株式会社
電子楽器、電子楽器の制御方法及びプログラム
8日前
カシオ計算機株式会社
機器の制御装置、機器の制御方法及びプログラム
8日前
カシオ計算機株式会社
入力文作成装置、入力文作成方法及びプログラム
8日前
カシオ計算機株式会社
位置測定システム、位置測定方法及びプログラム
4日前
カシオ計算機株式会社
情報処理装置、表示制御方法、及び、プログラム
8日前
カシオ計算機株式会社
画像処理装置、プログラム、及び、画像処理方法
8日前
カシオ計算機株式会社
通信方法、通信システム、電子機器及びプログラム
8日前
カシオ計算機株式会社
電子機器、認証システム、制御方法及びプログラム
8日前
カシオ計算機株式会社
電子機器、心理的状態変動評価方法及びプログラム
8日前
カシオ計算機株式会社
情報処理装置、制御データ作成方法、及びプログラム
4日前
カシオ計算機株式会社
表示制御プログラム、表示制御方法、及び、情報処理装置
8日前
カシオ計算機株式会社
端末装置、運動評価システム、運動評価方法及びプログラム
8日前
カシオ計算機株式会社
制御装置、投影システム、作業ガイド作成方法及びプログラム
8日前
カシオ計算機株式会社
情報処理装置、情報処理方法、プログラム及び学習支援システム
8日前
カシオ計算機株式会社
情報処理装置、情報処理方法、プログラム及び学習支援システム
8日前
カシオ計算機株式会社
情報処理装置、情報処理方法、プログラム及び学習支援システム
8日前
続きを見る
他の特許を見る