TOP
|
特許
|
意匠
|
商標
特許ウォッチ
Twitter
他の特許を見る
10個以上の画像は省略されています。
公開番号
2025098673
公報種別
公開特許公報(A)
公開日
2025-07-02
出願番号
2023214976
出願日
2023-12-20
発明の名称
半導体装置
出願人
キオクシア株式会社
代理人
個人
,
個人
,
個人
,
個人
主分類
H01L
25/07 20060101AFI20250625BHJP(基本的電気素子)
要約
【課題】複数の半導体チップを好適に積層可能な半導体装置を提供する。
【解決手段】一の実施形態によれば、半導体装置は、基板上に設けられた1つ以上の第1基板パッドと、前記基板上に設けられ、前記第1基板パッドに対し第1方向に配置された1つ以上の第1チップであって、各第1チップは、前記第1基板パッドに電気的に接続された1つ以上の第1チップパッドを有する、1つ以上の第1チップとを備える。前記装置はさらに、前記基板上に設けられた1つ以上の第2基板パッドと、前記第1チップ上に設けられ、前記第2基板パッドに対し前記第1方向と交差する第2方向に配置された1つ以上の第2チップであって、各第2チップは、前記第2基板パッドに電気的に接続された1つ以上の第2チップパッドを有する、1つ以上の第2チップとを備える。さらに、各第2チップパッドは、平面視で前記第1チップのうちの最上位の第1チップと重なる位置に配置されている。
【選択図】図1
特許請求の範囲
【請求項1】
基板と、
前記基板上に設けられた1つ以上の第1基板パッドと、
前記基板上に設けられ、前記第1基板パッドに対し第1方向に配置された1つ以上の第1チップであって、前記第1チップの各々は、前記第1基板パッドに電気的に接続された1つ以上の第1チップパッドを有する、1つ以上の第1チップと、
前記基板上に設けられた1つ以上の第2基板パッドと、
前記第1チップ上に設けられ、前記第2基板パッドに対し前記第1方向と交差する第2方向に配置された1つ以上の第2チップであって、前記第2チップの各々は、前記第2基板パッドに電気的に接続された1つ以上の第2チップパッドを有する、1つ以上の第2チップとを備え、
前記第2チップパッドの各々は、平面視で前記第1チップのうちの最上位の第1チップと重なる位置に配置されている、半導体装置。
続きを表示(約 1,700 文字)
【請求項2】
前記基板上に設けられた1つ以上の第3基板パッドと、
前記第2チップ上に設けられ、前記第3基板パッドに対し前記第2方向と交差する第3方向に配置された1つ以上の第3チップであって、前記第3チップの各々は、前記第3基板パッドに電気的に接続された1つ以上の第3チップパッドを各々が有する、1つ以上の第3チップとをさらに備え、
前記第3チップパッドの各々は、平面視で前記第2チップのうちの最上位の第2チップと重なる位置に配置されている、請求項1に記載の半導体装置。
【請求項3】
前記基板上に設けられた1つ以上の第4基板パッドと、
前記第3チップ上に設けられ、前記第4基板パッドに対し前記第3方向と交差する第4方向に配置された1つ以上の第4チップであって、前記第4チップの各々は、前記第4基板パッドに電気的に接続された1つ以上の第4チップパッドを有する、1つ以上の第4チップとをさらに備え、
前記第4チップパッドの各々は、平面視で前記第3チップのうちの最上位の第3チップと重なる位置に配置されている、請求項2に記載の半導体装置。
【請求項4】
前記第2チップ上に設けられ、前記第1基板パッドに対し前記第1方向に配置された1つ以上の第3チップであって、前記第3チップの各々は、前記第1基板パッドに電気的に接続された1つ以上の第3チップパッドを有する、1つ以上の第3チップをさらに備え、
前記第3チップパッドの各々は、平面視で前記第2チップのうちの最上位の第2チップと重なる位置に配置されている、請求項1に記載の半導体装置。
【請求項5】
前記第3チップ上に設けられ、前記第2基板パッドに対し前記第2方向に配置された1つ以上の第4チップであって、前記第4チップの各々は、前記第2基板パッドに電気的に接続された1つ以上の第4チップパッドを有する、1つ以上の第4チップをさらに備え、
前記第4チップパッドの各々は、平面視で前記第3チップのうちの最上位の第3チップと重なる位置に配置されている、請求項4に記載の半導体装置。
【請求項6】
前記第1チップは、前記第1方向に階段を形成するように積層された複数の第1チップを含み、
前記第2チップは、前記第2方向に階段を形成するように積層された複数の第2チップを含む、
請求項1に記載の半導体装置。
【請求項7】
前記複数の第1チップは、前記第1方向のみに階段を形成するように積層されており、
前記複数の第2チップは、前記第2方向と前記第1方向とに階段を形成するように積層されている、
請求項6に記載の半導体装置。
【請求項8】
前記第1チップは、前記第1方向に階段を形成するように積層された複数の第1チップを含み、
前記第2チップは、前記第2方向に階段を形成するように積層された複数の第2チップを含み、
前記第3チップは、前記第3方向に階段を形成するように積層された複数の第3チップを含む、
請求項2に記載の半導体装置。
【請求項9】
前記複数の第1チップは、前記第1方向のみに階段を形成するように積層されており、
前記複数の第2チップは、前記第2方向と前記第1方向とに階段を形成するように積層されており、
前記複数の第3チップは、前記第3方向と前記第2方向とに階段を形成するように積層されている、
請求項8に記載の半導体装置。
【請求項10】
前記第1チップは、前記第1方向に階段を形成するように積層された複数の第1チップを含み、
前記第2チップは、前記第2方向に階段を形成するように積層された複数の第2チップを含み、
前記第3チップは、前記第3方向に階段を形成するように積層された複数の第3チップを含み、
前記第4チップは、前記第4方向に階段を形成するように積層された複数の第4チップを含む、
請求項3に記載の半導体装置。
(【請求項11】以降は省略されています)
発明の詳細な説明
【技術分野】
【0001】
本発明の実施形態は、半導体装置に関する。
続きを表示(約 2,600 文字)
【背景技術】
【0002】
複数の半導体チップを積層して半導体装置を製造する場合、半導体チップの積層により種々の問題が生じるおそれがある。例えば、半導体チップに対するワイヤボンディングが困難となるおそれがある。
【先行技術文献】
【特許文献】
【0003】
特許第5635759号公報
特開2011-049412号公報
米国特許公開公報US2008/0185731号公報
【発明の概要】
【発明が解決しようとする課題】
【0004】
複数の半導体チップを好適に積層可能な半導体装置を提供する。
【課題を解決するための手段】
【0005】
一の実施形態によれば、半導体装置は、基板と、前記基板上に設けられた1つ以上の第1基板パッドと、前記基板上に設けられ、前記第1基板パッドに対し第1方向に配置された1つ以上の第1チップであって、前記第1チップの各々は、前記第1基板パッドに電気的に接続された1つ以上の第1チップパッドを有する、1つ以上の第1チップとを備える。前記装置はさらに、前記基板上に設けられた1つ以上の第2基板パッドと、前記第1チップ上に設けられ、前記第2基板パッドに対し前記第1方向と交差する第2方向に配置された1つ以上の第2チップであって、前記第2チップの各々は、前記第2基板パッドに電気的に接続された1つ以上の第2チップパッドを有する、1つ以上の第2チップとを備える。さらに、前記第2チップパッドの各々は、平面視で前記第1チップのうちの最上位の第1チップと重なる位置に配置されている。
【図面の簡単な説明】
【0006】
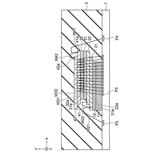
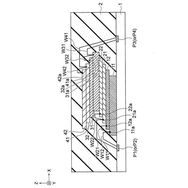
第1実施形態の半導体装置の構造を示す断面図である。
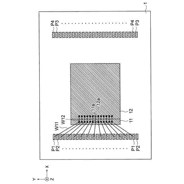
第1実施形態の半導体装置の構造を示す平面図である。
第1実施形態の半導体装置の製造方法を示す平面図(1/3)である。
第1実施形態の半導体装置の製造方法を示す平面図(2/3)である。
第1実施形態の半導体装置の製造方法を示す平面図(3/3)である。
第1実施形態の比較例の半導体装置の構造を示す断面図である。
第1実施形態の比較例の半導体装置の構造を示す平面図である。
第1実施形態の比較例の半導体装置の製造方法を示す平面図(1/3)である。
第1実施形態の比較例の半導体装置の製造方法を示す平面図(2/3)である。
第1実施形態の比較例の半導体装置の製造方法を示す平面図(3/3)である。
第1実施形態の半導体装置の構造を説明するための断面図である。
第1実施形態の半導体装置の構造を説明するための平面図である。
第2実施形態の半導体装置の構造を示す断面図である。
第2実施形態の半導体装置の構造を示す平面図である。
第2実施形態の半導体装置の製造方法を示す平面図(1/3)である。
第2実施形態の半導体装置の製造方法を示す平面図(2/3)である。
第2実施形態の半導体装置の製造方法を示す平面図(3/3)である。
第3実施形態の半導体装置の構造を示す断面図である。
第3実施形態の半導体装置の構造を示す平面図である。
第3実施形態の半導体装置の製造方法を示す平面図(1/3)である。
第3実施形態の半導体装置の製造方法を示す平面図(2/3)である。
第3実施形態の半導体装置の製造方法を示す平面図(3/3)である。
第4実施形態の半導体装置の構造を示す断面図である。
第4実施形態の半導体装置の構造を示す平面図である。
第4実施形態の半導体装置の製造方法を示す平面図(1/3)である。
第4実施形態の半導体装置の製造方法を示す平面図(2/3)である。
第4実施形態の半導体装置の製造方法を示す平面図(3/3)である。
第4実施形態の第1変形例の半導体装置の構造を示す断面図である。
第4実施形態の第1変形例の半導体装置の構造を示す平面図である。
第4実施形態の第2変形例の半導体装置の構造を示す平面図である。
第1実施形態の変形例の半導体装置の構造を示す断面図である。
第1実施形態の変形例の半導体装置の構造を示す平面図である。
第1実施形態の変形例の半導体装置の製造方法を示す平面図(1/3)である。
第1実施形態の変形例の半導体装置の製造方法を示す平面図(2/3)である。
第1実施形態の変形例の半導体装置の製造方法を示す平面図(3/3)である。
【発明を実施するための形態】
【0007】
以下、本発明の実施形態を、図面を参照して説明する。図1~図35において、同一の構成には同一の符号を付し、重複する説明は省略する。
【0008】
(第1実施形態)
図1および図2はそれぞれ、第1実施形態の半導体装置の構造を示す断面図および平面図である。
【0009】
本実施形態の半導体装置は、基板1と、樹脂層2と、複数の金属パッドP1と、複数の金属パッドP2と、複数の金属パッドP3と、複数の金属パッドP4とを備える。金属パッドP1は、1つ以上の第1基板パッドの例である。金属パッドP2は、1つ以上の第2基板パッドの例である。金属パッドP3は、1つ以上の第3基板パッドの例である。金属パッドP4は、1つ以上の第4基板パッドの例である。
【0010】
本実施形態の半導体装置はさらに、金属パッドP1に電気的に接続された複数の半導体チップ11~12と、金属パッドP2に電気的に接続された複数の半導体チップ21~22と、金属パッドP3に電気的に接続された複数の半導体チップ31~32と、金属パッドP4に電気的に接続された複数の半導体チップ41~42とを備える。これらの半導体チップ11~42は、例えば半導体メモリチップである。半導体チップ11~12は、1つ以上の第1チップの例である。半導体チップ21~22は、1つ以上の第2チップの例である。半導体チップ31~32は、1つ以上の第3チップの例である。半導体チップ41~42は、1つ以上の第4チップの例である。
(【0011】以降は省略されています)
この特許をJ-PlatPat(特許庁公式サイト)で参照する
関連特許
キオクシア株式会社
記憶装置
4日前
キオクシア株式会社
記憶装置
6日前
キオクシア株式会社
記憶装置
4日前
キオクシア株式会社
記憶装置
10日前
キオクシア株式会社
記憶装置
2日前
キオクシア株式会社
半導体装置
4日前
キオクシア株式会社
半導体装置
3日前
キオクシア株式会社
半導体装置
2日前
キオクシア株式会社
磁気メモリ
1か月前
キオクシア株式会社
半導体装置
3日前
キオクシア株式会社
半導体装置
10日前
キオクシア株式会社
情報処理装置
18日前
キオクシア株式会社
磁気記憶装置
6日前
キオクシア株式会社
通信システム
4日前
キオクシア株式会社
基板ユニット
6日前
キオクシア株式会社
磁気記憶装置
4日前
キオクシア株式会社
磁気記憶装置
3日前
キオクシア株式会社
磁気記憶装置
4日前
キオクシア株式会社
磁気記憶装置
6日前
キオクシア株式会社
半導体記憶装置
3日前
キオクシア株式会社
半導体記憶装置
26日前
キオクシア株式会社
半導体記憶装置
4日前
キオクシア株式会社
半導体記憶装置
4日前
キオクシア株式会社
メモリデバイス
4日前
キオクシア株式会社
メモリシステム
3日前
キオクシア株式会社
メモリデバイス
18日前
キオクシア株式会社
半導体記憶装置
18日前
キオクシア株式会社
半導体記憶装置
4日前
キオクシア株式会社
メモリシステム
26日前
キオクシア株式会社
半導体記憶装置
6日前
キオクシア株式会社
半導体記憶装置
6日前
キオクシア株式会社
半導体記憶装置
6日前
キオクシア株式会社
半導体記憶装置
6日前
キオクシア株式会社
メモリデバイス
9日前
キオクシア株式会社
半導体記憶装置
17日前
キオクシア株式会社
半導体記憶装置
16日前
続きを見る
他の特許を見る