TOP
|
特許
|
意匠
|
商標
特許ウォッチ
Twitter
他の特許を見る
公開番号
2025100386
公報種別
公開特許公報(A)
公開日
2025-07-03
出願番号
2024206590
出願日
2024-11-27
発明の名称
質量体を含む時計調速機構の複合部品
出願人
モントレー ブレゲ・エス アー
代理人
個人
,
個人
,
個人
主分類
G04B
15/14 20060101AFI20250626BHJP(時計)
要約
【課題】調速機構の慣性を制御することを許容する質量体を備えた複合時計部品を提供する。
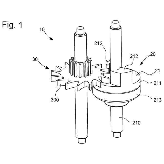
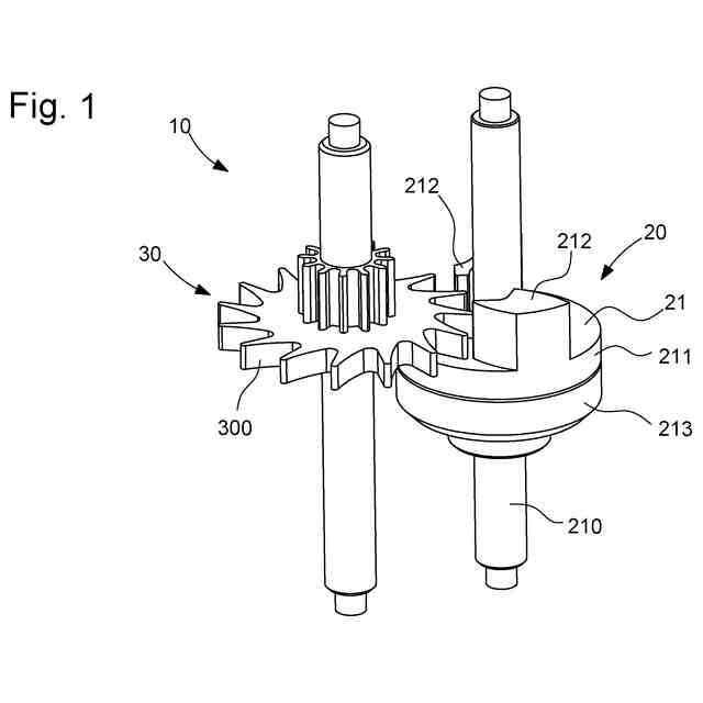
【解決手段】腕時計の調速機構10の複合時計部品20であって、軸方向肩部211が配置されたスタッフ210を有するパレット21を含み、パレット21は、ガンギ車セット30と間欠的に相互作用することが意図されたパレットストーン212を含み、複合部品20はさらに、パレット21に締結された質量体213を含み、質量体213は、パレット21を構成する材料よりも高密度の材料から作られ、質量体213は、パレット21の径方向最大寸法よりも小さい、またはパレット21の径方向最大寸法と同一の径方向最大寸法を有する。
【選択図】図1
特許請求の範囲
【請求項1】
腕時計の調速機構(10)の複合時計部品(20)であって、特徴は、
前記複合時計部品(20)が、軸方向肩部(211)が配置されたスタッフ(210)を有するパレット(21)を含み、前記パレット(21)が、ガンギ車セット(30)と間欠的に相互作用することが意図されたパレットストーン(212)を含み、前記複合部品(20)がさらに、前記パレット(21)に締結された質量体(213)を含み、前記質量体(213)が、前記パレット(21)を構成する材料よりも高密度の材料から作られ、前記質量体(213)が、前記パレット(21)の径方向最大寸法よりも小さい、または前記パレット(21)の径方向最大寸法と同一の、径方向最大寸法を有することにある、複合部品(20)。
続きを表示(約 450 文字)
【請求項2】
前記質量体(213)は、密度が15よりも大きい材料から作られている、請求項1に記載の複合部品(20)。
【請求項3】
前記質量体(213)は、密度が好ましくは19よりも大きい材料から作られている、請求項1に記載の複合部品(20)。
【請求項4】
前記質量体(213)は、金、白金、またはこれらの合金から作られている、請求項1に記載の複合部品(20)。
【請求項5】
前記質量体(213)は、前記パレットストーン(212)の反対側となるように、前記軸方向肩部(211)を支承する、請求項1に記載の複合部品(20)。
【請求項6】
前記質量体(213)は中心貫通孔を含み、前記中心貫通孔を介して前記パレット(21)の前記スタッフ(210)へと押し込まれている、請求項1に記載の複合部品(20)。
【請求項7】
前記質量体(213)は、複数の回転対称要素の積層体を含む、請求項1に記載の複合部品(20)。
発明の詳細な説明
【技術分野】
【0001】
本発明は時計製造の分野に関し、詳しくは時計ムーブメントの部品に関する。
続きを表示(約 1,100 文字)
【0002】
本発明は、質量体を含む複合時計部品に関する。複合部品は調速機構の部品である。
【背景技術】
【0003】
時計機構の部品の慣性、特に調速機構の部品の慣性、を制御することが不可欠である。これらの部品の動的挙動はその慣性に依存するからである。
【0004】
「LIGA」(ドイツ語の「Lithographische Galvano Abformung」に由来し、「リソグラフィによるガルバニックパターン形成」を意味する)などの微細製造プロセスを用いた時計部品の製造により、非常に微細な幾何学形状を有する部品が製造され、機能的な接点が最適化される。しかしながら、これらの部品は非常に軽く、運動を維持すること、パルスを与えること、他の機能を実行することのためには、所定の程度の慣性が必要とされる場合が多い。
【0005】
例えば、ガンギ車セットとパレットとの間の繰り返される衝撃に基づいて動作する調整機構において、振動の周波数はパレットの慣性に部分的に依存する。さらに、ガンギ車セットおよびパレットに加わる機械的応力は、繰り返される衝撃の結果、比較的大きくなるので、これらの相互作用面の材料の選択が重要になる。
【0006】
さらに、所定の状況において、パレットが配置されることが意図される時計ムーブメントにおける空間的制約に準拠しながら、パレットにとって特定の慣性を得る必要がある。
【先行技術文献】
【特許文献】
【0007】
欧州特許第3540524号明細書
【発明の概要】
【0008】
本発明は、調速機構の複合時計部品に関し、前記複合部品は、その慣性を制御することを許容する質量体を含む。
【0009】
詳しくは、本発明は、腕時計の調速機構の複合時計部品に関する。複合部品は、軸方向肩部が配置されたスタッフを有するパレットを含む。前記パレットは、ガンギ車セットと間欠的に相互作用することが意図されたパレットストーンを含む。複合部品はさらに、パレットに締結された質量体を含み、前記質量体は、パレットを構成する材料よりも高密度の材料から作られ、質量体は、パレットの径方向最大寸法よりも小さいまたはパレットの径方向最大寸法と同一の径方向最大寸法を有する。
【0010】
すなわち、本発明によれば、一方で、調速機構のパレットが受ける機械的応力に耐えることが、他方で、複合部品の慣性を制御することが可能となるにもかかわらず、小さな寸法を維持することが、ひいては、空間的制約が大きい時計ムーブメントにおいて使用することが許容される。
(【0011】以降は省略されています)
この特許をJ-PlatPat(特許庁公式サイト)で参照する
関連特許
個人
砂時計
17日前
個人
目覚し時計
2か月前
個人
時刻同期システム
19日前
セイコーエプソン株式会社
時計
3か月前
個人
自照式の針により認視性を高めたアナログ式時計
3か月前
セイコーエプソン株式会社
電子時計
2か月前
株式会社村田製作所
光学的パターン表示物品
3日前
セイコーエプソン株式会社
電子制御式機械時計
3か月前
シチズン時計株式会社
電子時計
1か月前
セイコーエプソン株式会社
電子制御式機械時計
5日前
シチズン時計株式会社
機械式時計
2か月前
シチズン時計株式会社
機械式時計
1か月前
セイコーエプソン株式会社
ムーブメント及び時計
3か月前
シチズン時計株式会社
機械式時計
2か月前
カシオ計算機株式会社
装飾板及び時計
4日前
セイコーエプソン株式会社
電子時計
3か月前
セイコータイムクリエーション株式会社
からくり時計
3日前
セイコーエプソン株式会社
機械式時計
18日前
カシオ計算機株式会社
制御装置、制御方法、及びプログラム
4日前
カシオ計算機株式会社
機器ケース及び時計
2か月前
カシオ計算機株式会社
機器ケース及び時計
27日前
セイコーエプソン株式会社
インデックス、文字板、及び時計
1か月前
カシオ計算機株式会社
外装部品ユニット及び時計
3日前
住友ベークライト株式会社
計時装置、計時方法および検査装置
3か月前
カシオ計算機株式会社
電子時計及び電子時計本体
18日前
モントレー ブレゲ・エス アー
表示機構のための調整システム
3か月前
セイコーウオッチ株式会社
時計、音声再生方法およびプログラム
1か月前
モントレー ブレゲ・エス アー
プレート上のディスプレイモジュールの配置
3か月前
カシオ計算機株式会社
電子時計、外装部材及びバンド
18日前
カシオ計算機株式会社
カバー構造体、時計、およびカバー構造体の製造方法
3か月前
セイコーエプソン株式会社
機械式時計及び機械式時計の組み立て方法
2か月前
カシオ計算機株式会社
指針、時計、及び指針の製造方法
1か月前
セイコーエプソン株式会社
時計用部品、および、時計
1か月前
東邦瓦斯株式会社
ウェアラブル機器用防熱カバー
2か月前
カシオ計算機株式会社
時計、表示制御方法及びプログラム
18日前
モントレー ブレゲ・エス アー
質量体を含む時計調速機構の複合部品
3か月前
続きを見る
他の特許を見る