TOP
|
特許
|
意匠
|
商標
特許ウォッチ
Twitter
他の特許を見る
公開番号
2025112869
公報種別
公開特許公報(A)
公開日
2025-08-01
出願番号
2024007388
出願日
2024-01-22
発明の名称
半導体装置
出願人
ローム株式会社
代理人
弁理士法人太陽国際特許事務所
主分類
H04L
25/40 20060101AFI20250725BHJP(電気通信技術)
要約
【課題】半導体チップ間で行われるデータ転送に使用する端子の数を削減する。
【解決手段】第1の半導体チップは、対象データの各ビット値を、システムクロックに同期して並列伝送方式で出力する送信側周辺回路と、並列伝送方式で供給される対象データを受信し、対象のデータの各ビット値を、システムクロックの周波数を整数倍した逓倍クロックに同期して直列伝送方式で出力する並列入力直列出力回路とを含む。第2の半導体チップは、直列伝送方式で供給される対象データを受信し、対象データの各ビット値を逓倍クロックに同期して並列伝送方式で出力する直列入力並列出力回路と、直列入力並列出力回路から出力される対象データの各ビット値を、逓倍クロックに同期して保持する複数のレジスタを含む保持回路と、保持回路に保持された対象データの各ビット値を、システムクロックに同期して取り込む受信側周辺回路と、を含む。
【選択図】図2
特許請求の範囲
【請求項1】
複数のビットからなる転送対象のデータである対象データを送信する第1の半導体チップと、前記第1の半導体チップから送信された前記対象データを受信する第2の半導体チップと、を含む半導体装置であって、
前記第1の半導体チップは、
前記対象データの各ビット値を、システムクロックに同期して並列伝送方式で出力する送信側周辺回路と、
並列伝送方式で供給される前記対象データを受信し、前記対象データの各ビット値を、前記システムクロックの周波数を整数倍した逓倍クロックに同期して直列伝送方式で出力する並列入力直列出力回路と、
を含み、
前記第2の半導体チップは、
直列伝送方式で供給される前記対象データを受信し、前記対象データの各ビット値を、前記逓倍クロックに同期して並列伝送方式で出力する直列入力並列出力回路と、
前記直列入力並列出力回路から出力される前記対象データの各ビット値を、前記逓倍クロックに同期して保持する複数のレジスタを含む保持回路と、
前記保持回路に保持された前記対象データの各ビット値を、前記システムクロックに同期して取り込む受信側周辺回路と、
を含む
半導体装置。
続きを表示(約 480 文字)
【請求項2】
前記第2の半導体チップは、前記逓倍クロックを生成する逓倍クロック生成回路を含み、
前記並列入力直列出力回路、前記並列入力直列出力回路及び前記保持回路は、前記逓倍クロック生成回路によって生成された逓倍クロックに同期して動作する
請求項1に記載の半導体装置。
【請求項3】
前記第1の半導体チップは、前記対象データが直列伝送方式によって出力されるデータ出力端子を有し、
前記第2の半導体チップは、直列伝送方式で伝送される前記対象データが入力されるデータ入力端子を有し、
前記データ出力端子と前記データ入力端子が接続されている
請求項1に記載の半導体装置。
【請求項4】
前記逓倍クロックの周波数は、前記システムクロックの周波数のn倍であり、
前記対象データのビット数をmとしたとき、n>mである
請求項1に記載の半導体装置。
【請求項5】
前記第1の半導体チップと前記第2の半導体チップとが積層されている
請求項1に記載の半導体装置。
発明の詳細な説明
【技術分野】
【0001】
本発明は、半導体装置に関する。
続きを表示(約 2,000 文字)
【背景技術】
【0002】
複数の半導体チップを有する半導体装置おいて、半導体チップ間でのデータ転送に関する技術として以下の技術が知られている。例えば、特許文献1には、第1のダイ上の複数の送信回路と、第2のダイ上の複数の受信回路と、複数の送信回路が複数の受信回路にデータビットをパラレルに送信するように第1のダイを第2のダイに通信可能に結合する複数の導電線と、を有するものが記載されている。
【先行技術文献】
【特許文献】
【0003】
特表2017-505020号公報
【発明の概要】
【発明が解決しようとする課題】
【0004】
複数の半導体チップを備えたマルチチップ構成の半導体装置において、半導体チップ間でデータ転送を行う場合、各半導体チップにおいて、転送対象のデータを送受信するための端子が必要となる。特に、転送対象のデータの各ビット値を並列伝送方式により転送する場合、ビット毎に端子が必要となるためビット数の増加に伴って端子数が増加する。各半導体チップにおいて端子数が増加すると、半導体チップの面積が増加するだけでなく、テスト工数も増加するので、コストアップを招く
【0005】
本発明は、上記の点に鑑みてなされたものであり、半導体チップ間で行われるデータ転送に使用する端子の数を削減することを目的とする。
【課題を解決するための手段】
【0006】
本発明に係る半導体装置は、複数のビットからなる転送対象のデータである対象データを送信する第1の半導体チップと、前記第1の半導体チップから送信された前記対象データを受信する第2の半導体チップと、を含む。前記第1の半導体チップは、前記対象データの各ビット値を、システムクロックに同期して並列伝送方式で出力する送信側周辺回路と、並列伝送方式で供給される前記対象データを受信し、前記対象データの各ビット値を、前記システムクロックの周波数を整数倍した逓倍クロックに同期して直列伝送方式で出力する並列入力直列出力回路と、を含む。前記第2の半導体チップは、直列伝送方式で供給される前記対象データを受信し、前記対象データの各ビット値を、前記逓倍クロックに同期して並列伝送方式で出力する直列入力並列出力回路と、前記直列入力並列出力回路から出力される前記対象データの各ビット値を、前記逓倍クロックに同期して保持する複数のレジスタを含む保持回路と、前記保持回路に保持された前記対象データの各ビット値を、前記システムクロックに同期して取り込む受信側周辺回路と、を含む。
【発明の効果】
【0007】
本発明によれば、半導体チップ間で行われるデータ転送に使用する端子の数を削減することが可能となる。
【図面の簡単な説明】
【0008】
本発明の実施形態に係る半導体装置の構成の一例を示す図である。
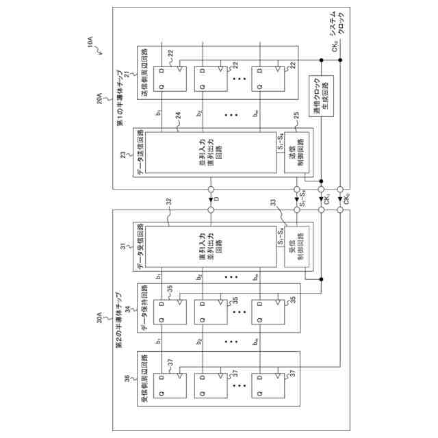
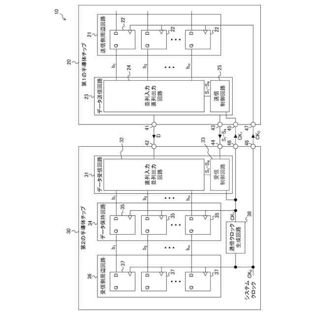
本発明の実施形態に係る第1の半導体チップ及び第2の半導体チップのそれぞれの回路構成の一例を示す回路ブロック図である。
本発明の実施形態に係る半導体装置の動作の一例を示すタイミングチャートである。
比較例に係る半導体装置の構成の一例を示す図である。
本発明の他の実施形態に係る半導体装置の構成の一例を示す図である。
【発明を実施するための形態】
【0009】
以下、本発明の実施形態について図面を参照しつつ説明する。尚、各図面において、実質的に同一又は等価な構成要素又は部分には同一の参照符号を付与している。
【0010】
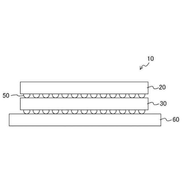
図1は、本発明の第1の実施形態に係る半導体装置10の構成の一例を示す図である。半導体装置10は、第1の半導体チップ20及び第2の半導体チップ30を含むマルチチップ構成を有する。本実施形態において、第2の半導体チップ30の上に第1の半導体チップ20が積層されている。第1の半導体チップ20と第2の半導体チップ30は、複数のバンプ50を介して接続されている。第1の半導体チップ20と第2の半導体チップ30との間での信号及びデータの送受信は、バンプ50を介して行われる。半導体装置10は、第1の半導体チップ20及び第2の半導体チップ30からなる積層体が搭載されるパッケージ基板60を有していてもよい。パッケージ基板60上において、第1の半導体チップ20及び第2の半導体チップ30が並置されていてもよい。この場合、第1の半導体チップ20と第2の半導体チップとの間での信号及びデータの送受信は、ワイヤー又はパッケージ基板60上に形成された配線を介して行われてもよい。以下において、第1の半導体チップ20から第2の半導体チップ30にデータを転送する場合を例に説明する。
(【0011】以降は省略されています)
この特許をJ-PlatPat(特許庁公式サイト)で参照する
関連特許
ローム株式会社
タイマ
6日前
ローム株式会社
発振回路
2日前
ローム株式会社
監視回路
2日前
ローム株式会社
電子装置
2日前
ローム株式会社
半導体装置
12日前
ローム株式会社
半導体装置
13日前
ローム株式会社
メモリ装置
2日前
ローム株式会社
半導体装置
2日前
ローム株式会社
半導体装置
6日前
ローム株式会社
半導体装置
今日
ローム株式会社
半導体装置
2日前
ローム株式会社
半導体装置
今日
ローム株式会社
半導体装置
21日前
ローム株式会社
半導体装置
今日
ローム株式会社
半導体装置
今日
ローム株式会社
半導体装置
21日前
ローム株式会社
信号出力回路
12日前
ローム株式会社
信号出力回路
12日前
ローム株式会社
半導体記憶装置
5日前
ローム株式会社
半導体記憶装置
5日前
ローム株式会社
縦型ホール素子
2日前
ローム株式会社
半導体集積回路
13日前
ローム株式会社
定電圧生成回路
12日前
ローム株式会社
半導体モジュール
2日前
ローム株式会社
窒化物半導体装置
20日前
ローム株式会社
TVSダイオード
今日
ローム株式会社
TVSダイオード
今日
ローム株式会社
半導体集積回路装置
20日前
ローム株式会社
差動回路及び発振器
14日前
ローム株式会社
半導体装置および車両
13日前
ローム株式会社
電界効果トランジスタ
2日前
ローム株式会社
電源回路用の電子負荷装置
6日前
ローム株式会社
アナログデジタル変換装置
20日前
ローム株式会社
ソースドライバ及び表示装置
13日前
ローム株式会社
半導体素子および半導体装置
14日前
ローム株式会社
半導体装置、電子機器、車両
13日前
続きを見る
他の特許を見る