TOP
|
特許
|
意匠
|
商標
特許ウォッチ
Twitter
他の特許を見る
10個以上の画像は省略されています。
公開番号
2025116172
公報種別
公開特許公報(A)
公開日
2025-08-07
出願番号
2025092033,2023523452
出願日
2025-06-02,2022-05-20
発明の名称
検出機及び検出装置
出願人
京セラ株式会社
代理人
弁理士法人酒井国際特許事務所
主分類
G01R
33/24 20060101AFI20250731BHJP(測定;試験)
要約
【課題】磁界の検出精度を改善すること。
【解決手段】検出機は、NVセンタが形成されるダイヤモンド結晶と、ダイヤモンド結晶上に設けられたループアンテナと、誘電体基体と、を備え、NVセンタは、ダイヤモンド結晶の一方の面に配置され、誘電体基体は、軸方向の検出対象側の端部と検出対象側と反対側の端部とがいずれも開口した筒状であり、ダイヤモンド結晶の外周部は、軸方向視において、誘電体基体の内周部より外側で、誘電体基体の外周部より内側に位置し、ループアンテナは、ダイヤモンド結晶のうちNVセンタが形成される面と反対側の面に配置され、誘電体基体上に形成された高周波伝送線路に電気的に接続される。
【選択図】図1
特許請求の範囲
【請求項1】
NVセンタが形成されるダイヤモンド結晶と、
前記ダイヤモンド結晶上に設けられたループアンテナと、
誘電体基体と、
を備え、
前記NVセンタは、前記ダイヤモンド結晶の一方の面に配置され、
前記誘電体基体は、軸方向の検出対象側の端部と前記検出対象側と反対側の端部とがいずれも開口した筒状であり、
前記ダイヤモンド結晶の外周部は、軸方向視において、前記誘電体基体の内周部より外側で、前記誘電体基体の外周部より内側に位置し、
前記ループアンテナは、前記ダイヤモンド結晶のうち前記NVセンタが形成される面と反対側の面に配置され、前記誘電体基体上に形成された高周波伝送線路に電気的に接続される、
検出機。
続きを表示(約 900 文字)
【請求項2】
前記ループアンテナは、第1櫛部を有する第1辺と、第2櫛部を有する第2辺と、を有しており、第1櫛部と第2櫛部が噛み合うように配置されて容量形成部を形成している、
請求項1に記載の検出機。
【請求項3】
前記誘電体基体は、前記筒状の前記検出対象側の端部が、前記ダイヤモンド結晶の前記検出対象と向かい合う面よりも前記反対側に位置する、
請求項1又は2に記載の検出機。
【請求項4】
前記ループアンテナは、リング状に形成され、
前記ダイヤモンド結晶のうち前記NVセンタが形成される面と反対側の面は、前記ループアンテナが配置されていない部分が露出する、
請求項1又は2に記載の検出機。
【請求項5】
前記ダイヤモンド結晶のうち前記NVセンタが形成される面は、平滑な面である、
請求項1又は2に記載の検出機。
【請求項6】
請求項1又は2に記載の検出機と、発光素子と、受光素子とを備える検出装置であって、
前記発光素子は、前記NVセンタへ光を照射し、
前記受光素子は、前記NVセンタの蛍光を受光する、
検出装置。
【請求項7】
前記発光素子と前記受光素子とは、前記ダイヤモンド結晶のうち前記NVセンタが形成される面と反対側の面における、前記ループアンテナが配置されていない部分に密着して配置される、
請求項6に記載の検出装置。
【請求項8】
前記発光素子と前記受光素子とは、前記ダイヤモンド結晶のうち前記NVセンタが形成される面と反対側の面における、前記ループアンテナが配置されていない部分の直上に一定距離だけ離隔されて配置される、
請求項6に記載の検出装置。
【請求項9】
前記検出機は、前記誘電体基体に収容され、検出基板と向かい合って配置された光学窓
を備え、
前記光学窓は、前記誘電体基体の軸方向の前記反対側の端部の開口内に位置する、
請求項8に記載の検出装置。
発明の詳細な説明
【技術分野】
【0001】
本開示は、検出機及び検出装置に関する。
続きを表示(約 2,100 文字)
【背景技術】
【0002】
特許文献1には、SQUID素子を利用し、サンプルの各点上の磁界を測定する装置が開示されている。
【先行技術文献】
【特許文献】
【0003】
特開2016-014541号公報
【発明の概要】
【発明が解決しようとする課題】
【0004】
特許文献1に記載の技術では、試料とSQUID素子との間にサファイア窓が挿入され、かつ、サファイア窓とSQUID素子の間に断熱のための一定距離を設ける必要がある。このため、SQUID素子を試料へ近づけることができない。そのため、近接する磁界分布を分離してそれぞれを観察することが難しい。このように、検出精度には改善の余地がある。
【課題を解決するための手段】
【0005】
1つの態様に係る検出機は、NVセンタが形成されるダイヤモンド結晶と、前記ダイヤモンド結晶上に設けられたループアンテナと、誘電体基体と、を備え、前記NVセンタは、前記ダイヤモンド結晶の一方の面に配置され、前記誘電体基体は、軸方向の検出対象側の端部と前記検出対象側と反対側の端部とがいずれも開口した筒状であり、前記ダイヤモンド結晶の外周部は、軸方向視において、前記誘電体基体の内周部より外側で、前記誘電体基体の外周部より内側に位置し、前記ループアンテナは、前記ダイヤモンド結晶のうち前記NVセンタが形成される面と反対側の面に配置され、前記誘電体基体上に形成された高周波伝送線路に電気的に接続される。
【0006】
1つの態様に係る検出装置は、上記の検出機と、発光素子と、受光素子とを備える検出装置であって、前記発光素子は、前記NVセンタへ光を照射し、前記受光素子は、前記NVセンタの蛍光を受光する。
【発明の効果】
【0007】
本開示の1つの態様に係る検出機及び検出装置によれば、磁界を高精度に検出できる。
【図面の簡単な説明】
【0008】
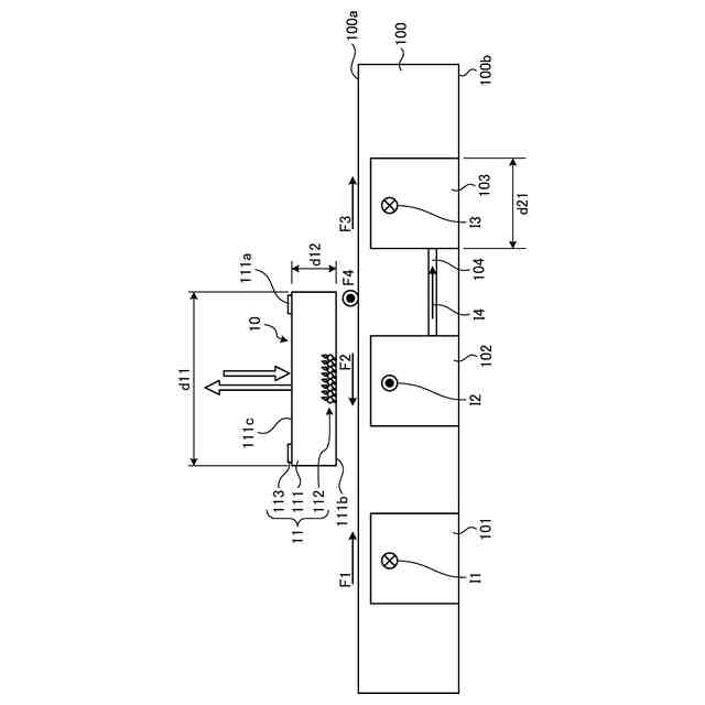
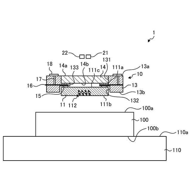
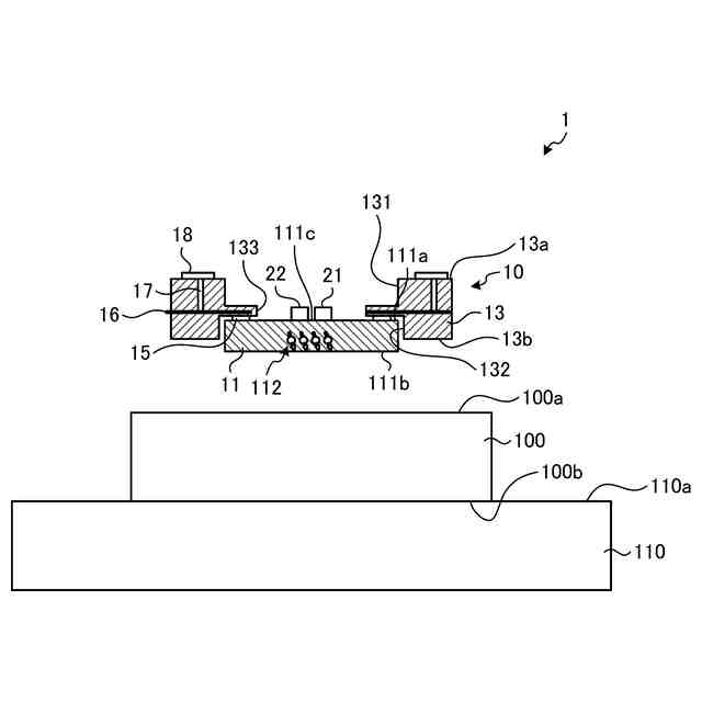
図1は、第1実施形態に係る検出機の検出基板の概略を説明する断面図である。
図2は、第1実施形態に係る検出機及び検出装置の一例を説明する概略図である。
図3は、第1実施形態に係る検出機及び検出装置の他の例を説明する概略図である。
図4は、誘電体基体の他の例を説明する概略図である。
図5は、信号制御部の一例を説明するブロック図である。
図6は、第2実施形態に係る検出機の検出基板の概略を説明する断面図である。
図7は、第2実施形態に係る検出機及び検出装置の一例を説明する概略図である。
図8は、検出基板の一例を説明する概略図である。
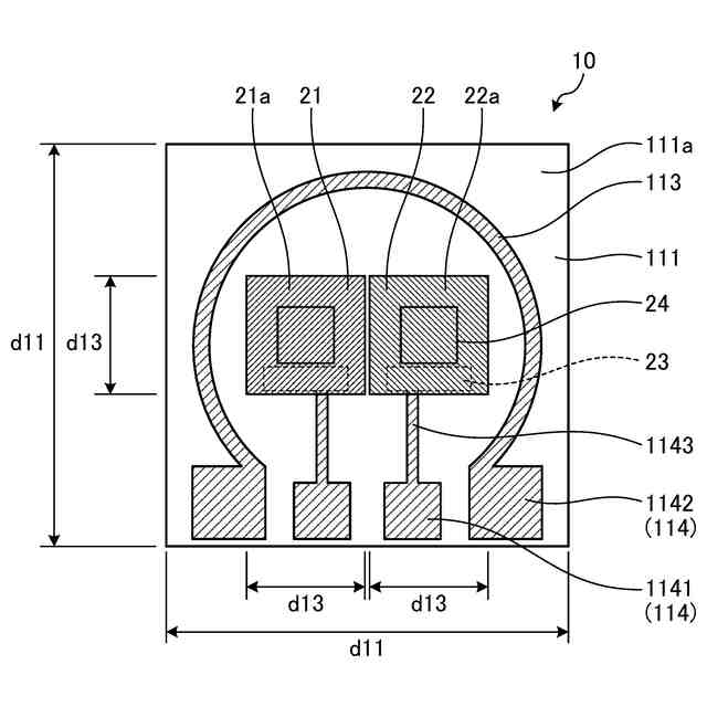
図9は、アンテナ導体の一例を説明する平面図である。
図10は、アンテナ導体の他の例を説明する平面図である。
図11は、アンテナ導体の他の例を説明する平面図である。
図12は、アンテナ導体の反射特性の一例を説明するグラフである。
【発明を実施するための形態】
【0009】
以下に実施形態に係る検出機及び検出装置について説明する。検出機及び検出装置は、検出対象に発生する磁界を検出するためのものである。図1は、第1実施形態に係る検出機の検出基板の概略を説明する断面図である。図2は、第1実施形態に係る検出機及び検出装置の一例を説明する概略図である。図3は、第1実施形態に係る検出機及び検出装置の他の例を説明する概略図である。
【0010】
[第1実施形態]
(検出対象)
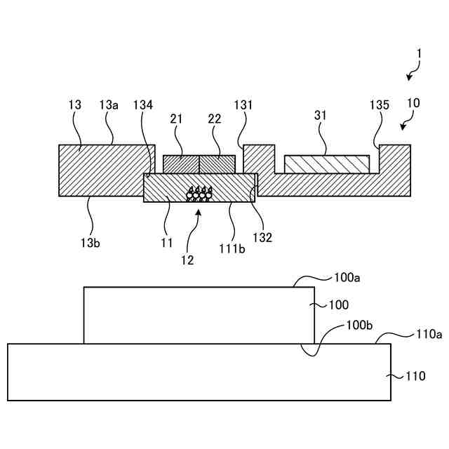
検出対象は、検出機10及び検出装置1による検出の対象物、言い換えると、試料である。検出対象は、電流によって磁界が発生する。図1に示す例では、検出対象は、誘電体100と、誘電体100の内部に配置された導体101、導体102、導体103及び導体104とを有する。導体101、導体102及び導体103は、誘電体100の面100a側に間隔を空けて配置されている。導体101、導体102及び導体103の幅d21は、例えば1μm程度である。導体104は、誘電体100の面100b側に配置されている。導体101には、図1における手前側から奥側に向かって電流I1が流れる。電流I1は、誘電体100の面100a側を流れる。電流I1による磁界F1の向きを矢印で示す。導体102には、図1における奥側から手前側に向かって電流I2が流れる。電流I2は、誘電体100の面100a側を流れる。電流I2による磁界F2の向きを矢印で示す。導体103には、図1における手前側から奥側に向かって電流I3が流れる。電流I3は、誘電体100の面100a側を流れる。電流I3による磁界F3の向きを矢印で示す。導体104には、図1における左側から右側に向かって電流I4が流れる。電流I4は、誘電体100の面100b側を流れる。電流I4による磁界F4の向きを矢印で示す。
(【0011】以降は省略されています)
この特許をJ-PlatPat(特許庁公式サイト)で参照する
関連特許
京セラ株式会社
刃物
1か月前
京セラ株式会社
二次電池
22日前
京セラ株式会社
弾性波装置
6日前
京セラ株式会社
太陽電池モジュール
15日前
京セラ株式会社
発光装置および照明装置
3日前
京セラ株式会社
取付部材及びヘッド取付方法
今日
京セラ株式会社
骨モデルおよび表示システム
1か月前
京セラ株式会社
半導体装置及びその製造方法
22日前
京セラ株式会社
電源制御装置及び電源制御方法
22日前
京セラ株式会社
電源制御装置及び電源制御方法
22日前
京セラ株式会社
電源制御装置及び電源制御方法
22日前
京セラ株式会社
液体吐出ヘッドおよび記録装置
21日前
京セラ株式会社
液滴吐出ヘッドおよび液滴吐出装置
27日前
京セラ株式会社
電磁波抑制樹脂組成物及びその硬化物
1か月前
京セラ株式会社
配線基板およびそれを用いた実装構造体
1か月前
京セラ株式会社
電子部品搭載用基板及び電子モジュール
1か月前
京セラ株式会社
異常検知装置、プログラム及び異常検知方法
1か月前
京セラ株式会社
異常検知装置、プログラム及び異常検知方法
1か月前
京セラ株式会社
異常検知装置、プログラム及び異常検知方法
1か月前
京セラ株式会社
情報処理装置及び学習モデル用データ生成方法
22日前
京セラ株式会社
多層基板、フィルタモジュール、および通信装置
3日前
京セラ株式会社
切削インサート、切削工具及び切削加工物の製造方法
21日前
京セラ株式会社
表示システム、表示制御装置及び表示制御プログラム
22日前
京セラ株式会社
表示システム、表示制御装置及び表示制御プログラム
22日前
京セラ株式会社
情報処理方法、情報処理装置、及び情報処理システム
1か月前
国立研究開発法人産業技術総合研究所
光電子集積回路
1か月前
京セラ株式会社
脈波検出装置、脈波検出システム、および脈波検出方法
1か月前
京セラ株式会社
膜付部材
1か月前
株式会社サーモグラフィティクス
伝熱部材および電子装置
1か月前
京セラ株式会社
疾患予測システム
21日前
京セラ株式会社
歩留予測装置、モデル生成装置、歩留予測システムおよび歩留予測方法
1か月前
京セラ株式会社
認識モデル、情報処理システム、情報処理方法、及び認識モデル生成方法
14日前
京セラ株式会社
学習データ生成方法、学習済みモデル、情報処理装置、及び情報処理方法
29日前
京セラ株式会社
電気化学セル、電気化学セル装置、モジュールおよびモジュール収容装置
1か月前
京セラ株式会社
電気化学セル、電気化学セル装置、モジュールおよびモジュール収容装置
22日前
京セラ株式会社
日射量把握システム、端末装置、日射量把握プログラム及び日射量把握方法
1か月前
続きを見る
他の特許を見る