TOP
|
特許
|
意匠
|
商標
特許ウォッチ
Twitter
他の特許を見る
公開番号
2025116283
公報種別
公開特許公報(A)
公開日
2025-08-07
出願番号
2025094937,2019064862
出願日
2025-06-06,2019-03-28
発明の名称
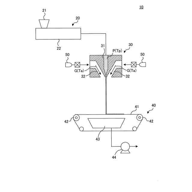
メルトブローン繊維不織布
出願人
エム・エーライフマテリアルズ株式会社
代理人
弁理士法人鷲田国際特許事務所
主分類
D04H
3/16 20060101AFI20250731BHJP(組みひも;レース編み;メリヤス編成;縁とり;不織布)
要約
【課題】装置構成を複雑にすることなく、捕集効率に優れるフィルターを製造し得る繊維不織布の製造方法を提供する。
【解決手段】本発明の繊維不織布の製造方法は、メルトブローン法により、溶融した熱可塑性樹脂を紡糸口金から加熱ガスとともに吐出し、前記加熱ガスにより前記熱可塑性樹脂を延伸して、繊維状樹脂とする工程と、前記繊維状樹脂を、ウェブ状に捕集する工程とを含む。加熱ガスの流量は、150~1000Nm
3
/時/mである。加熱ガスの温度をTa(℃)、溶融した熱可塑性樹脂の温度をTp(℃)、熱可塑性樹脂の結晶化温度をTc(℃)、前記熱可塑性樹脂の融点をTm(℃)としたとき、加熱ガスの吐出は、下記式(1):Tc<Ta≦Tm+150および式(2)80≦Tp-Ta≦190を満たすように行う。
【選択図】図1
特許請求の範囲
【請求項1】
メルトブローン法により、溶融した熱可塑性樹脂を紡糸口金から加熱ガスとともに吐出し、前記加熱ガスにより前記熱可塑性樹脂を延伸して、繊維状樹脂とする工程と、
前記繊維状樹脂を、ウェブ状に捕集する工程と、
を含み、
前記加熱ガスの流量を150~1000Nm
3
/時/mとし、
前記加熱ガスの温度をTa(℃)、前記溶融した熱可塑性樹脂の温度をTp(℃)、前記熱可塑性樹脂の結晶化温度をTc(℃)、前記熱可塑性樹脂の融点をTm(℃)としたとき、前記加熱ガスの吐出は、下記式(1)および(2)を満たすように行う、
繊維不織布の製造方法。
式(1) Tc<Ta≦Tm+150
式(2) 80≦Tp-Ta≦190
続きを表示(約 430 文字)
【請求項2】
吐出された前記熱可塑性樹脂に、30℃以下の冷却ガスを吹き付ける工程を含まない、
請求項1に記載の繊維不織布の製造方法。
【請求項3】
前記加熱ガスの吐出は、下記式(1)’をさらに満たすように行う、
請求項1または2に記載の繊維不織布の製造方法。
式(1)’ Tm-30≦Ta≦Tm+150
【請求項4】
前記加熱ガスの流量を250~850Nm
3
/時/mとする、
請求項1~3のいずれか一項に記載の繊維不織布の製造方法。
【請求項5】
前記熱可塑性樹脂は、プロピレン系重合体である、
請求項1~4のいずれか一項に記載の繊維不織布の製造方法。
【請求項6】
前記繊維不織布は、平均繊維径が2.0μm以下であり、かつ、繊維径の変動係数が1.0以下である、
請求項1~5のいずれか一項に記載の繊維不織布の製造方法。
発明の詳細な説明
【技術分野】
【0001】
本発明は、繊維不織布の製造方法に関する。
続きを表示(約 1,900 文字)
【背景技術】
【0002】
繊維不織布は、エアフィルターや衛生材料、吸収性材料、包装資材などとして広く用いられている。そのような繊維不織布は、繊維の繊維径が小さいほど、分離性能、液体保持機能、払拭性能、隠蔽性能、柔軟性などの種々の性能に優れる。そのため、繊維径が小さい繊維不織布を製造する方法が、従来から種々提案されている。
【0003】
中でも、メルトブローン法では、吐出される溶融樹脂に加熱エア(加熱圧縮エア)を吹き当てて溶融樹脂を延伸(または牽引)するため、繊維径の小さい繊維不織布が得られやすい。
【0004】
メルトブローン法による繊維不織布の製造方法としては、例えば、1)ダイ(紡糸口金)から溶融樹脂を加熱エアとともに吐出し、当該溶融樹脂を加熱エアにより延伸して、極細繊維を得る工程と、2)得られた極細繊維を吸引ロールや吸引ベルト上に捕集する工程と、3)吸引ロールや吸引ベルトの外周面に沿って配置された吸引フードにより、捕集した極細繊維上に付着した浮遊繊維を吸引除去する工程とを含む方法が提案されている(例えば特許文献1)。
【0005】
そして、1)の工程では、加熱エアの温度は、ダイの温度(溶融樹脂の温度)と同じか、それよりも高くすることが示されている。また、ダイと吸引ロールや吸引ベルトとの間隔d1を、溶融樹脂の振動が生じないような範囲とすることで、糸切れや繊維の絡み合いを抑制するとともに、吸引ロールや吸引ベルトと吸引フードとの間隔d2を、浮遊繊維を吸引除去可能な範囲とすることで、繊維径のばらつきを低減できるとされている。
【先行技術文献】
【特許文献】
【0006】
再公表特許第2012/102398号
【発明の概要】
【発明が解決しようとする課題】
【0007】
しかしながら、特許文献1の製造方法では、吸引フードの配置や、それによる気流の制御が必要となるため、装置構成が複雑になりやすいという問題があった。
【0008】
本発明は、上記課題に鑑みてなされたものであり、装置構成を複雑にすることなく、捕集効率に優れるフィルターを製造し得る繊維不織布を製造することができる、繊維不織布の製造方法を提供することを目的とする。
【課題を解決するための手段】
【0009】
本発明は、以下の繊維不織布の製造方法に関する。
<1> メルトブローン法により、溶融した熱可塑性樹脂を紡糸口金から加熱ガスとともに吐出し、前記加熱ガスにより前記熱可塑性樹脂を延伸して、繊維状樹脂とする工程と、前記繊維状樹脂を、ウェブ状に捕集する工程と、
を含み、
前記加熱ガスの流量を150~1000Nm
3
/時/mとし、
前記加熱ガスの温度をTa(℃)、前記溶融した熱可塑性樹脂の温度をTp(℃)、前記熱可塑性樹脂の結晶化温度をTc(℃)、前記熱可塑性樹脂の融点をTm(℃)としたとき、前記加熱ガスの吐出は、下記式(1)および(2)を満たすように行う、
繊維不織布の製造方法。
式(1) Tc<Ta≦Tm+150
式(2) 80≦Tp-Ta≦190
<2> 吐出された前記熱可塑性樹脂に、30℃以下の冷却ガスを吹き付ける工程を含まない、<1>に記載の繊維不織布の製造方法。
<3> 前記加熱ガスの吐出は、下記式(1)’をさらに満たすように行う、<1>または<2>に記載の繊維不織布の製造方法。
式(1)’ Tm-30≦Ta≦Tm+150
<4> 前記加熱ガスの流量を250~850Nm
3
/時/mとする、<1>~<3>のいずれか一項に記載の繊維不織布の製造方法。
<5> 前記熱可塑性樹脂は、プロピレン系重合体である、<1>~<4>のいずれか一項に記載の繊維不織布の製造方法。
<6> 前記繊維不織布は、平均繊維径が2.0μm以下であり、かつ、繊維径の変動係数が1.0以下である、<1>~<5>のいずれか一項に記載の繊維不織布の製造方法。
【発明の効果】
【0010】
本発明によれば、装置構成を複雑にすることなく、捕集効率に優れるフィルターを製造し得る繊維不織布を製造することができる、繊維不織布の製造方法を提供することができる。
【図面の簡単な説明】
(【0011】以降は省略されています)
この特許をJ-PlatPat(特許庁公式サイト)で参照する
関連特許
東レ株式会社
編地
3か月前
東レ株式会社
不織布の製造装置
3日前
日本エステル株式会社
クッション体
1か月前
東レ株式会社
編物、繊維製品および詰め物
3か月前
株式会社ワコール
充填材
4か月前
ユニチカ株式会社
化粧料含浸用基布の製造方法
1か月前
東レ株式会社
不織布およびエアフィルター濾材
4か月前
グンゼ株式会社
編地及び繊維製品
5日前
モリト株式会社
紐体を用いた連結体
1か月前
ユニチカトレーディング株式会社
油吸着材用不織布
23日前
セーレン株式会社
緯編地
3か月前
東洋紡エムシー株式会社
農作物保護用生分解性不織布。
3日前
東レ株式会社
不織布の製造装置および不織布の製造方法
16日前
株式会社島精機製作所
編地の編成方法、および編地
1か月前
株式会社島精機製作所
編地の編成方法、および編地
1か月前
日本製紙クレシア株式会社
ローション不織布
1か月前
帝人フロンティア株式会社
しみ防止布帛および繊維製品
3か月前
セイコーエプソン株式会社
シート製造装置
4か月前
セイコーエプソン株式会社
シート製造装置
4か月前
セイコーエプソン株式会社
シート成形装置
4か月前
株式会社ヴィオレッタ
メッシュ経編地及び繊維製品
2か月前
ユニチカ株式会社
シート
3か月前
大和紡績株式会社
積層不織布、および液体含浸シート
2日前
日本製紙クレシア株式会社
複合型不織布
1か月前
花王株式会社
吸収性物品用不織布
11日前
東レ株式会社
エレクトレットメルトブロー不織布およびその製造方法
1か月前
日本毛織株式会社
編地及び衣類
23日前
東洋紡エムシー株式会社
肌への密着性に優れるフェイスマスク用基材
9日前
東レ株式会社
不織布およびその製造方法ならびに積層体、衣料、雑貨
23日前
東洋紡エムシー株式会社
生分解性不織布、その用途及びその製造方法。
13日前
帝人フロンティア株式会社
中綿および中綿評価方法および詰め物製品
2か月前
セイコーエプソン株式会社
二酸化炭素排出量の管理方法
4か月前
東レ株式会社
スパンボンド不織布およびその製造方法ならびに積層体、表皮材
3日前
ユニチカ株式会社
ポリエステル系長繊維不織布
3日前
セイコーエプソン株式会社
シート製造装置及びシート製造方法
4か月前
日本バイリーン株式会社
摩擦帯電不織布、および、当該摩擦帯電不織布を備えた濾材
3か月前
続きを見る
他の特許を見る