TOP
|
特許
|
意匠
|
商標
特許ウォッチ
Twitter
他の特許を見る
10個以上の画像は省略されています。
公開番号
2025117262
公報種別
公開特許公報(A)
公開日
2025-08-12
出願番号
2024012007
出願日
2024-01-30
発明の名称
情報処理システム、方法およびプログラム
出願人
オムロン株式会社
代理人
弁理士法人深見特許事務所
主分類
G06F
16/33 20250101AFI20250804BHJP(計算;計数)
要約
【課題】事象への対処を特定するために利用可能な情報を多様化する。
【解決手段】システムは、当該システムに対する入力情報を受付ける。入力情報は、制御装置を含む制御システムに発生し得る複数の事象それぞれについて、当該事象への対処を記述する1つ以上の文から構成される文書を含む。システムは、受付けた文書を構成する各文について、当該文を構成する1つ以上の単語それぞれが持つ意味の分散表現を示すベクトルを生成する。システムは、記憶部に、文書を格納し、また、当該文書を構成する各文に当該文について生成されたベクトルを紐付けて格納する。
【選択図】図13
特許請求の範囲
【請求項1】
情報処理システムであって、
前記情報処理システムに対する入力情報を受付ける受付部を備え、
前記入力情報は、
制御装置を含む制御システムに発生し得る複数の事象それぞれについて、当該事象への対処を記述する1つ以上の文から構成される文書を含み、
前記情報処理システムは、さらに、
前記受付部が受付けた前記文書を構成する各文について、当該文を構成する1つ以上の単語それぞれが持つ意味の分散表現を示すベクトルを生成するベクトル生成部と、
前記文書を記憶部に格納し、および、当該文書を構成する前記各文に当該文について生成された前記ベクトルを紐付けて当該記憶部に格納する格納部と、をさらに備える、情報処理システム。
続きを表示(約 1,100 文字)
【請求項2】
前記ベクトル生成部は、前記受付部によって入力情報の文書が受付けられる毎に、当該受付られた文書について前記ベクトルを生成する、請求項1に記載の情報処理システム。
【請求項3】
前記ベクトル生成部は、さらに、
前記文書が受付られたとき、当該受付けられた文書と以前に受付られた文書との差を抽出し、抽出した差に対応する文ついて、前記ベクトルを生成する、請求項2に記載の情報処理システム。
【請求項4】
前記受付部が受付ける入力情報は前記事象を示す事象情報を含み、
前記受付部が受付ける前記事象情報に基づく文であって、当該事象の対処を問合わせる文を構成する1つ以上の単語それぞれが持つ意味の分散表現を示すベクトルを生成するベクトル生成部と、
前記ベクトル生成部が生成した前記問合わせる文のベクトルに基づき、当該ベクトルとの類似度が閾値を超えるベクトルが紐付けされた1つ以上の文を、前記記憶部から検索する検索部と、
質問を含むプロンプトおよび設定文を入力として、当該入力の設定文から当該質問に関連性のある関連文を出力する言語モデルと遣り取りするモデルインターフェイスと、を備え、
前記モデルインターフェイスは、前記言語モデルの入力の前記プロンプトの質問および前記設定文に、それぞれ、前記問合わせる文の問合わせおよび前記検索部が検索した前記1つ以上の文を設定する、請求項1~3のいずれか1項に記載の情報処理システム。
【請求項5】
前記情報処理システムは、前記言語モデルを実行するモデル実行部を、さらに備える、請求項4に記載の情報処理システム。
【請求項6】
コンピュータが実施する方法であって、
前記方法は、
前記コンピュータに対する入力情報を受付けるステップを備え、
前記入力情報は、
制御装置を含む制御システムに発生し得る複数の事象それぞれについて、当該事象の対処を記述する1つ以上の文から構成される文書を含み、
前記方法は、さらに、
前記受付けるステップにおいて受付けた各文について、当該文を構成する1つ以上の単語それぞれが持つ意味の分散表現を示すベクトルを生成するステップと、
前記文書を記憶部に格納し、および、当該文書を構成する前記各文に当該文について生成された前記ベクトルを紐付けて当該記憶部に格納するステップと、をさらに備える、方法。
【請求項7】
コンピュータに請求項6に記載の方法を実行させるプログラム。
発明の詳細な説明
【技術分野】
【0001】
本開示は情報処理システム、方法およびプログラムに関する。
続きを表示(約 1,400 文字)
【背景技術】
【0002】
従来より、生産ラインを構成する生産設備に異常(障害、エラー等)が発生した場合、作業者は、設備を異常から復旧させて早急に設備が稼働できる状態にする必要がある。特許文献1においては、作業者の進捗状況を管理する方式が開示されている。
【0003】
一方で、作業者は生産ライン等の制御システムを構成する機器を自らオペレーションすることで、異常把握に必要な情報を取得する。その上で、異常の詳細及び解消のための対処を、マニュアルの参照やメーカー担当者への問合わせにより把握する必要がある。このような対処の中には制御システムに依存する対処も含まれる。そのため、対処を特定する情報を現場の制御システムごとにカスタマイズされた情報として管理したいとの要望があった。
【先行技術文献】
【特許文献】
【0004】
特開2020-129161号公報
【発明の概要】
【発明が解決しようとする課題】
【0005】
本開示の一つの目的は、事象への対処を特定する情報を制御システムごとにカスタマイズされた情報として管理可能な情報処理システムを提供することである。
【課題を解決するための手段】
【0006】
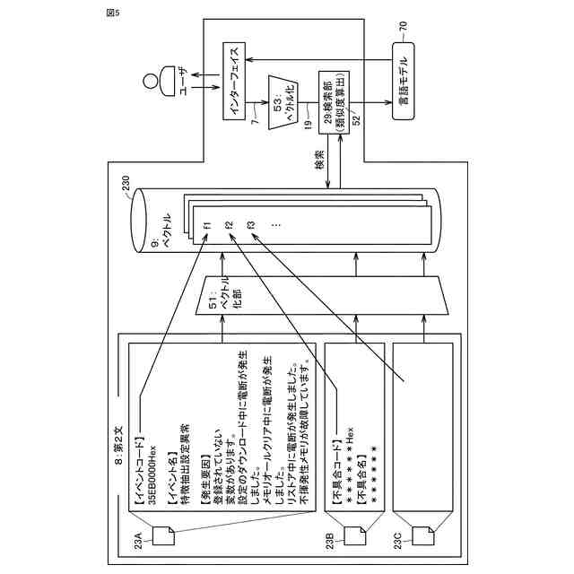
本開示に係る情報処理システムは、当該情報処理システムに対する入力情報を受付ける受付部を備える。入力情報は、制御装置を含む制御システムに発生し得る複数の事象それぞれについて、当該事象への対処を記述する1つ以上の文から構成される文書を含む。情報処理システムは、さらに、受付部が受付けた文書を構成する各文について、当該文を構成する1つ以上の単語それぞれが持つ意味の分散表現を示すベクトルを生成するベクトル生成部と、文書を記憶部に格納し、および、当該文書を構成する前記各文に当該文について生成されたベクトルを紐付けて当該記憶部に格納する格納部と、をさらに備える。
【0007】
上述の開示において、また、情報処理システムが受付ける入力情報は、制御システムごとの入力情報、すなわち当該制御システムに依存して発生し得る事象への対処を記述する文書を含む。したがって、記憶部において、事象への対処を特定するための情報であるベクトルと文書を、制御システムごとにカスタマイズされた情報として管理できる。
【0008】
また、事象への対処を記述する1つ以上の文から構成される文書について、当該文書を構成する各文は、当該文の1つ以上の単語それぞれが持つ意味の分散表現を示すベクトルが紐付けされる。したがって、事象の対処を特定するために記憶部が検索される場合、記憶部から、対処を記述した文書中の文と当該文に紐付けされたベクトルの両方を取得できるので、文書から文のみが検索される場合に比較して、対処を特定するための情報を多様化できる。
【0009】
上述の開示において、ベクトル生成部は、受付部によって入力情報の入力情報の文書が受付けられる毎に、当該受付られた文書についてベクトルを生成する。
【0010】
上述の開示によれば、情報処理システムは、文書を受付ける毎に、当該文書を記憶部に格納し、および、当該文書を構成する各文に当該文について生成されたベクトルを紐付けて当該記憶部に格納することができる。
(【0011】以降は省略されています)
この特許をJ-PlatPat(特許庁公式サイト)で参照する
関連特許
オムロン株式会社
制御装置
1か月前
オムロン株式会社
電源回路
8日前
オムロン株式会社
電源回路
8日前
オムロン株式会社
電源回路
8日前
オムロン株式会社
電磁継電器
1か月前
オムロン株式会社
情報提供装置
4日前
オムロン株式会社
スレーブ装置
4日前
オムロン株式会社
トリガスイッチ
4日前
オムロン株式会社
IOターミナル
4日前
オムロン株式会社
モータの監視装置
4日前
オムロン株式会社
導線折り曲げ治具
1か月前
オムロン株式会社
端子折り曲げ治具
4日前
オムロン株式会社
セーフティデバイス
4日前
オムロン株式会社
システムおよび方法
4日前
オムロン株式会社
電力開閉モジュール
4日前
オムロン株式会社
リモート安全入出力装置
4日前
オムロン株式会社
支援システム及び支援方法
4日前
オムロン株式会社
保護継電器及び電力制御装置
4日前
オムロン株式会社
パワーコンディショナシステム
4日前
オムロン株式会社
情報処理装置及び情報処理方法
14日前
オムロン株式会社
搬送装置、搬送方法、プログラム
1か月前
オムロン株式会社
給電モジュール及び給電システム
4日前
オムロン株式会社
教育支援システム及び教育支援方法
4日前
オムロン株式会社
回転制御システム及び回転制御方法
1か月前
オムロン株式会社
計測装置、計測方法及びプログラム
4日前
オムロン株式会社
電力供給システム及び電力制御装置
4日前
オムロン株式会社
画像処理システムおよび画像処理方法
1か月前
オムロン株式会社
検査装置、検査方法およびプログラム
14日前
オムロン株式会社
安全IOターミナルおよび安全システム
4日前
オムロン株式会社
生体情報処理装置及び動作情報処理装置
4日前
オムロン株式会社
交通管制システム、および動作切替方法
4日前
オムロン株式会社
生体情報処理装置及び動作情報処理装置
4日前
オムロン株式会社
情報処理システム、方法およびプログラム
1か月前
オムロン株式会社
スレーブ装置およびネットワークシステム
4日前
オムロン株式会社
監視システム、警報方法、及びプログラム
4日前
オムロン株式会社
作業認識装置、作業認識方法およびプログラム
1か月前
続きを見る
他の特許を見る