TOP
|
特許
|
意匠
|
商標
特許ウォッチ
Twitter
他の特許を見る
公開番号
2025123714
公報種別
公開特許公報(A)
公開日
2025-08-25
出願番号
2024019344
出願日
2024-02-13
発明の名称
印刷装置
出願人
カシオ計算機株式会社
代理人
インフォート弁理士法人
主分類
B41J
11/04 20060101AFI20250818BHJP(印刷;線画機;タイプライター;スタンプ)
要約
【課題】被印刷媒体に対するプラテンローラの接触位置のずれを抑制して、印字品質に優れた印刷装置を提供する。
【解決手段】被印刷媒体(T)に印刷を行う印刷部(11)と、被印刷媒体を印刷部と共に挟持しながら搬送するプラテンローラ(12)を含むプラテンローラ構成部(20)と、を備え、プラテンローラ構成部は、第1の回転軸(26)を中心として回転するベース回転部(21)と、プラテンローラと共にベース回転部と連動して回転し、さらに第2の回転軸(27)を中心に回転することでプラテンローラの位置を調整するプラテンローラ調整部(22)と、を含む。
【選択図】図6
特許請求の範囲
【請求項1】
被印刷媒体に印刷を行う印刷部と、
前記被印刷媒体を前記印刷部と共に挟持しながら搬送するプラテンローラを含むプラテンローラ構成部と、を備え、
前記プラテンローラ構成部は、
第1の回転軸を中心として回転するベース回転部と、
前記プラテンローラと共に前記ベース回転部と連動して回転し、さらに第2の回転軸を中心に回転することで前記プラテンローラの位置を調整するプラテンローラ調整部と、を含む
ことを特徴とする印刷装置。
続きを表示(約 500 文字)
【請求項2】
前記被印刷媒体を挟持する状態で、前記第2の回転軸は、前記被印刷媒体の厚みの方向において、前記プラテンローラを回転させるための第3の回転軸と同じ位置に配置されることを特徴とする請求項1に記載の印刷装置。
【請求項3】
前記第2の回転軸は、前記被印刷媒体を搬送する搬送方向において、前記第1の回転軸と前記第3の回転軸との間に配置されることを特徴とする請求項2に記載の印刷装置。
【請求項4】
前記ベース回転部に対して、前記プラテンローラを前記印刷部に接近させる方向に前記プラテンローラ調整部を付勢する付勢部材を備え、
前記ベース回転部は、前記プラテンローラを前記印刷部に接近させる方向への前記プラテンローラ調整部の移動範囲を制限する移動制限部を備えることを特徴とする請求項1又は2に記載の印刷装置。
【請求項5】
前記プラテンローラ構成部は、前記第2の回転軸を中心として回転するギヤを備え、前記被印刷媒体を挟持する状態で、前記ギヤを経由して前記プラテンローラに回転力を伝達することを特徴とする請求項1又は2に記載の印刷装置。
発明の詳細な説明
【技術分野】
【0001】
本発明は、印刷装置に関する。
続きを表示(約 1,700 文字)
【背景技術】
【0002】
ラベルプリンタ等の印刷装置では、印刷ヘッドとプラテンローラとの間に、帯状のテープ等の被印刷媒体を挟持し、プラテンローラによって被印刷媒体を印刷ヘッドに押し付けた状態で印刷を行う。このような印刷装置において印刷ヘッドとプラテンローラとの間隔を変更可能にする構成として、特許文献1に記載のように、プラテンローラの回転軸と平行な回転軸を中心として回転可能に支持されたアームを備え、アームを介してプラテンローラを移動させるものが知られている。
【先行技術文献】
【特許文献】
【0003】
特開2023-46484号公報
【発明の概要】
【発明が解決しようとする課題】
【0004】
印刷装置で印刷する際に、プラテンローラは、印刷ヘッドに対して被印刷媒体を適切な位置で押し付ける必要がある。例えば、印刷ヘッドがサーマルヘッドの場合に、サーマルヘッドの発熱素子からずれた位置でプラテンローラが被印刷媒体を押し付けていると、発熱素子を加温した際に被印刷媒体に適切に伝熱されずに印字不良が発生するおそれがある。
【0005】
ラベルプリンタ等の印刷装置では、厚みが異なる複数種類の被印刷媒体に切り替えて印刷を行う場合がある。そして、厚みが異なる被印刷媒体に対応するようにプラテンローラの位置調整(印刷ヘッドに対する間隔調整)を行う際に、被印刷媒体に対するプラテンローラの接触位置がずれてしまうおそれがある。被印刷媒体に対するプラテンローラの接触位置のずれは、上記のような印字不良の原因となる。
【0006】
本発明は、以上の問題点に鑑みてなされたものであり、被印刷媒体に対するプラテンローラの接触位置のずれを抑制して、印字品質に優れた印刷装置を提供することを目的とする。
【課題を解決するための手段】
【0007】
本発明の一態様の印刷装置は、被印刷媒体に印刷を行う印刷部と、前記被印刷媒体を前記印刷部と共に挟持しながら搬送するプラテンローラを含むプラテンローラ構成部と、を備え、前記プラテンローラ構成部は、第1の回転軸を中心として回転するベース回転部と、前記プラテンローラと共に前記ベース回転部と連動して回転し、さらに第2の回転軸を中心に回転することで前記プラテンローラの位置を調整するプラテンローラ調整部と、を含むことを特徴とする。
【発明の効果】
【0008】
以上の態様によれば、被印刷媒体に対するプラテンローラの接触位置のずれを抑制して、印字品質に優れた印刷装置を得ることができる。
【図面の簡単な説明】
【0009】
印刷装置において印刷ヘッドとプラテンローラによってテープを挟持した状態の図である。
印刷装置においてプラテンローラを印刷ヘッドから離間させてテープの挟持を解除した状態の図である。
印刷ヘッドとプラテンローラによってテープを挟持した状態を拡大した断面図である。
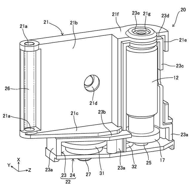
プラテンローラを含むローラユニットの斜視図である。
印刷ヘッドとプラテンローラによって標準厚みのテープを挟持した状態の断面図である。
印刷ヘッドとプラテンローラによって標準厚みよりも厚みが大きいテープを挟持した状態の断面図である。
【発明を実施するための形態】
【0010】
以下、本発明を実施するための形態について図面を参照しながら詳細に説明する。図1及び図2は、印刷装置10の内部構造を示している。印刷装置10は、帯状の被印刷媒体であるテープTを印刷ヘッド11とプラテンローラ12との間に挟持した状態で、印刷ヘッド11を用いてテープTに印刷を行ってラベルを作成するラベルプリンタの一種である。プラテンローラ12は、テープTを印刷ヘッド11と共に挟持しながら回転することによって、テープTを搬送する。
(【0011】以降は省略されています)
この特許をJ-PlatPat(特許庁公式サイト)で参照する
関連特許
カシオ計算機株式会社
減音器具
1日前
カシオ計算機株式会社
減音器具
1日前
カシオ計算機株式会社
装飾板及び時計
今日
カシオ計算機株式会社
光源装置及び投影装置
13日前
カシオ計算機株式会社
光源装置及び投影装置
1日前
カシオ計算機株式会社
光源装置及び投影装置
1日前
カシオ計算機株式会社
端末装置及びプログラム
1日前
カシオ計算機株式会社
電子機器、及び表示制御方法
3日前
カシオ計算機株式会社
演奏装置、方法およびプログラム
1日前
カシオ計算機株式会社
制御装置、方法およびプログラム
3日前
カシオ計算機株式会社
演奏装置、方法およびプログラム
今日
カシオ計算機株式会社
制御装置、方法およびプログラム
3日前
カシオ計算機株式会社
補助バスマスタ回路及び電子機器
3日前
カシオ計算機株式会社
制御装置、制御方法、及びプログラム
今日
カシオ計算機株式会社
情報処理装置、表示方法、及びプログラム
3日前
カシオ計算機株式会社
切断制御装置、切断制御方法及びプログラム
13日前
カシオ計算機株式会社
情報提供装置、情報提供方法及びプログラム
1日前
カシオ計算機株式会社
電子機器、電子機器の制御方法及びプログラム
3日前
カシオ計算機株式会社
電子時計、電子時計の制御方法及びプログラム
3日前
カシオ計算機株式会社
投影装置、投影装置の調整方法及びプログラム
今日
カシオ計算機株式会社
投影装置、投影装置の調整方法及びプログラム
今日
カシオ計算機株式会社
情報処理装置、表示制御方法、及び、プログラム
1日前
カシオ計算機株式会社
情報処理装置、電子楽器、方法およびプログラム
今日
カシオ計算機株式会社
情報処理装置、電子楽器、発音制御方法及びプログラム
3日前
カシオ計算機株式会社
キャリブレーション装置、及びキャリブレーション方法
3日前
カシオ計算機株式会社
鍵盤楽器
2日前
カシオ計算機株式会社
投影制御装置、投影制御システム、投影制御方法及びプログラム
今日
カシオ計算機株式会社
情報処理装置、情報処理システム、情報処理方法及びプログラム
3日前
カシオ計算機株式会社
電子機器、電子機器の動作制御方法、プログラム及び情報処理システム
3日前
カシオ計算機株式会社
鍵盤楽器の製造方法及び鍵盤楽器
2日前
カシオ計算機株式会社
印刷データ圧縮方法、印刷データ転送方法、印刷データ圧縮装置、及び、プログラム
7日前
カシオ計算機株式会社
教師データ生成装置、学習装置、及び、領域検出装置、プログラム、教師データの生成方法、領域推定器の学習方法、領域検出方法
1日前
個人
箔熱転写装置
22日前
シヤチハタ株式会社
印判
4か月前
シヤチハタ株式会社
反転式印判
8か月前
独立行政法人 国立印刷局
印刷物
6か月前
続きを見る
他の特許を見る