TOP
|
特許
|
意匠
|
商標
特許ウォッチ
Twitter
他の特許を見る
10個以上の画像は省略されています。
公開番号
2025125751
公報種別
公開特許公報(A)
公開日
2025-08-28
出願番号
2024021888
出願日
2024-02-16
発明の名称
塗装装置、及び塗装システム
出願人
株式会社リコー
代理人
個人
,
個人
主分類
B05C
11/10 20060101AFI20250821BHJP(霧化または噴霧一般;液体または他の流動性材料の表面への適用一般)
要約
【課題】ヘッドの洗浄性の低下を抑制する。
【解決手段】本発明の一態様に係る塗装装置は、それぞれが少なくとも1つのノズルを含み、前記ノズルから液体を吐出して塗装する第一のヘッドと第二のヘッドとを有し、前記第一のヘッド及び前記第二のヘッドそれぞれの、液体の吐出時間、前記ノズルの数、並びに一方のヘッドが吐出しているときの他方のヘッドの待機時間、の少なくともひとつに基づいて、前記第一のヘッドによる塗装と前記第二のヘッドによる塗装の順序を決定する。
【選択図】図5
特許請求の範囲
【請求項1】
それぞれが少なくとも1つのノズルを含み、前記ノズルから液体を吐出して塗装する第一のヘッドと第二のヘッドとを有し、
前記第一のヘッド及び前記第二のヘッドそれぞれの、液体の吐出時間、前記ノズルの数、並びに一方のヘッドが吐出しているときの他方のヘッドの待機時間、の少なくともひとつに基づいて、前記第一のヘッドによる塗装と前記第二のヘッドによる塗装の順序を決定する、塗装装置。
続きを表示(約 1,200 文字)
【請求項2】
前記第一のヘッドは、前記第一のヘッドの前記吐出時間、若しくは前記第二のヘッドの待機時間が前記第二のヘッドの前記吐出時間、若しくは前記第一のヘッドの待機時間よりも長い場合に、前記第二のヘッドよりも先に塗装し、
前記第二のヘッドは、前記第一のヘッドによる塗装の終了後に塗装する、請求項1に記載の塗装装置。
【請求項3】
前記第一のヘッドは、前記第二のヘッドが塗装を行った後に再度塗装する、請求項2に記載の塗装装置。
【請求項4】
前記第一のヘッドは、前記第一のヘッドの前記ノズルの数が前記第二のヘッドの前記ノズルの数よりも少ない場合に、前記第二のヘッドよりも先に塗装する、請求項1に記載の塗装装置。
【請求項5】
前記第一のヘッド及び前記第二のヘッドそれぞれによる液体の吐出を制御する制御部を有し、
前記制御部は、前記第一のヘッド及び前記第二のヘッドそれぞれの、前記吐出時間、前記ノズルの数、並びに一方のヘッドが吐出しているときの他方のヘッドの待機時間、の少なくともひとつに基づいて、前記第一のヘッドによる塗装と前記第二のヘッドによる塗装の順序を決定する、請求項1に記載の塗装装置。
【請求項6】
前記吐出時間とは、前記第一のヘッド及び前記第二のヘッドそれぞれにおける塗装時間を指し、前記待機時間とは、前記第一のヘッド及び前記第二のヘッドそれぞれにおける非塗装時間を指す、請求項1に記載の塗装装置。
【請求項7】
前記制御部は、ノズル乾燥度が閾値以下となるように塗装順序を決定する、請求項5に記載の塗装装置。
【請求項8】
前記第一のヘッドは、前記ノズルが設けられた第一のノズル面を含み、
前記第二のヘッドは、前記ノズルが設けられた第二のノズル面を含み、
前記第一のヘッド及び前記第二のヘッドは、前記第一のノズル面と前記第二のノズル面が異なる方向を向くように配置されている、請求項1に記載の塗装装置。
【請求項9】
前記第一のヘッド及び前記第二のヘッドに含まれる前記ノズルを覆うキャップ部材を含む維持回復部を有し、
前記維持回復部は、前記第一のヘッド及び前記第二のヘッドによる塗装の終了後に、キャップ部材により、前記第一のヘッド及び前記第二のヘッドのそれぞれに含まれる前記ノズルを覆う、請求項1に記載の塗装装置。
【請求項10】
請求項1から請求項8のいずれか1つに記載の塗装装置と、
前記第一のヘッド及び前記第二のヘッドに含まれる前記ノズルを覆うキャップ部材を含む維持回復部と、を有し、
前記維持回復部は、前記第一のヘッド及び前記第二のヘッドによる塗装の終了後に、キャップ部材により、前記第一のヘッド及び前記第二のヘッドのそれぞれに含まれる前記ノズルを覆う、塗装システム。
発明の詳細な説明
【技術分野】
【0001】
本発明は、塗装装置、及び塗装システムに関する。
続きを表示(約 2,400 文字)
【背景技術】
【0002】
ヘッドから塗装の対象物に液体を吐出して塗装を行う塗装装置が知られている。
【0003】
例えば、特許文献1には、それぞれが異なる方向に液体を吐出する複数のヘッドを有し、吐出するヘッドを、対象物の形状に合わせて使い分ける構成が開示されている。
【発明の概要】
【発明が解決しようとする課題】
【0004】
しかしながら、特許文献1の装置では、一方のヘッドが対象物に液体を吐出している間、他のヘッドは液体の吐出動作を実行していない。そのため、一方のヘッドの塗装動作後に、他のヘッドが塗装する場合、他のヘッドによる塗装が完了するまでの間、一方のヘッドのノズル面の乾燥が進むことでヘッドの洗浄性が低下する場合がある。
【0005】
本発明は、ヘッドの洗浄性の低下を抑制することを目的とする。
【課題を解決するための手段】
【0006】
本発明の一態様に係る塗装装置は、それぞれが少なくとも1つのノズルを含み、前記ノズルから液体を吐出して塗装する第一のヘッドと第二のヘッドとを有し、前記第一のヘッド及び前記第二のヘッドそれぞれの、液体の吐出時間、前記ノズルの数、並びに一方のヘッドが吐出しているときの他方のヘッドの待機時間、の少なくともひとつに基づいて、前記第一のヘッドによる塗装と前記第二のヘッドによる塗装の順序を決定する。
【発明の効果】
【0007】
本発明によれば、洗浄性の低下を抑制することができる。
【図面の簡単な説明】
【0008】
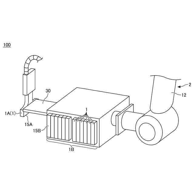
本発明の実施形態に係る塗装装置の全体構成を示す図である。
本発明の実施形態に係る塗装装置が備える液体供給部のより具体的な構成を示す図である。
本発明の実施形態に係る塗装装置が備えるヘッドの複数のノズルを含む断面図である。
本発明の実施形態に係る塗装装置のハードウェア構成を示すブロック図である。
本発明の実施形態に係る塗装装置が備えるコントローラの機能構成を示すブロック図である。
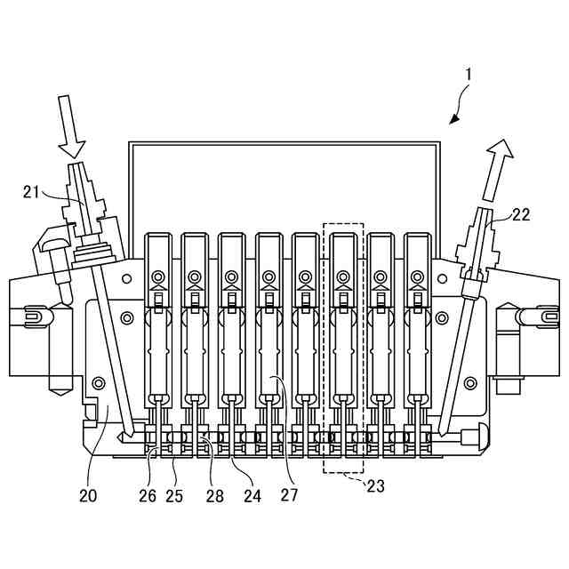
本発明の第一実施形態に係る塗装装置が備える第一のヘッド及び第二のヘッドを示す図である。
本発明の第一実施形態に係る塗装装置が塗装する対象物の構成例を示す図である。
本発明の第一実施形態に係る塗装装置における維持回復動作時の第一のヘッド及び第二のヘッドの状態を示す図である。
本発明の第一実施形態に係る塗装装置における維持回復動作時の維持回復部の状態を示す図である。
本発明の第一実施形態に係る塗装装置が備えるコントローラの機能構成を示すブロック図である。
本発明の第一実施形態に係る塗装装置が備える塗装ルート計画部による塗装ルート計画の作成動作を示すフローチャートである。
本発明の第一実施形態に係る塗装装置が備える塗装順序決定部による塗装順序の決定動作を示すフローチャートである。
本発明の第一実施形態に係る塗装装置による塗装及び維持回復動作の第一例を示すフローチャートである。
本発明の第一実施形態に係る塗装装置における第一のヘッドによる塗装と第二のヘッドによる塗装の順序と各ヘッドのノズル面に付着している液体の乾燥度との関係の第一例を示す図である。
本発明の第一実施形態に係る塗装装置による塗装及び維持回復動作の第二例を示すフローチャートである。
本発明の第一実施形態に係る塗装装置における第一のヘッドによる塗装と第二のヘッドによる塗装の順序と各ヘッドのノズル面に付着している液体の乾燥度との関係の第二例を示す図である。
本発明の第一実施形態に係る塗装装置による塗装及び維持回復動作の第三例を示すフローチャートである。
本発明の第一実施形態に係る塗装装置により使用される優先度パラメータを示す第1図である。
本発明の第一実施形態に係る塗装装置により使用される優先度パラメータを示す第2図である。
本発明の第一実施形態に係る塗装装置により使用される優先度パラメータを示す第3図である。
本発明の第一実施形態に係る塗装装置により使用される優先度パラメータを示す第4図である。
本発明の第二実施形態に係る塗装装置が備える第一のヘッド及び第二のヘッドを示す図である。
本発明の第二実施形態に係る塗装装置が備える第一のヘッド及び第二のヘッドによる塗装動作を示す第1図である。
本発明の第二実施形態に係る塗装装置が備える第一のヘッド及び第二のヘッドによる塗装動作を示す第2図である。
本発明の第二実施形態に係る塗装装置が備える第一のヘッド及び第二のヘッドによる塗装動作を示す第3図である。
【発明を実施するための形態】
【0009】
本発明の実施形態に係る塗装装置、及び塗装システムについて図面を参照しながら詳細に説明する。但し、以下に示す形態は、本発明の実施形態の技術思想を具現化するための塗装装置、及び塗装システムを例示するものであって、以下に限定するものではない。
【0010】
また、本発明の実施形態に記載されている構成部の寸法、材質、形状、その相対的配置等は、特定的な記載がない限り、本発明の実施形態の範囲をそれのみに限定する趣旨ではなく、単なる説明例にすぎない。なお、各図面が示す部材の大きさ、位置関係等は、説明を明確にするため誇張していることがある。また、以下の説明において、同一の名称、符号については同一もしくは同質の部材を示しており詳細説明を適宜省略する。
(【0011】以降は省略されています)
この特許をJ-PlatPat(特許庁公式サイト)で参照する
関連特許
株式会社リコー
移動体
12日前
株式会社リコー
感熱記録媒体
18日前
株式会社リコー
画像形成装置
17日前
株式会社リコー
画像形成システム
17日前
株式会社リコー
生体情報測定装置
18日前
株式会社リコー
液体を吐出する装置
18日前
株式会社リコー
電極及びその製造方法
19日前
株式会社リコー
印刷装置および印刷システム
17日前
株式会社リコー
液体吐出装置及び液体吐出方法
17日前
株式会社リコー
表示装置、切替方法、プログラム
3日前
株式会社リコー
パーソナライズビデオメカニズム
19日前
株式会社リコー
ベルト装置、及び、画像形成装置
17日前
株式会社リコー
システム、方法およびプログラム
17日前
株式会社リコー
媒体処理装置及び画像形成システム
18日前
株式会社リコー
媒体処理装置及び画像形成システム
17日前
株式会社リコー
媒体処理装置及び画像形成システム
17日前
株式会社リコー
液体吐出ヘッドおよび液体吐出装置
18日前
株式会社リコー
媒体処理装置及び画像形成システム
17日前
株式会社リコー
媒体処理装置及び画像形成システム
17日前
株式会社リコー
mRNA発現量の免疫学的評価方法
18日前
株式会社リコー
媒体処理装置及び画像形成システム
19日前
株式会社リコー
原稿処理装置、及び原稿処理システム
18日前
株式会社リコー
液滴形成装置及びゲル粒子の製造方法
19日前
株式会社リコー
処理剤液塗布装置および画像形成装置
17日前
株式会社リコー
シート給紙装置、および画像形成装置
17日前
株式会社リコー
光源装置、画像投影装置および調整方法
3日前
株式会社リコー
液体吐出ヘッド及び液体を吐出する装置
18日前
株式会社リコー
ノード、データ共有方法、及びプログラム
10日前
株式会社リコー
画像形成装置及び転写残トナーの回収方法
18日前
株式会社リコー
画像形成装置及び転写残トナーの回収方法
18日前
株式会社リコー
画像形成装置、及び、プロセスカートリッジ
3日前
株式会社リコー
投受光装置、測距システムおよびプログラム
18日前
株式会社リコー
画像形成装置、情報処理方法およびプログラム
17日前
株式会社リコー
面発光レーザ、レーザ装置、検出装置及び移動体
17日前
株式会社リコー
表示装置、表示方法、プログラム、表示システム
11日前
株式会社リコー
用紙処理装置、用紙処理方法、およびプログラム
17日前
続きを見る
他の特許を見る