TOP
|
特許
|
意匠
|
商標
特許ウォッチ
Twitter
他の特許を見る
公開番号
2025132567
公報種別
公開特許公報(A)
公開日
2025-09-10
出願番号
2024030228
出願日
2024-02-29
発明の名称
精算装置、セミセルフPOSシステム、方法及びプログラム
出願人
ステアリテール株式会社
代理人
個人
主分類
G07G
1/12 20060101AFI20250903BHJP(チェック装置)
要約
【課題】店員の作業を効率化できると共に、顧客による万引きのリスクを低減できる精算装置、セミセルフPOSシステム、方法及びプログラムを提供することを目的とする。
【解決手段】精算装置では、通信部は、店員の操作に基づいて顧客の購入商品を登録する登録装置と通信し、登録装置から購入商品の合計金額を受信する。情報取得部は、顧客から追加購入商品の要求を受け付けた後、顧客の操作に基づいて顧客の識別情報と追加購入商品の識別情報とを取得する。商品登録可否判定部は、顧客の識別情報に対応する顧客の信用情報に基づいて追加購入商品の登録を許可するか否かを判定する。商品登録部は、許可された場合、追加購入商品の識別情報を登録する。会計計算部は、購入商品の合計金額に追加購入商品の合計金額を加算した新たな購入商品の合計金額を計算する。精算部は、新たな購入商品の合計金額の精算を受け付ける。
【選択図】図1
特許請求の範囲
【請求項1】
店員の操作に基づいて顧客の購入商品の識別情報を登録して前記購入商品の合計金額を算出する登録装置と通信し、前記登録装置から前記購入商品の合計金額を受信する通信部と、
前記顧客から追加購入商品の要求を受け付けた後、前記顧客の操作に基づいて前記顧客の識別情報と前記追加購入商品の識別情報とを取得する情報取得部と、
予め記憶された情報から前記顧客の識別情報に対応する前記顧客の信用情報を取得し、前記顧客の信用情報に基づいて前記追加購入商品の登録を許可するか否かを判定する商品登録可否判定部と、
前記登録が許可された場合、前記追加購入商品の識別情報を登録する商品登録部と、
前記購入商品の合計金額に前記追加購入商品の合計金額を加算した新たな購入商品の合計金額を計算する会計計算部と、
前記新たな購入商品の合計金額の精算を前記顧客から受け付ける精算部と、を備える
精算装置。
続きを表示(約 2,100 文字)
【請求項2】
前記追加購入商品の購入が許可されなかった場合、前記登録装置において前記追加購入商品の登録を行う必要がある旨の案内メッセージを前記顧客に出力する案内部をさらに備える
請求項1に記載の精算装置。
【請求項3】
前記商品登録可否判定部は、
前記追加購入商品の識別情報と予め記憶された追加購入が認められない商品である追加購入不可商品の識別情報とが一致するか否かを判定し、判定結果に基づいて、前記追加購入商品の購入を許可するか否を判定する
請求項1に記載の精算装置。
【請求項4】
前記信用情報は、
前記顧客の過去の来店回数と前記顧客の過去の購入金額総額と前記顧客の過去の購入点数と前記顧客の過去の万引き歴との少なくとも1つを含む
請求項1に記載の精算装置。
【請求項5】
前記商品登録可否判定部は、
予め記憶された情報から前記顧客の識別情報に対応する前記顧客の信用情報を取得し、前記顧客の信用情報が基準を満たす場合は前記追加購入商品の登録を許可し、前記顧客の信用情報が前記基準を満たさない場合は前記追加購入商品の登録を許可しない
請求項1に記載の精算装置。
【請求項6】
前記商品登録可否判定部は、
前記追加購入商品の識別情報と予め記憶された追加購入不可商品の識別情報とが一致するか否かを判定し、前記一致しなかった追加購入商品の購入を許可し、前記一致した追加購入商品の購入を許可しない
請求項3に記載の精算装置。
【請求項7】
店員の操作に基づいて顧客の購入商品の識別情報を登録して前記購入商品の合計金額を算出する登録装置と、
前記登録装置とネットワークを介して接続し、前記登録装置から前記購入商品の合計金額を受信し、前記顧客の操作に基づいて前記購入商品の合計金額を精算する精算装置と、
前記精算装置とネットワークを介して接続し、前記顧客の識別情報と前記顧客の信用情報と紐づけて記憶するサーバと、を備え、
前記精算装置は、
前記顧客から追加購入商品の要求を受け付けた後、前記顧客の操作に基づいて前記顧客の識別情報と前記追加購入商品の識別情報とを取得する情報取得部と、
前記サーバから前記顧客の識別情報に対応する前記顧客の信用情報を取得し、前記顧客の信用情報に基づいて前記追加購入商品の登録を許可するか否かを判定する商品登録可否判定部と、
前記登録が許可された場合、前記追加購入商品の識別情報を登録する商品登録部と、
前記購入商品の合計金額に前記追加購入商品の合計金額を加算した新たな購入商品の合計金額を計算する会計計算部と、
前記新たな購入商品の合計金額の精算を前記顧客から受け付ける精算部と、を備える
セミセルフPOSシステム。
【請求項8】
前記精算装置は、
前記追加購入商品の購入が許可されなかった場合、前記登録装置において前記追加購入商品の登録を行う必要がある旨の案内メッセージを前記顧客に出力する案内部をさらに備える
請求項7に記載のセミセルフPOSシステム。
【請求項9】
コンピュータが、
店員の操作に基づいて顧客の購入商品の識別情報を登録して前記購入商品の合計金額を算出する登録装置と通信し、前記登録装置から前記購入商品の合計金額を受信し、
前記顧客から追加購入商品の要求を受け付けた後、前記顧客の操作に基づいて前記顧客の識別情報と前記追加購入商品の識別情報とを取得し、
予め記憶された情報から前記顧客の識別情報に対応する前記顧客の信用情報を取得し、前記顧客の信用情報に基づいて前記追加購入商品の登録を許可するか否かを判定し、
前記登録が許可された場合、前記追加購入商品の識別情報を登録し、
前記購入商品の合計金額に前記追加購入商品の合計金額を加算した新たな購入商品の合計金額を計算し、
前記新たな購入商品の合計金額の精算を前記顧客から受け付ける
方法。
【請求項10】
店員の操作に基づいて顧客の購入商品の識別情報を登録して前記購入商品の合計金額を算出する登録装置と通信し、前記登録装置から前記購入商品の合計金額を受信し、
前記顧客から追加購入商品の要求を受け付けた後、前記顧客の操作に基づいて前記顧客の識別情報と前記追加購入商品の識別情報とを取得し、
予め記憶された情報から前記顧客の識別情報に対応する前記顧客の信用情報を取得し、前記顧客の信用情報に基づいて前記追加購入商品の登録を許可するか否かを判定し、
前記登録が許可された場合、前記追加購入商品の識別情報を登録し、
前記購入商品の合計金額に前記追加購入商品の合計金額を加算した新たな購入商品の合計金額を計算し、
前記新たな購入商品の合計金額の精算を前記顧客から受け付ける処理をコンピュータに実行させる
プログラム。
発明の詳細な説明
【技術分野】
【0001】
本発明は、精算装置、セミセルフPOSシステム、方法及びプログラム。
続きを表示(約 2,200 文字)
【背景技術】
【0002】
セミセルフPOSシステムは、スーパーマーケット等の会計において利用される。セミセルフPOSシステムは、店員の操作によって顧客の購入商品を登録する登録装置と、当該顧客の操作によって登録された購入商品の精算を行う精算装置を備える。
【0003】
特許文献1には、セミセルフPOSシステムの一例が開示されている。具体的には、特許文献1では、顧客の追加購入商品(つまり、登録装置によって購入商品が登録された後、精算装置において当該購入商品に追加される購入商品)があった場合、精算装置は顧客の操作によって追加購入商品のバーコード画像を撮影する。そして、登録装置は店員の操作によって当該撮影された画像から当該追加購入商品の登録を行う。
【先行技術文献】
【特許文献】
【0004】
特許第7359483号公報
【発明の概要】
【発明が解決しようとする課題】
【0005】
特許文献1に係る技術では、顧客の追加購入商品がある場合、店員による登録装置における追加購入商品の登録作業が必要である。そのため、特許文献1では、店員の作業(例えば作業量や作業時間)の効率化に課題があった。
【0006】
ここで、店員の作業の効率化を目指すとなると、精算装置側で顧客自身による追加購入商品の登録ができるようにすることが考えられる。しかし、そうした場合、顧客に精算対応を委任するため、顧客による万引きのリスクが高くなるという課題があった。
【0007】
本開示は、そのような課題を鑑みることによって、店員の作業を効率化できると共に、顧客による万引きのリスクを低減できる精算装置、セミセルフPOSシステム、方法及びプログラムを提供することを目的とする。
【課題を解決するための手段】
【0008】
本開示の精算装置は、
店員の操作に基づいて顧客の購入商品の識別情報を登録して前記購入商品の合計金額を算出する登録装置と通信し、前記登録装置から前記購入商品の合計金額を受信する通信部と、
前記顧客から追加購入商品の要求を受け付けた後、前記顧客の操作に基づいて前記顧客の識別情報と前記追加購入商品の識別情報とを取得する情報取得部と、
予め記憶された情報から前記顧客の識別情報に対応する前記顧客の信用情報を取得し、前記顧客の信用情報に基づいて前記追加購入商品の登録を許可するか否かを判定する商品登録可否判定部と、
前記登録が許可された場合、前記追加購入商品の識別情報を登録する商品登録部と、
前記購入商品の合計金額に前記追加購入商品の合計金額を加算した新たな購入商品の合計金額を計算する会計計算部と、
前記新たな購入商品の合計金額の精算を前記顧客から受け付ける精算部と、を備える。
【0009】
本開示のセミセルフPOSシステムは、
店員の操作に基づいて顧客の購入商品の識別情報を登録して前記購入商品の合計金額を算出する登録装置と、
前記登録装置とネットワークを介して接続し、前記登録装置から前記購入商品の合計金額を受信し、前記顧客の操作に基づいて前記購入商品の合計金額を精算する精算装置と、
前記精算装置とネットワークを介して接続し、前記顧客の識別情報と前記顧客の信用情報と紐づけて記憶するサーバと、を備え、
前記精算装置は、
前記顧客から追加購入商品の要求を受け付けた後、前記顧客の操作に基づいて前記顧客の識別情報と前記追加購入商品の識別情報とを取得する情報取得部と、
前記サーバから前記顧客の識別情報に対応する前記顧客の信用情報を取得し、前記顧客の信用情報に基づいて前記追加購入商品の登録を許可するか否かを判定する商品登録可否判定部と、
前記登録が許可された場合、前記追加購入商品の識別情報を登録する商品登録部と、
前記購入商品の合計金額に前記追加購入商品の合計金額を加算した新たな購入商品の合計金額を計算する会計計算部と、
前記新たな購入商品の合計金額の精算を前記顧客から受け付ける精算部と、を備える。
【0010】
本開示の方法は、
コンピュータが、
店員の操作に基づいて顧客の購入商品の識別情報を登録して前記購入商品の合計金額を算出する登録装置と通信し、前記登録装置から前記購入商品の合計金額を受信し、
前記顧客から追加購入商品の要求を受け付けた後、前記顧客の操作に基づいて前記顧客の識別情報と前記追加購入商品の識別情報とを取得し、
予め記憶された情報から前記顧客の識別情報に対応する前記顧客の信用情報を取得し、前記顧客の信用情報に基づいて前記追加購入商品の登録を許可するか否かを判定し、
前記登録が許可された場合、前記追加購入商品の識別情報を登録し、
前記購入商品の合計金額に前記追加購入商品の合計金額を加算した新たな購入商品の合計金額を計算し、
前記新たな購入商品の合計金額の精算を前記顧客から受け付ける。
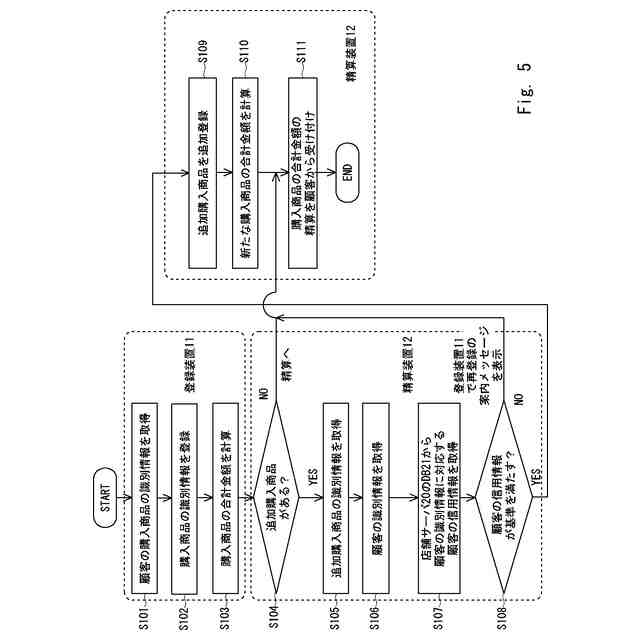
(【0011】以降は省略されています)
この特許をJ-PlatPat(特許庁公式サイト)で参照する
関連特許
株式会社イシダ
商品処理装置
5日前
株式会社バンダイ
物品供給装置
3か月前
株式会社バンダイ
物品供給装置
2か月前
株式会社バンダイ
物品供給装置
2か月前
株式会社バンダイ
物品供給装置
2か月前
株式会社バンダイ
物品供給装置
3か月前
株式会社バンダイ
物品供給装置
3か月前
株式会社バンダイ
物品供給装置
2か月前
富士電機株式会社
通貨識別装置
2か月前
沖電気工業株式会社
媒体処理装置
1か月前
沖電気工業株式会社
紙幣処理装置
1か月前
沖電気工業株式会社
媒体処理装置
1か月前
沖電気工業株式会社
媒体処理装置
1か月前
富士電機株式会社
自動販売機
1か月前
株式会社ライト
情報処理装置
1か月前
株式会社ライト
情報処理装置
2か月前
株式会社ライト
情報処理装置
1か月前
株式会社デンソー
車載器
3日前
富士電機株式会社
金銭処理装置
2か月前
トヨタ車体株式会社
出入検知装置
3か月前
トヨタ車体株式会社
出入検知装置
3か月前
グローリー株式会社
硬貨処理装置
2か月前
グローリー株式会社
物品投出装置
27日前
日本金銭機械株式会社
硬貨処理装置
7日前
株式会社トイスピリッツ
景品提供システム
1か月前
日本金銭機械株式会社
硬貨処理装置
7日前
トヨタ自動車株式会社
記録装置
3か月前
パイオニア株式会社
ドライブレコーダ
3か月前
ユニティガードシステム株式会社
入館監視システム
1か月前
沖電気工業株式会社
媒体処理装置
3か月前
沖電気工業株式会社
媒体処理装置
1か月前
沖電気工業株式会社
現金処理装置
1か月前
沖電気工業株式会社
現金処理装置及び印字装置
17日前
沖電気工業株式会社
棒金収納装置
4日前
沖電気工業株式会社
媒体処理装置
3か月前
沖電気工業株式会社
棒金収納装置
1か月前
続きを見る
他の特許を見る