TOP
|
特許
|
意匠
|
商標
特許ウォッチ
Twitter
他の特許を見る
公開番号
2025135295
公報種別
公開特許公報(A)
公開日
2025-09-18
出願番号
2024033060
出願日
2024-03-05
発明の名称
電磁リレー
出願人
トヨタ自動車株式会社
代理人
弁理士法人酒井国際特許事務所
主分類
H01H
50/00 20060101AFI20250910BHJP(基本的電気素子)
要約
【課題】装置全体の小型化と製造コストの低減を図ることができる電磁リレーを提供すること。
【解決手段】電磁リレーは、インバータと電池との間に設けられ、通常リレーと抵抗付きのプリチャージリレーとが統合された構造を有し、接点をスライドさせることにより、通常リレーとプリチャージリレーとが切り替え可能に構成されている。
【選択図】図1
特許請求の範囲
【請求項1】
インバータと電池との間に設けられ、
通常リレーと抵抗付きのプリチャージリレーとが統合された構造を有し、
接点をスライドさせることにより、前記通常リレーと前記プリチャージリレーとが切り替え可能に構成されている、
電磁リレー。
発明の詳細な説明
【技術分野】
【0001】
本開示は、電磁リレーに関する。
続きを表示(約 1,200 文字)
【背景技術】
【0002】
特許文献1には、電磁リレーの絶縁構造が開示されている。
【先行技術文献】
【特許文献】
【0003】
特開2010-198958号公報
【発明の概要】
【発明が解決しようとする課題】
【0004】
特許文献1で開示された構成では、独立した接点ごとに絶縁を確保する必要があるため、絶縁構造に改良の余地がある。また、特許文献1で開示された構成では、装置全体が大型化し、製造コストが増大する可能性がある。
【0005】
本開示は、上記に鑑みてなされたものであって、装置全体の小型化と製造コストの低減を図ることができる電磁リレーを提供することを目的とする。
【課題を解決するための手段】
【0006】
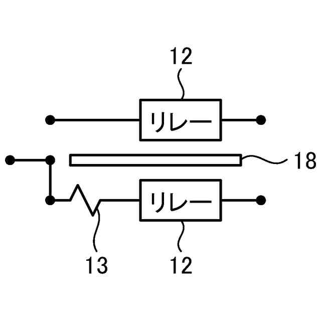
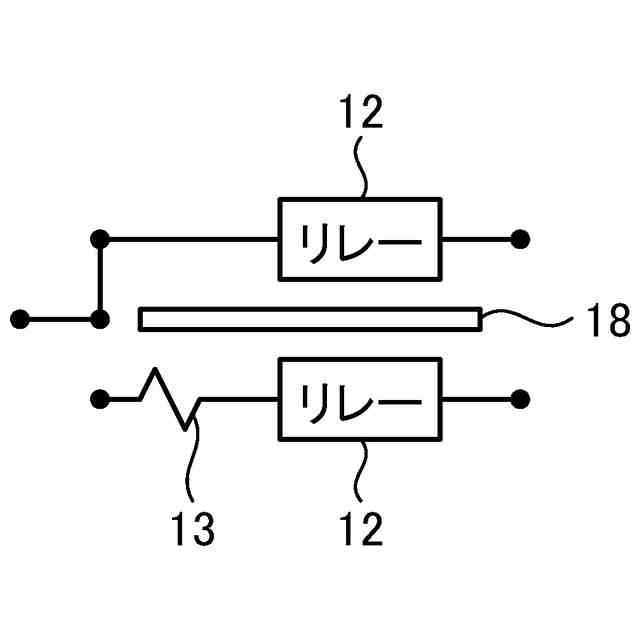
本開示に係る電磁リレーは、インバータと電池との間に設けられ、通常リレーと抵抗付きのプリチャージリレーとが統合された構造を有し、接点をスライドさせることにより、前記通常リレーと前記プリチャージリレーとが切り替え可能に構成されている。
【発明の効果】
【0007】
本開示によれば、通常リレーと抵抗付きのプリチャージリレーとを統合することにより、装置全体の小型化と製造コストの低減を図ることができる。
【図面の簡単な説明】
【0008】
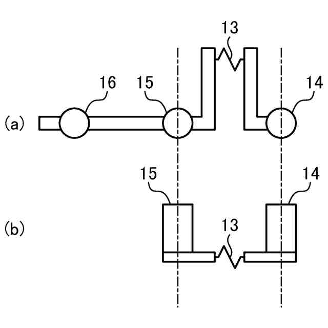
図1は、実施形態に係る電磁リレーの構成を示す概略図であり、リレーが第一のスライド位置に位置している場合を示す図である。
図2は、実施形態に係る電磁リレーの構成を示す概略図であり、リレーが第二のスライド位置に位置している場合を示す図である。
図3は、実施形態に係る電磁リレーにおいて、リレーが第一のスライド位置に位置している場合を示す図である。
図4は、実施形態に係る電磁リレーにおいて、リレーが第二のスライド位置に位置している場合を示す図である。
図5は、従来の電磁リレーにおいて、リレーが第一のスライド位置に位置している場合を示す図である。
図6は、従来の電磁リレーにおいて、リレーが第二のスライド位置に位置している場合を示す図である。
【発明を実施するための形態】
【0009】
本開示の実施形態に係る電磁リレーについて、図面を参照しながら説明する。なお、下記実施形態における構成要素には、当業者が置換可能かつ容易なもの、あるいは実質的に同一のものが含まれる。
【0010】
実施形態に係る電磁リレーは、例えばハイブリッド車(HEV:Hybrid Electric Vehicle)、プラグインハイブリッド車(PHEV:Plug-in Hybrid Electric Vehicle)、電気自動車(BEV:Battery Electric Vehicle)等に搭載される。
(【0011】以降は省略されています)
この特許をJ-PlatPat(特許庁公式サイト)で参照する
関連特許
トヨタ自動車株式会社
車両
2日前
トヨタ自動車株式会社
電池
2日前
トヨタ自動車株式会社
車両
12日前
トヨタ自動車株式会社
電動車
12日前
トヨタ自動車株式会社
サーバ
6日前
トヨタ自動車株式会社
電動車
今日
トヨタ自動車株式会社
ロータ
今日
トヨタ自動車株式会社
内燃機関
12日前
トヨタ自動車株式会社
制御装置
12日前
トヨタ自動車株式会社
電動車両
12日前
トヨタ自動車株式会社
電動車両
12日前
トヨタ自動車株式会社
蓄電セル
今日
トヨタ自動車株式会社
加熱装置
12日前
トヨタ自動車株式会社
蓄電装置
2日前
トヨタ自動車株式会社
蓄電装置
12日前
トヨタ自動車株式会社
制御装置
2日前
トヨタ自動車株式会社
二次電池
2日前
トヨタ自動車株式会社
蓄電装置
2日前
トヨタ自動車株式会社
制御装置
12日前
トヨタ自動車株式会社
蓄電装置
6日前
トヨタ自動車株式会社
蓄電装置
2日前
トヨタ自動車株式会社
給電装置
12日前
トヨタ自動車株式会社
蓄電装置
2日前
トヨタ自動車株式会社
蓄電セル
今日
トヨタ自動車株式会社
制御装置
2日前
トヨタ自動車株式会社
蓄電装置
12日前
トヨタ自動車株式会社
冷却構造
5日前
トヨタ自動車株式会社
蓄電装置
2日前
トヨタ自動車株式会社
冷却装置
12日前
トヨタ自動車株式会社
検査装置
2日前
トヨタ自動車株式会社
制御装置
2日前
トヨタ自動車株式会社
塗布装置
今日
トヨタ自動車株式会社
蓄電装置
今日
トヨタ自動車株式会社
シート構造
2日前
トヨタ自動車株式会社
電気自動車
今日
トヨタ自動車株式会社
電池パック
6日前
続きを見る
他の特許を見る