TOP
|
特許
|
意匠
|
商標
特許ウォッチ
Twitter
他の特許を見る
公開番号
2025136243
公報種別
公開特許公報(A)
公開日
2025-09-19
出願番号
2024034567
出願日
2024-03-07
発明の名称
存在検知システム、存在判定装置および存在判定方法
出願人
太陽誘電株式会社
代理人
個人
,
個人
主分類
G01V
3/12 20060101AFI20250911BHJP(測定;試験)
要約
【課題】レイアウト変更などに対応した存在判定を可能とする。
【解決手段】一態様に係る存在検知システムは、検知対象の空間の一方に配備されて電波信号を送信する送信部と、上記空間の、上記一方に対する他方に配備されて上記電波信号を受信する受信部と、受信された上記電波信号の受信状態を示す第1のパラメータを閾値と比較して上記空間における物体の存在判定を行う存在判定部と、上記空間の第1の状態で受信された上記電波信号における上記第1のパラメータと、上記空間の第2の状態で受信された上記電波信号における上記第1のパラメータとに基づいて上記閾値を設定する設定部と、を備える。
【選択図】 図2
特許請求の範囲
【請求項1】
検知対象の空間の一方に配備されて電波信号を送信する送信部と、
前記空間の、前記一方に対する他方に配備されて前記電波信号を受信する受信部と、
受信された前記電波信号の受信状態を示す第1のパラメータを閾値と比較して前記空間における物体の存在判定を行う存在判定部と、
前記空間の第1の状態で受信された前記電波信号における前記第1のパラメータと、前記空間の第2の状態で受信された前記電波信号における前記第1のパラメータとに基づいて前記閾値を設定する設定部と、
を備える存在検知システム。
続きを表示(約 690 文字)
【請求項2】
前記空間の第3の状態で受信された前記電波信号における前記第1のパラメータに基づいて前記閾値を更新する更新部を更に備える請求項1に記載の存在検知システム。
【請求項3】
受信された前記電波信号の受信状態を示す第2のパラメータにより前記空間における浸水判定を行う浸水判定部を更に備える請求項1に記載の存在検知システム。
【請求項4】
前記第1のパラメータが前記電波信号の揺らぎ幅を示し、前記第2のパラメータが前記電波信号の受信強度を示す請求項3に記載の存在検知システム。
【請求項5】
検知対象の空間の一方から送信されて他方で受信された電波信号の受信状態を示す第1のパラメータを閾値と比較して前記空間における存在判定を行う存在判定部と、
前記空間の第1の状態で受信された前記電波信号における前記第1のパラメータと、前記空間の第2の状態で受信された前記電波信号における前記第1のパラメータとに基づいて前記閾値を設定する設定部と、
を備える存在判定装置。
【請求項6】
検知対象の空間の一方から送信されて他方で受信された電波信号の受信状態を示す第1のパラメータを閾値と比較して前記空間における物体の存在判定を行うステップと、
前記空間の第1の状態で受信された前記電波信号における前記第1のパラメータと、前記空間の第2の状態で受信された前記電波信号における前記第1のパラメータとに基づいて前記閾値を設定するステップと、
を有し、情報処理装置上で実行される存在判定方法。
発明の詳細な説明
【技術分野】
【0001】
本発明は、存在検知システム、存在判定装置および存在判定方法に関する。
続きを表示(約 1,800 文字)
【背景技術】
【0002】
従来、室内などの空間内におけるマルチパス環境において電波の受信信号強度が空間内の人の動きによって変動する現象を利用して、空間内に人が存在するか否かを検知する存在検知システムが提案されている。
例えば特許文献1には、空間内に存在する人の活動状態を判別し、判別した結果に基づいて検知信号の通信頻度を増減させることにより、存在検知のための機器の消費電力を低減する技術が提案されている。
【先行技術文献】
【特許文献】
【0003】
特許第6342077号公報
【発明の概要】
【発明が解決しようとする課題】
【0004】
特許文献1に記載の技術では存在判定の閾値が固定値となっている。しかし、存在判定の閾値は、空間の広さや空間内の構造に応じて設定されることが望ましく、特許文献1に記載の技術では、例えば室内のレイアウト変更などに対応することが難しい。
上記事情に鑑み、本発明は、レイアウト変更などに対応した存在判定を可能とすることを目的とする。
【課題を解決するための手段】
【0005】
上記課題を解決するために、本発明の一態様に係る存在検知システムは、検知対象の空間の一方に配備されて電波信号を送信する送信部と、上記空間の、上記一方に対する他方に配備されて上記電波信号を受信する受信部と、受信された上記電波信号の受信状態を示す第1のパラメータを閾値と比較して上記空間における物体の存在判定を行う存在判定部と、上記空間の第1の状態で受信された上記電波信号における上記第1のパラメータと、上記空間の第2の状態で受信された上記電波信号における上記第1のパラメータとに基づいて上記閾値を設定する設定部と、を備える。
【0006】
本発明の一態様に係る存在検知システムによれば、上記空間の第3の状態で受信された上記電波信号における上記第1のパラメータに基づいて上記閾値を更新する更新部を更に備える。
本発明の一態様に係る存在検知システムによれば、受信された上記電波信号の受信状態を示す第2のパラメータにより上記空間における浸水判定を行う浸水判定部を更に備える。
【0007】
本発明の一態様に係る存在検知システムによれば、上記第1のパラメータが上記電波信号の揺らぎを示し、上記第2のパラメータが上記電波信号の受信強度を示す。
本発明の一態様に係る存在判定装置は、検知対象の空間の一方から送信されて他方で受信された電波信号の受信状態を示す第1のパラメータを閾値と比較して上記空間における存在判定を行う存在判定部と、上記空間の第1の状態で受信された上記電波信号における上記第1のパラメータと、上記空間の第2の状態で受信された上記電波信号における上記第1のパラメータとに基づいて上記閾値を設定する設定部と、を備える。
【0008】
本発明の一態様に係る存在判定方法は、検知対象の空間の一方から送信されて他方で受信された電波信号の受信状態を示す第1のパラメータを閾値と比較して上記空間における物体の存在判定を行うステップと、上記空間の第1の状態で受信された上記電波信号における上記第1のパラメータと、上記空間の第2の状態で受信された上記電波信号における上記第1のパラメータとに基づいて上記閾値を設定するステップと、を有し、情報処理装置上で実行される。
【発明の効果】
【0009】
本発明によれば、レイアウト変更などに対応した存在判定が可能となる。
【図面の簡単な説明】
【0010】
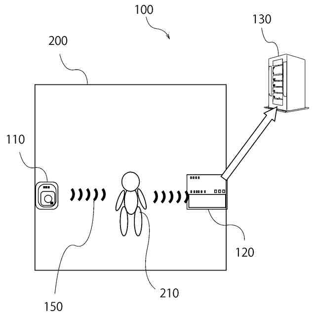
本発明の一実施形態に係る在室検知システムを模式的に示す図である。
サーバの機能構造を示すブロック図である。
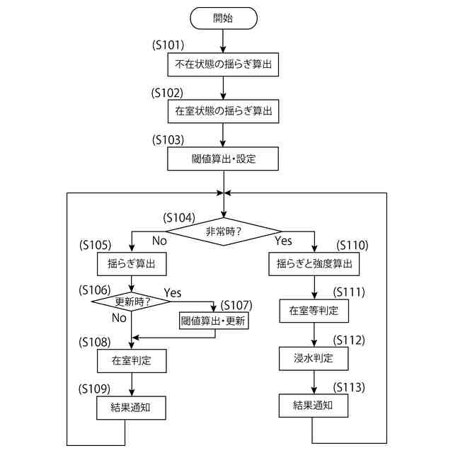
サーバの処理動作を示すフローチャートである。
不在状態における受信強度の揺らぎ幅の例を示す図である。
在室状態における受信強度の揺らぎ幅の例を示す図である。
初期設定における閾値の例を示す図である。
閾値の更新時に算出される揺らぎ幅の例を示す図である。
更新された閾値の例を示す図である。
床上浸水の状態の例を示す図である。
浸水時の信号の例を示すグラフである。
【発明を実施するための形態】
(【0011】以降は省略されています)
この特許をJ-PlatPat(特許庁公式サイト)で参照する
関連特許
太陽誘電株式会社
全固体電池
1日前
太陽誘電株式会社
導波路装置
1日前
太陽誘電株式会社
電動アシスト車の制御装置
1か月前
太陽誘電株式会社
導波路装置およびレーダ装置
1日前
太陽誘電株式会社
バッテリパック及び車両の制御装置
1日前
太陽誘電株式会社
特徴量取得装置および特徴量取得方法
15日前
太陽誘電株式会社
積層セラミックコンデンサ及び回路基板
5日前
太陽誘電株式会社
積層セラミックコンデンサ及び回路基板
8日前
太陽誘電株式会社
積層セラミックコンデンサ及び回路基板
5日前
太陽誘電株式会社
積層セラミック電子部品及びその製造方法
24日前
太陽誘電株式会社
圧電トランスデューサおよび電気音響装置
3日前
太陽誘電株式会社
電子部品の検査方法および電子部品の製造方法
5日前
太陽誘電株式会社
弾性波デバイス、フィルタ、及びマルチプレクサ
1日前
太陽誘電株式会社
存在検知システム、存在判定装置および存在判定方法
15日前
太陽誘電株式会社
多重モード型フィルタ、フィルタ、及びマルチプレクサ
1日前
太陽誘電株式会社
弾性波デバイス、フィルタ、及び弾性波デバイスの製造方法
15日前
太陽誘電株式会社
測位システム、測位装置、測位方法、および測位プログラム
24日前
太陽誘電株式会社
測位システム、測位装置、測位方法、および測位プログラム
24日前
太陽誘電株式会社
積層セラミック電子部品、及び積層セラミック電子部品の製造方法
1日前
太陽誘電株式会社
セラミック電子部品
4日前
太陽誘電株式会社
弾性波デバイス、フィルタ、マルチプレクサ、及び弾性波デバイスの製造方法
1日前
住友ベークライト株式会社
感応膜用組成物、感応膜、におい検出素子、および、においセンサー
8日前
住友ベークライト株式会社
感応膜用組成物、感応膜、におい検出素子、および、においセンサー
8日前
個人
計量スプーン
25日前
個人
微小振動検出装置
1か月前
株式会社イシダ
X線検査装置
1か月前
日本精機株式会社
位置検出装置
3日前
日本精機株式会社
位置検出装置
3日前
日本精機株式会社
位置検出装置
3日前
大和製衡株式会社
組合せ秤
8日前
大和製衡株式会社
組合せ秤
8日前
アズビル株式会社
圧力センサ
2日前
アンリツ株式会社
分光器
1か月前
株式会社東芝
センサ
1か月前
アンリツ株式会社
分光器
1か月前
トヨタ自動車株式会社
表示装置
17日前
続きを見る
他の特許を見る