TOP
|
特許
|
意匠
|
商標
特許ウォッチ
Twitter
他の特許を見る
10個以上の画像は省略されています。
公開番号
2025135988
公報種別
公開特許公報(A)
公開日
2025-09-19
出願番号
2024034114
出願日
2024-03-06
発明の名称
弾性波デバイス、フィルタ、及び弾性波デバイスの製造方法
出願人
太陽誘電株式会社
代理人
個人
主分類
H03H
9/25 20060101AFI20250911BHJP(基本電子回路)
要約
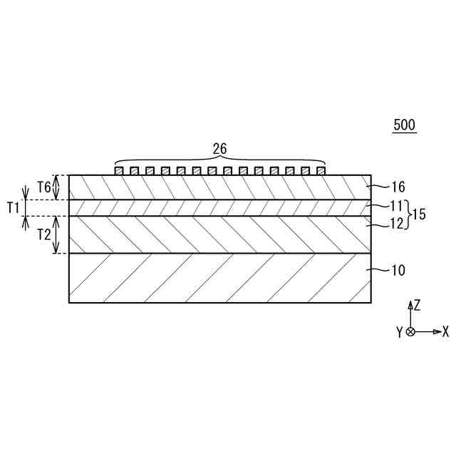
【課題】バルク波が外部に漏れることを抑制することが可能な弾性波デバイスを提供する。
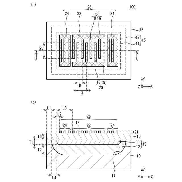
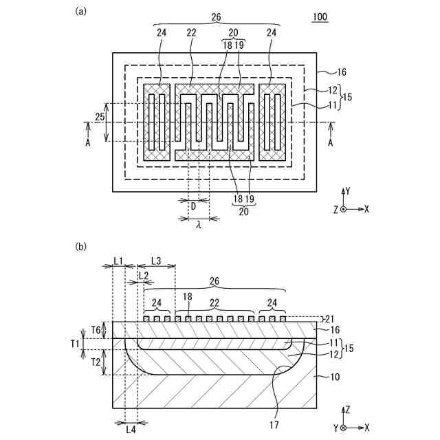
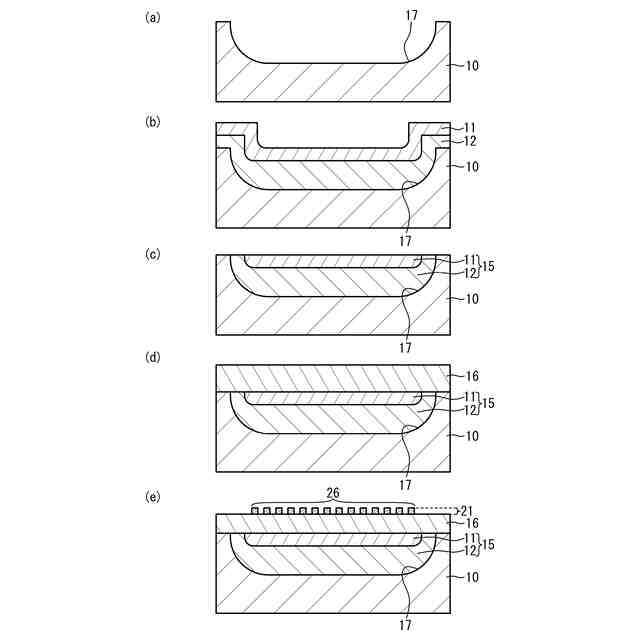
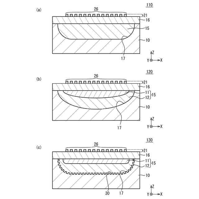
【解決手段】弾性波デバイス100は、凹部17を有する支持基板10と、凹部17に充填された絶縁膜15と、絶縁膜15上から支持基板10上にかけて設けられた圧電層16と、絶縁膜15に支持基板10の上方から見て重なって圧電層16上に設けられ、複数の電極指18を備える一対の櫛型電極20とを備える。弾性波デバイス100の製造方法は、支持基板10に凹部17を形成する工程と、凹部17に絶縁膜15を充填する工程と、絶縁膜15および支持基板10に圧電層16を直接接合する工程と、絶縁膜15に支持基板10の上方から見て重なるように圧電層16上に複数の電極指18を備える一対の櫛型電極20を形成する工程とを備える。
【選択図】図1
特許請求の範囲
【請求項1】
凹部を有する基板と、
前記凹部に充填された絶縁膜と、
前記絶縁膜上から前記基板上にかけて設けられた圧電層と、
前記絶縁膜に前記基板の上方から見て重なって前記圧電層上に設けられ、複数の電極指を備える一対の櫛型電極と、を備える弾性波デバイス。
続きを表示(約 970 文字)
【請求項2】
前記凹部の側壁の少なくとも一部は断面視において傾斜している、請求項1に記載の弾性波デバイス。
【請求項3】
前記圧電層の厚さは前記複数の電極指の平均ピッチの2倍以下である、請求項1または2に記載の弾性波デバイス。
【請求項4】
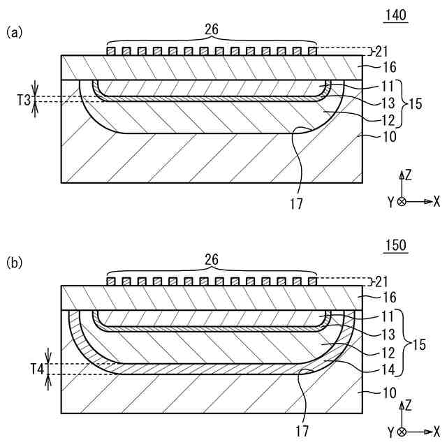
前記絶縁膜は、酸化シリコン膜またはフッ素、リン、もしくはボロンが添加された酸化シリコン膜であり、前記凹部の内面から離れかつ前記基板の上方から見て前記一対の櫛型電極に重なる第1膜と、前記凹部の内面と前記第1膜との間に設けられ、前記第1膜の周りを囲み、酸化アルミニウム膜、シリコン膜、窒化アルミニウム膜、窒化シリコン膜、または炭化シリコン膜である第2膜と、を含む、請求項1または2に記載の弾性波デバイス。
【請求項5】
前記凹部の内面は凹凸を有する、請求項1または2に記載の弾性波デバイス。
【請求項6】
前記基板は、前記凹部に隣接する他の凹部を有し、
前記他の凹部に充填された他の絶縁膜と、
前記他の絶縁膜に前記基板の上方から見て重なって前記圧電層上に設けられ、他の複数の電極指を備える他の一対の櫛型電極と、を備え、
前記複数の電極指および前記他の複数の電極指は、前記凹部と前記他の凹部が隣り合う方向に配列されている、請求項1または2に記載の弾性波デバイス。
【請求項7】
前記圧電層は、前記凹部と前記他の凹部との間で分断されている、請求項6に記載の弾性波デバイス。
【請求項8】
前記一対の櫛型電極上に空隙を介し設けられ、前記基板と同じ材料からなり、前記一対の櫛型電極を前記空隙中に封止するリッドをさらに備える、請求項1または2に記載の弾性波デバイス。
【請求項9】
請求項1または2に記載の弾性波デバイスを含むフィルタ。
【請求項10】
基板に凹部を形成する工程と、
前記凹部に絶縁膜を充填する工程と、
前記絶縁膜および前記基板に圧電層を直接接合する工程と、
前記絶縁膜に前記基板の上方から見て重なるように前記圧電層上に複数の電極指を備える一対の櫛型電極を形成する工程と、を備える弾性波デバイスの製造方法。
発明の詳細な説明
【技術分野】
【0001】
本発明は、弾性波デバイス、フィルタ、及び弾性波デバイスの製造方法に関する。
続きを表示(約 1,200 文字)
【背景技術】
【0002】
スマートフォン等の通信機器に用いられる弾性波デバイスとして弾性表面波共振器が知られている。弾性表面波共振器を形成する圧電基板を支持基板に接合することが知られている。圧電基板と支持基板との間に圧電基板より音速の低い低音速層を設けることが知られている(例えば特許文献1)。弾性表面波共振器を空隙内に封止する封止部を圧電基板上又は支持基板上に設けることが知られている(例えば特許文献2、3)。圧電基板を伝搬するバルク波が外部に漏れることを抑制するために、圧電基板に溝部を設けることが知られている(例えば特許文献4)。弾性表面波共振器の下方において支持基板に凹部を設ける構成や、凹部内に音響反射膜を設ける構成が知られている(例えば特許文献5、6)。
【先行技術文献】
【特許文献】
【0003】
特開2019-201345号公報
特開2006-246112号公報
特開2014-236387号公報
特開2004-336503号公報
国際公開第2016/052129号
特開2013-223025号公報
【発明の概要】
【発明が解決しようとする課題】
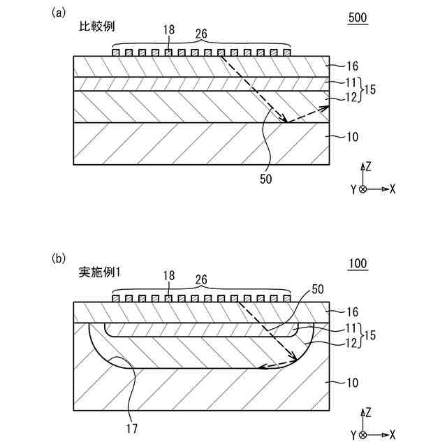
【0004】
基板上に温度補償膜等の絶縁膜を介して圧電層が設けられる場合、圧電層上の電極指が励振するバルク波が絶縁膜を伝搬して外部に漏れることがある。
【0005】
本発明は、上記課題に鑑みなされたものであり、バルク波が外部に漏れることを抑制することを目的とする。
【課題を解決するための手段】
【0006】
本発明は、凹部を有する基板と、前記凹部に充填された絶縁膜と、前記絶縁膜上から前記基板上にかけて設けられた圧電層と、前記絶縁膜に前記基板の上方から見て重なって前記圧電層上に設けられ、複数の電極指を備える一対の櫛型電極と、を備える弾性波デバイスである。
【0007】
上記構成において、前記凹部の側壁の少なくとも一部は断面視において傾斜している構成とすることができる。
【0008】
上記構成において、前記圧電層の厚さは前記複数の電極指の平均ピッチの2倍以下である構成とすることができる。
【0009】
上記構成において、前記絶縁膜は、酸化シリコン膜またはフッ素、リン、もしくはボロンが添加された酸化シリコン膜であり、前記凹部の内面から離れかつ前記基板の上方から見て前記一対の櫛型電極に重なる第1膜と、前記凹部の内面と前記第1膜との間に設けられ、前記第1膜の周りを囲み、酸化アルミニウム膜、シリコン膜、窒化アルミニウム膜、窒化シリコン膜、または炭化シリコン膜である第2膜と、を含む構成とすることができる。
【0010】
上記構成において、前記凹部の内面は凹凸を有する構成とすることができる。
(【0011】以降は省略されています)
この特許をJ-PlatPat(特許庁公式サイト)で参照する
関連特許
太陽誘電株式会社
全固体電池
2日前
太陽誘電株式会社
導波路装置
2日前
太陽誘電株式会社
感覚提示システム
1か月前
太陽誘電株式会社
積層セラミック電子部品
1か月前
太陽誘電株式会社
電動アシスト車の制御装置
1か月前
太陽誘電株式会社
フィルタ及びマルチプレクサ
1か月前
太陽誘電株式会社
導波路装置およびレーダ装置
2日前
太陽誘電株式会社
バッテリパック及び車両の制御装置
2日前
太陽誘電株式会社
特徴量取得装置および特徴量取得方法
16日前
太陽誘電株式会社
積層セラミックコンデンサ及び回路基板
1か月前
太陽誘電株式会社
積層セラミックコンデンサ及び回路基板
6日前
太陽誘電株式会社
積層セラミックコンデンサ及び回路基板
6日前
太陽誘電株式会社
積層セラミックコンデンサ及び回路基板
9日前
太陽誘電株式会社
積層セラミック電子部品及びその製造方法
25日前
太陽誘電株式会社
積層セラミック電子部品及びその製造方法
1か月前
太陽誘電株式会社
圧電トランスデューサおよび電気音響装置
4日前
太陽誘電株式会社
電子部品の検査方法および電子部品の製造方法
6日前
太陽誘電株式会社
弾性波デバイス、フィルタ、及びマルチプレクサ
2日前
太陽誘電株式会社
存在検知システム、存在判定装置および存在判定方法
16日前
太陽誘電株式会社
多重モード型フィルタ、フィルタ、及びマルチプレクサ
2日前
太陽誘電株式会社
弾性波デバイス、フィルタ、及び弾性波デバイスの製造方法
16日前
太陽誘電株式会社
測位システム、測位装置、測位方法、および測位プログラム
25日前
太陽誘電株式会社
測位システム、測位装置、測位方法、および測位プログラム
25日前
太陽誘電株式会社
積層セラミック電子部品、及び積層セラミック電子部品の製造方法
2日前
太陽誘電株式会社
セラミック電子部品
5日前
太陽誘電株式会社
弾性波デバイス、フィルタ、マルチプレクサ、及び弾性波デバイスの製造方法
1か月前
太陽誘電株式会社
弾性波デバイス、フィルタ、マルチプレクサ、及び弾性波デバイスの製造方法
1か月前
太陽誘電株式会社
弾性波デバイス、フィルタ、マルチプレクサ、及び弾性波デバイスの製造方法
2日前
住友ベークライト株式会社
感応膜用組成物、感応膜、におい検出素子、および、においセンサー
9日前
住友ベークライト株式会社
感応膜用組成物、感応膜、におい検出素子、および、においセンサー
9日前
太陽誘電株式会社
劣化検出装置、劣化検出システム、劣化検出方法、重量測定装置、重量測定方法およびプログラム
1か月前
エイブリック株式会社
増幅器
3日前
エイブリック株式会社
電圧検出器
1か月前
株式会社大真空
圧電振動デバイス
2か月前
日本電波工業株式会社
圧電デバイス
2か月前
株式会社トーキン
ノイズフィルタ
1か月前
続きを見る
他の特許を見る