TOP
|
特許
|
意匠
|
商標
特許ウォッチ
Twitter
他の特許を見る
10個以上の画像は省略されています。
公開番号
2025132040
公報種別
公開特許公報(A)
公開日
2025-09-10
出願番号
2024029352
出願日
2024-02-29
発明の名称
測位システム、測位装置、測位方法、および測位プログラム
出願人
太陽誘電株式会社
代理人
弁理士法人酒井国際特許事務所
主分類
G01S
5/14 20060101AFI20250903BHJP(測定;試験)
要約
【課題】受信装置の数を減らしても対象端末装置の位置を計測する。
【解決手段】測位システム1は、対象端末装置30と、受信装置20と、測位装置10と、を備える。対象端末装置30は、第1気圧計31と、第1気圧計31によって計測された第1気圧を含む電波を発信する発信部32と、を有する。受信装置20は、第2気圧計22と、電波を受信するアンテナ21と、受信した電波の受信角度、第2気圧計22によって計測された第2気圧、および電波に含まれる第1気圧、を含む計測結果情報を送信する送信部と、を有する。測位装置10は、計測結果情報に含まれる第1気圧、第2気圧、および受信角度に基づいて、対象端末装置30の位置を特定する特定部、を有する。
【選択図】図1
特許請求の範囲
【請求項1】
第1気圧計と、前記第1気圧計によって計測された第1気圧を含む電波を発信する発信部と、を有する対象端末装置と、
第2気圧計と、前記電波を受信するアンテナと、受信した前記電波の受信角度、前記第2気圧計によって計測された第2気圧、および前記電波に含まれる前記第1気圧、を含む計測結果情報を送信する送信部と、を有する受信装置と、
前記計測結果情報に含まれる前記第1気圧、前記第2気圧、および前記受信角度に基づいて、前記対象端末装置の位置を特定する特定部、を有する測位装置と、
を備える測位システム。
続きを表示(約 1,600 文字)
【請求項2】
前記測位装置の前記特定部は、
前記第1気圧と前記第2気圧との気圧差から、前記対象端末装置と前記受信装置との高さの差である高度差を計算し、
前記高度差と前記受信角度から、前記対象端末装置と前記受信装置との距離を計算することによって、前記高度差と前記距離によって規定される前記位置を特定する、
請求項1に記載の測位システム。
【請求項3】
前記受信装置は、
前記アンテナに対して水平方向における互いに異なる位置に配置された複数の前記第2気圧計を備え、
前記送信部は、
前記電波の受信角度から推定した前記対象端末装置に最も近い位置に配置された前記第2気圧計によって計測された前記第2気圧を含む前記計測結果情報を送信する、
請求項1に記載の測位システム。
【請求項4】
前記受信装置は、
前記アンテナに対して水平方向における互いに異なる位置に配置された複数の前記第2気圧計を備え、
前記送信部は、
前記電波の受信角度から推定した、前記アンテナに対する前記電波の到来方向に存在する前記第2気圧計によって計測された前記第2気圧を含む前記計測結果情報を送信する、
請求項1に記載の測位システム。
【請求項5】
前記受信装置の前記送信部は、前記第1気圧と前記第2気圧との気圧差を含む前記計測結果情報を送信し、
前記測位装置の前記特定部は、前記気圧差および前記受信角度に基づいて、前記対象端末装置の位置を特定する、
請求項1に記載の測位システム。
【請求項6】
前記測位装置は前記受信装置に設けられている、
請求項1に記載の測位システム。
【請求項7】
第1気圧計と前記第1気圧計によって計測された第1気圧を含む電波を発信する発信部とを有する対象端末装置から発信された前記電波を受信するアンテナと、第2気圧計と、受信した前記電波の受信角度、前記第2気圧計によって計測された第2気圧、および前記電波に含まれる前記第1気圧、を含む計測結果情報を送信する送信部と、を有する受信装置に通信可能に接続された測位装置であって、
前記計測結果情報に含まれる前記第1気圧、前記第2気圧、および前記受信角度に基づいて、前記対象端末装置の位置を特定する特定部、
を備える測位装置。
【請求項8】
第1気圧計と前記第1気圧計によって計測された第1気圧を含む電波を発信する発信部とを有する対象端末装置から発信された前記電波を受信するアンテナと、第2気圧計と、受信した前記電波の受信角度、前記第2気圧計によって計測された第2気圧、および前記電波に含まれる前記第1気圧、を含む計測結果情報を送信する送信部と、を有する受信装置に通信可能に接続された測位装置で実行される測位方法であって、
前記計測結果情報に含まれる前記第1気圧、前記第2気圧、および前記受信角度に基づいて、前記対象端末装置の位置を特定するステップ、
を含む測位方法。
【請求項9】
第1気圧計と前記第1気圧計によって計測された第1気圧を含む電波を発信する発信部とを有する対象端末装置から発信された前記電波を受信するアンテナと、第2気圧計と、受信した前記電波の受信角度、前記第2気圧計によって計測された第2気圧、および前記電波に含まれる前記第1気圧、を含む計測結果情報を送信する送信部と、を有する受信装置に通信可能に接続されたコンピュータで実行される測位プログラムであって、
前記計測結果情報に含まれる前記第1気圧、前記第2気圧、および前記受信角度に基づいて、前記対象端末装置の位置を特定するステップ、
を含む測位プログラム。
発明の詳細な説明
【技術分野】
【0001】
本発明の実施形態は、測位システム、測位装置、測位方法、および測位プログラムに関する。
続きを表示(約 1,400 文字)
【背景技術】
【0002】
ビーコン等の対象端末装置から発せられた電波を受信し、受信した電波に基づいて測位対象端末装置の位置を測位するシステムが知られている。例えば、電波を受信するアンテナを備えたロケータ等の受信装置を予め複数設置し、複数の受信装置の各々で受信した電波および複数の受信装置の各々の位置情報に基づいて対象端末装置の位置を計測するシステムが知られている。
【先行技術文献】
【特許文献】
【0003】
特開2009-216474号公報
【発明の概要】
【発明が解決しようとする課題】
【0004】
しかし、従来技術では、対象端末装置の位置を計測するためには、複数の受信装置の各々の位置や傾き等を予め高精度に調整して設置する必要があった。また、従来技術では、受信装置の数を減らすと、対象端末装置の位置の計測が困難となる場合があった。
【0005】
本発明が解決しようとする課題は、受信装置の数を減らしても対象端末装置の位置を計測可能な測位システム、測位装置、測位方法、および測位プログラムを提供することである。
【課題を解決するための手段】
【0006】
実施形態の測位システムは、対象端末装置と、受信装置と、測位装置と、を備える。対象端末装置は、第1気圧計と、前記第1気圧計によって計測された第1気圧を含む電波を発信する発信部と、を有する。受信装置は、第2気圧計と、前記電波を受信するアンテナと、受信した前記電波の受信角度、前記第2気圧計によって計測された第2気圧、および前記電波に含まれる前記第1気圧、を含む計測結果情報を送信する送信部と、を有する。測位装置は、前記計測結果情報に含まれる前記第1気圧、前記第2気圧、および前記受信角度に基づいて、前記対象端末装置の位置を特定する特定部、を有する。
【発明の効果】
【0007】
本開示に係る測位システム、測位装置、測位方法、および測位プログラムによれば、受信装置の数を減らしても対象端末装置の位置を計測することができる。
【図面の簡単な説明】
【0008】
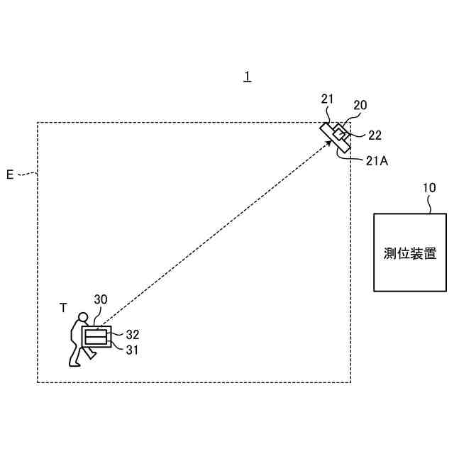
図1は、実施形態の測位システムの一例を示す模式図である。
図2は、実施形態の対象端末装置の機能的構成の一例を示すブロック図である。
図3は、受信装置の機能的構成の一例を示すブロック図である。
図4は、測位装置の機能的構成の一例を示すブロック図である。
図5は、対象端末装置の位置特定の一例の説明図である。
図6は、実施形態の受信装置が実行する情報処理の流れの一例を示すフローチャートである。
図7は、実施形態の測位装置が実行する情報処理の流れの一例を示すフローチャートである。
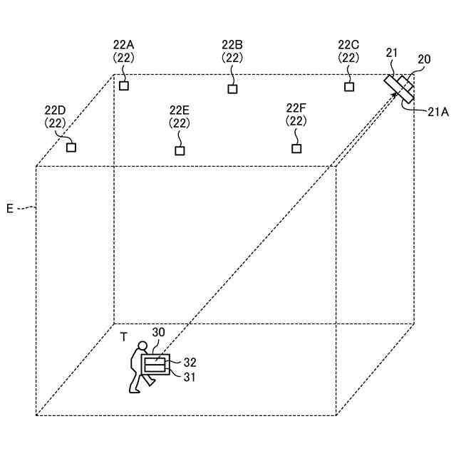
図8は、変形例の説明図である。
図9は、変形例の受信装置の機能的構成の一例を示すブロック図である。
図10は、ハードウェア構成図である。
【発明を実施するための形態】
【0009】
以下に添付図面を参照して、測位システム、測位装置、測位方法、および測位プログラムの一の実施形態を詳細に説明する。
【0010】
図1は、本実施形態の測位システム1の一例を示す模式図である。
(【0011】以降は省略されています)
この特許をJ-PlatPat(特許庁公式サイト)で参照する
関連特許
太陽誘電株式会社
全固体電池
今日
太陽誘電株式会社
導波路装置
今日
太陽誘電株式会社
感覚提示システム
1か月前
太陽誘電株式会社
積層セラミック電子部品
1か月前
太陽誘電株式会社
電動アシスト車の制御装置
1か月前
太陽誘電株式会社
フィルタ及びマルチプレクサ
1か月前
太陽誘電株式会社
導波路装置およびレーダ装置
今日
太陽誘電株式会社
バッテリパック及び車両の制御装置
今日
太陽誘電株式会社
特徴量取得装置および特徴量取得方法
14日前
太陽誘電株式会社
積層セラミックコンデンサ及び回路基板
1か月前
太陽誘電株式会社
積層セラミックコンデンサ及び回路基板
4日前
太陽誘電株式会社
積層セラミックコンデンサ及び回路基板
4日前
太陽誘電株式会社
積層セラミックコンデンサ及び回路基板
7日前
太陽誘電株式会社
積層セラミック電子部品及びその製造方法
23日前
太陽誘電株式会社
積層セラミック電子部品及びその製造方法
1か月前
太陽誘電株式会社
圧電トランスデューサおよび電気音響装置
2日前
太陽誘電株式会社
電子部品の検査方法および電子部品の製造方法
4日前
太陽誘電株式会社
弾性波デバイス、フィルタ、及びマルチプレクサ
今日
太陽誘電株式会社
存在検知システム、存在判定装置および存在判定方法
14日前
太陽誘電株式会社
多重モード型フィルタ、フィルタ、及びマルチプレクサ
今日
太陽誘電株式会社
弾性波デバイス、フィルタ、及び弾性波デバイスの製造方法
14日前
太陽誘電株式会社
測位システム、測位装置、測位方法、および測位プログラム
23日前
太陽誘電株式会社
測位システム、測位装置、測位方法、および測位プログラム
23日前
太陽誘電株式会社
積層セラミック電子部品、及び積層セラミック電子部品の製造方法
今日
太陽誘電株式会社
セラミック電子部品
3日前
太陽誘電株式会社
弾性波デバイス、フィルタ、マルチプレクサ、及び弾性波デバイスの製造方法
1か月前
太陽誘電株式会社
弾性波デバイス、フィルタ、マルチプレクサ、及び弾性波デバイスの製造方法
1か月前
太陽誘電株式会社
弾性波デバイス、フィルタ、マルチプレクサ、及び弾性波デバイスの製造方法
今日
住友ベークライト株式会社
感応膜用組成物、感応膜、におい検出素子、および、においセンサー
7日前
住友ベークライト株式会社
感応膜用組成物、感応膜、におい検出素子、および、においセンサー
7日前
太陽誘電株式会社
劣化検出装置、劣化検出システム、劣化検出方法、重量測定装置、重量測定方法およびプログラム
1か月前
個人
計量スプーン
24日前
個人
微小振動検出装置
1か月前
株式会社イシダ
X線検査装置
1か月前
日本精機株式会社
位置検出装置
2日前
日本精機株式会社
位置検出装置
2日前
続きを見る
他の特許を見る