TOP
|
特許
|
意匠
|
商標
特許ウォッチ
Twitter
他の特許を見る
10個以上の画像は省略されています。
公開番号
2025136558
公報種別
公開特許公報(A)
公開日
2025-09-19
出願番号
2024035219
出願日
2024-03-07
発明の名称
電気光学装置および電子機器
出願人
セイコーエプソン株式会社
代理人
弁理士法人旺知国際特許事務所
主分類
G09F
9/30 20060101AFI20250911BHJP(教育;暗号方法;表示;広告;シール)
要約
【課題】半導体層に入射する光に対する遮光性の向上を図ることができる電気光学装置、および電子機器を提供すること。
【解決手段】電気光学装置は、基板と、ゲート電極、および前記基板と前記ゲート電極との間に配置される半導体層を含むトランジスターと、前記ゲート電極に対して前記第1方向に配置され、前記ゲート電極に電気的に接続される走査線と、前記半導体層に対して前記第1方向に配置され、前記第1方向からみた平面視で前記半導体層と重なる第1遮光部と、前記半導体層に対して前記第1方向と反対の第2方向に配置され、前記平面視で前記半導体層と重なる第2遮光部と、を備え、前記第1遮光部の電位と前記第2遮光部の電位とは、互いに異なり、前記第1遮光部は、前記半導体層の幅方向の両側に設けられ、前記走査線と前記ゲート電極との間の第1絶縁層から、前記第2遮光部と同層、または前記第2遮光部のより前記第2方向に延在する側面遮光部を有する。
【選択図】図5
特許請求の範囲
【請求項1】
基板と、
前記基板に対して第1方向に配置されるゲート電極、および前記基板と前記ゲート電極との間に配置される半導体層を含むトランジスターと、
前記ゲート電極に対して前記第1方向に配置され、前記ゲート電極に電気的に接続される走査線と、
前記半導体層に対して前記第1方向に配置され、前記第1方向からみた平面視で前記半導体層と重なる第1遮光部と、
前記半導体層に対して前記第1方向と反対の第2方向に配置され、前記平面視で前記半導体層と重なる第2遮光部と、を備え、
前記第1遮光部の電位と前記第2遮光部の電位とは、互いに異なり、
前記第1遮光部は、前記半導体層の幅方向の両側に設けられ、前記走査線と前記ゲート電極との間の第1絶縁層から、前記第2遮光部と同層、または前記第2遮光部のより前記第2方向に延在する側面遮光部を有する、
ことを特徴とする電気光学装置。
続きを表示(約 1,100 文字)
【請求項2】
前記第1遮光部は、前記側面遮光部を含む第1部分と、第2部分と、第3部分と、を有し、
前記第2部分は、前記半導体層と前記走査線が設けられる層との間に設けられ、
前記第3部分は、前記ゲート電極と前記走査線が設けられる層との間に設けられ、
前記第3部分の前記第2方向の長さ、前記第2部分の前記第2方向の長さ、および前記第1部分の前記第2方向の長さは、この順に長くなり、前記第1部分の前記第2方向の長さが最も長い、
請求項1に記載の電気光学装置。
【請求項3】
前記半導体層は、ドレイン領域、ソース領域、および前記ドレイン領域と前記ソース領域との間に設けられるチャネル領域を含み、
前記第1遮光部は、前記ドレイン領域に電気的に接続され、前記第1遮光部は、前記平面視で前記ドレイン領域に重なるドレイン接続部を有し、
前記第2遮光部は、前記ゲート電極に電気的に接続される、
請求項1に記載の電気光学装置。
【請求項4】
前記半導体層は、前記第1方向と交差する第3方向に延在し、
前記半導体層は、前記第1方向に見て、前記第1遮光部および前記第2遮光部によって囲まれている、
請求項1に記載の電気光学装置。
【請求項5】
前記側面遮光部と前記第2遮光部とは、前記平面視で重ならない、
請求項1に記載の電気光学装置。
【請求項6】
前記半導体層は、ドレイン領域、ソース領域、および前記ドレイン領域と前記ソース領域との間に設けられるチャネル領域を含み、
前記第1遮光部は、前記側面遮光部と、前記ドレイン領域に電気的に接続され、前記第1遮光部は、前記平面視で前記ドレイン領域に重なるドレイン接続部とを有する第1部分を備え、
前記第1部分と前記第2遮光部とは、前記平面視で重ならない、
請求項1に記載の電気光学装置。
【請求項7】
前記第2遮光部は、前記平面視で前記ドレイン領域に重ならない、
請求項6に記載の電気光学装置。
【請求項8】
前記第1部分は、前記平面視で前記ドレイン領域と前記チャネル領域との間を囲むように設けられる、
請求項6に記載の電気光学装置。
【請求項9】
前記基板と前記第2遮光部との間に配置される第3遮光部をさらに有し、
前記側面遮光部は、前記第3遮光部に接続される、
請求項1に記載の電気光学装置。
【請求項10】
前記第2遮光部の厚さは、前記第3遮光部の厚さよりも厚い、
請求項9に記載の電気光学装置。
(【請求項11】以降は省略されています)
発明の詳細な説明
【技術分野】
【0001】
本発明は、電気光学装置および電子機器に関する。
続きを表示(約 2,300 文字)
【背景技術】
【0002】
プロジェクター等の電子機器には、例えば、画素ごとに光学的特性を変更可能な液晶表示装置等の電気光学装置が用いられる。当該電気光学装置の例として、特許文献1に記載の表示装置が知られている。
【0003】
特許文献1に記載の表示装置は、半導体膜および当該半導体膜よりも上層に配置されたゲート電極を含む薄膜トランジスタ(TFT)と、ゲート電極よりも上層に配置された走査線とを備える。当該ゲート電極と走査線とは、コンタクトホールを介して電気的に接続されている。また、当該表示装置では、半導体膜の上層に設けられた走査線を遮光層として利用している。
【先行技術文献】
【特許文献】
【0004】
特開2015-7806号公報
【発明の概要】
【発明が解決しようとする課題】
【0005】
しかし、従来の装置では、半導体膜の上層に設けられた走査線を遮光層として利用しているが、これだけでは、半導体膜に対する遮光性が充分では無いという課題がある。
【課題を解決するための手段】
【0006】
本発明の電気光学装置の一態様は、基板と、前記基板に対して第1方向に配置されるゲート電極、および前記基板と前記ゲート電極との間に配置される半導体層を含むトランジスターと、前記ゲート電極に対して前記第1方向に配置され、前記ゲート電極に電気的に接続される走査線と、前記半導体層に対して前記第1方向に配置され、前記第1方向からみた平面視で前記半導体層と重なる第1遮光部と、前記半導体層に対して前記第1方向と反対の第2方向に配置され、前記平面視で前記半導体層と重なる第2遮光部と、を備え、前記第1遮光部の電位と前記第2遮光部の電位とは、互いに異なり、前記第1遮光部は、前記半導体層の幅方向の両側に設けられ、前記走査線と前記ゲート電極との間の第1絶縁層から、前記第2遮光部と同層、または前記第2遮光部のより前記第2方向に延在する側面遮光部を有する。
【0007】
本発明の電子機器の一態様は、電気光学装置と、前記電気光学装置の動作を制御する制御部と、を有する。
【図面の簡単な説明】
【0008】
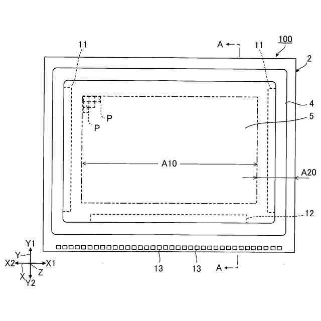
実施形態に係る電気光学装置の平面図である。
図1に示す電気光学装置のA-A線の断面図である。
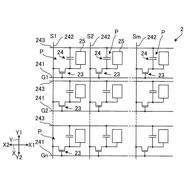
図1の素子基板の電気的な構成を示す等価回路図である。
図2の表示領域における素子基板の一部を示す平面図である。
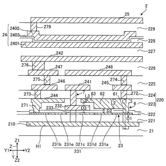
図4のA1―A1線の断面図である。
図4のA2―A2線の断面図である。
図5中のトランジスターを示す平面図である。
図5に示す第2遮光部の平面図である。
図5に示す第1遮光部および第2遮光部の平面図である。
図5に示す第1遮光部および第2遮光部の平面図である。
図10中のA3―A3線の断面図である。
図10中のA4―A4線の断面図である。
第1凹部の製造方法を説明するための断面図である。
第1凹部の製造方法を説明するための平面図である。
第2凹部の製造方法を説明するための断面図である。
第2凹部の製造方法を説明するための平面図である。
第3凹部の製造方法を説明するための平面図である。
第1遮光部の製造方法を説明するための図である。
第2実施形態における第2遮光部を示す断面図である。
第2実施形態における第2遮光部を示す断面図である。
図19に示す第2遮光部を示す平面図である。
図19に示す第2遮光部と第1遮光部6の平面的な配置を示す図である。
第3実施形態における第4遮光部を示す断面図である。
第3実施形態における第4遮光部を示す断面図である。
図23に示す第4遮光部を示す平面図である。
電子機器の一例であるパーソナルコンピューターを示す斜視図である。
電子機器の一例であるスマートフォンを示す平面図である。
電子機器の一例であるプロジェクターを示す模式図である。
【発明を実施するための形態】
【0009】
以下、添付図面を参照しながら本発明に係る好適な実施形態を説明する。なお、図面において各部の寸法または縮尺は実際と適宜に異なり、理解を容易にするために模式的に示す部分もある。また、本発明の範囲は、以下の説明において特に本発明を限定する旨の記載がない限り、これらの形態に限られない。
【0010】
1.電気光学装置
1A.基本構成
図1は、実施形態に係る電気光学装置100の平面図である。図2は、図1に示す電気光学装置100のA-A線の断面図である。なお、図1では、対向基板3の図示を省略する。また、以下では、説明の便宜上、互いに直交するX軸、Y軸およびZ軸を適宜用いて説明する。また、X軸に沿う一方向をX1方向と表記し、X1方向とは反対の方向をX2方向と表記する。同様に、Y軸に沿う一方向をY1方向と表記し、Y1方向とは反対の方向をY2方向と表記する。Z軸に沿う一方向をZ1方向と表記し、Z1方向とは反対の方向をZ2方向と表記する。Z1方向は「第1方向」に相当し、Z2方向は、「第2方向」に相当する。また、Y1方向またはY2方向は「第3方向」に相当する。
(【0011】以降は省略されています)
この特許をJ-PlatPat(特許庁公式サイト)で参照する
関連特許
個人
回転式カード学習具
1か月前
日本精機株式会社
表示装置
16日前
日本精機株式会社
表示装置
1か月前
個人
時刻表示機能つき手帳
2か月前
個人
計算用教具
12日前
中国電力株式会社
標示旗
22日前
日本精機株式会社
車両用表示装置
1か月前
日本精機株式会社
車両用表示装置
2か月前
日本精機株式会社
車両用表示装置
2か月前
個人
モデルで薔薇の花嫁様を描く為
1か月前
日本精機株式会社
車両用センサ装置
12日前
株式会社一弘社
情報表示板
1か月前
シャープ株式会社
表示装置
23日前
株式会社ウメラボ
学習支援システム
8日前
株式会社ウメラボ
学習支援システム
2日前
個人
音楽教材
1か月前
ニチレイマグネット株式会社
磁着式電飾装置
22日前
株式会社半導体エネルギー研究所
半導体装置
2か月前
株式会社リコー
画像投射システム
23日前
リンテック株式会社
表示体
1日前
BEST株式会社
吊り下げ表示部材
1か月前
学校法人関西医科大学
腹腔鏡手術訓練装置
22日前
株式会社サンゲツ
見本帳
1か月前
シチズンファインデバイス株式会社
液晶表示装置
1か月前
シチズンファインデバイス株式会社
液晶表示装置
1か月前
シャープ株式会社
表示装置
1か月前
シャープ株式会社
表示装置
1か月前
セイコーエプソン株式会社
表示方法
1か月前
セイコーエプソン株式会社
表示方法
1か月前
リンテック株式会社
粘着ラベル
2日前
ニプロ株式会社
シミュレータ
1か月前
TOPPANホールディングス株式会社
ラベル
2か月前
TOPPANホールディングス株式会社
ラベル
12日前
ローム株式会社
暗号化装置
2日前
キヤノン株式会社
発光装置
15日前
公立大学法人札幌市立大学
化学構造模型
3日前
続きを見る
他の特許を見る