TOP
|
特許
|
意匠
|
商標
特許ウォッチ
Twitter
他の特許を見る
公開番号
2025136580
公報種別
公開特許公報(A)
公開日
2025-09-19
出願番号
2024035254
出願日
2024-03-07
発明の名称
半導体装置およびその製造方法
出願人
キオクシア株式会社
代理人
個人
,
個人
,
個人
,
個人
主分類
H10B
43/27 20230101AFI20250911BHJP()
要約
【課題】好適な特性を有する配線層を形成することが可能な半導体装置およびその製造方法を提供する。
【解決手段】一の実施形態によれば、半導体装置は、第1絶縁膜を備える。前記装置はさらに、前記第1絶縁膜内に設けられ、タングステンと窒素とを含む第1層と、前記第1絶縁膜内に前記第1層を介して設けられ、タングステンを含む第2層と、を含む第1配線層を備える。前記第1層内の窒素濃度は、前記第2層内の窒素濃度より高い。前記第1層内のタングステン原子の個数と窒素原子の個数との和に対する窒素原子の個数の割合は、40%より小さい。
【選択図】図7
特許請求の範囲
【請求項1】
第1絶縁膜と、
前記第1絶縁膜内に設けられ、タングステンと窒素とを含む第1層と、前記第1絶縁膜内に前記第1層を介して設けられ、タングステンを含む第2層と、を含む第1配線層とを備え、
前記第1層内の窒素濃度は、前記第2層内の窒素濃度より高く、
前記第1層内のタングステン原子の個数と窒素原子の個数との和に対する窒素原子の個数の割合は、40%より小さい、
半導体装置。
続きを表示(約 730 文字)
【請求項2】
前記第1層は、主成分としてタングステンを含み、不純物原子として窒素原子を含む、請求項1に記載の半導体装置。
【請求項3】
前記第1層は、結晶層である、請求項1に記載の半導体装置。
【請求項4】
前記第2層内の窒素濃度は、7.0×10
19
~2.0×20
20
atoms/cm
3
である、請求項1に記載の半導体装置。
【請求項5】
前記第2層は、フッ素または塩素を含む、請求項1に記載の半導体装置。
【請求項6】
前記第1層は、バリアメタル層であり、前記第2層は、配線材層である、請求項1に記載の半導体装置。
【請求項7】
前記第1配線層はさらに、前記第1層と前記第2層との間に設けられ、タングステンを含む第3層を含む、請求項1に記載の半導体装置。
【請求項8】
前記第3層は、ボロンまたはシリコンを含む、請求項7に記載の半導体装置。
【請求項9】
複数の電極層および複数の第2絶縁膜を交互に含む積層膜をさらに備え、
前記第1配線層は、前記複数の電極層のうちの1つの電極層であり、
前記第1絶縁膜は、前記複数の第2絶縁膜のうちの2つの第2絶縁膜を含む、
請求項1に記載の半導体装置。
【請求項10】
前記複数の電極層の側面に第3絶縁膜を介して設けられた電荷蓄積層と、
前記電荷蓄積層の側面に第4絶縁膜を介して設けられた半導体層と、
をさらに備える、請求項9に記載の半導体装置。
(【請求項11】以降は省略されています)
発明の詳細な説明
【技術分野】
【0001】
本発明の実施形態は、半導体装置およびその製造方法に関する。
続きを表示(約 1,800 文字)
【背景技術】
【0002】
電極層などの配線層を含む半導体装置では、配線層の電気抵抗を低減することや、配線層から他の層への原子の拡散を抑制することが望まれる。
【先行技術文献】
【特許文献】
【0003】
特開2023-26869号公報
特開2006-310842号公報
米国特許第8053365号公報
【発明の概要】
【発明が解決しようとする課題】
【0004】
好適な特性を有する配線層を形成することが可能な半導体装置およびその製造方法を提供する。
【課題を解決するための手段】
【0005】
一の実施形態によれば、半導体装置は、第1絶縁膜を備える。前記装置はさらに、前記第1絶縁膜内に設けられ、タングステンと窒素とを含む第1層と、前記第1絶縁膜内に前記第1層を介して設けられ、タングステンを含む第2層と、を含む第1配線層を備える。前記第1層内の窒素濃度は、前記第2層内の窒素濃度より高い。前記第1層内のタングステン原子の個数と窒素原子の個数との和に対する窒素原子の個数の割合は、40%より小さい。
【図面の簡単な説明】
【0006】
第1実施形態の半導体装置の構造を示す斜視図である。
第1実施形態の半導体装置の製造方法を示す断面図(1/4)である。
第1実施形態の半導体装置の製造方法を示す断面図(2/4)である。
第1実施形態の半導体装置の製造方法を示す断面図(3/4)である。
第1実施形態の半導体装置の製造方法を示す断面図(4/4)である。
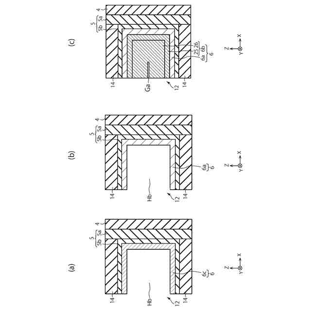
第1実施形態の比較例の半導体装置の構造を示す断面図である。
第1実施形態の半導体装置の構造を示す断面図である。
第1実施形態の半導体装置の製造方法の詳細を示す断面図である。
第1実施形態の半導体装置の特性に関するグラフである。
第1実施形態の半導体装置の特性に関する別のグラフである。
第1実施形態の変形例の半導体装置の構造を示す断面図である。
第2実施形態の半導体装置の構造と、第2実施形態の変形例の半導体装置の構造とを示す断面図である。
第2実施形態の半導体装置の製造方法を示す断面図である。
第3実施形態の半導体装置の構造を示す断面図である。
第3実施形態の柱状部の構造を示す断面図である。
第3実施形態の半導体装置の製造方法を示す断面図(1/2)である。
第3実施形態の半導体装置の製造方法を示す断面図(2/2)である。
【発明を実施するための形態】
【0007】
以下、本発明の実施形態を、図面を参照して説明する。図1~図17において、同一の構成には同一の符号を付し、重複する説明は省略する。
【0008】
(第1実施形態)
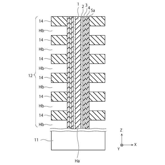
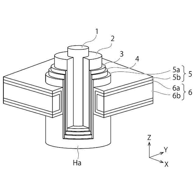
図1は、第1実施形態の半導体装置の構造を示す斜視図である。本実施形態の半導体装置は、例えば3次元半導体メモリを備えている。
【0009】
本実施形態の半導体装置は、コア絶縁膜1と、チャネル半導体層2と、トンネル絶縁膜3と、電荷蓄積層4と、ブロック絶縁膜5と、電極層6とを備えている。ブロック絶縁膜5は、絶縁膜5aと、絶縁膜5bとを含んでいる。電極層6は、バリアメタル層6aと、電極材層6bとを含んでいる。電極層6は、第1配線層の例である。バリアメタル層6aは、第1層の例である。電極材層6bは、第2および第3層の例であり、かつ、第1配線層内の配線材層の例である。
【0010】
図1では、基板上に複数の電極層および複数の絶縁膜が交互に積層されており、これらの電極層および絶縁膜内にメモリホールHaが設けられている。図1は、これらの電極層のうちの1つの電極層6を示している。これらの電極層は例えば、3次元半導体メモリのワード線として機能する。図1は、基板の表面に平行で互いに垂直なX方向およびY方向と、基板の表面に垂直なZ方向とを示している。本明細書では、+Z方向を上方向として取り扱い、-Z方向を下方向として取り扱う。-Z方向は、重力方向と一致していてもよいし、重力方向とは一致していなくてもよい。
(【0011】以降は省略されています)
この特許をJ-PlatPat(特許庁公式サイト)で参照する
関連特許
キオクシア株式会社
記憶装置
10日前
キオクシア株式会社
記憶装置
4日前
キオクシア株式会社
記憶装置
4日前
キオクシア株式会社
記憶装置
6日前
キオクシア株式会社
記憶装置
2日前
キオクシア株式会社
半導体装置
2日前
キオクシア株式会社
半導体装置
4日前
キオクシア株式会社
半導体装置
3日前
キオクシア株式会社
半導体装置
3日前
キオクシア株式会社
半導体装置
10日前
キオクシア株式会社
磁気記憶装置
6日前
キオクシア株式会社
通信システム
4日前
キオクシア株式会社
磁気記憶装置
6日前
キオクシア株式会社
磁気記憶装置
3日前
キオクシア株式会社
磁気記憶装置
4日前
キオクシア株式会社
磁気記憶装置
4日前
キオクシア株式会社
基板ユニット
6日前
キオクシア株式会社
半導体記憶装置
2日前
キオクシア株式会社
メモリシステム
3日前
キオクシア株式会社
半導体記憶装置
3日前
キオクシア株式会社
半導体記憶装置
6日前
キオクシア株式会社
半導体記憶装置
2日前
キオクシア株式会社
有機分子メモリ
2日前
キオクシア株式会社
メモリデバイス
9日前
キオクシア株式会社
メモリデバイス
2日前
キオクシア株式会社
半導体記憶装置
4日前
キオクシア株式会社
半導体記憶装置
2日前
キオクシア株式会社
半導体記憶装置
2日前
キオクシア株式会社
半導体記憶装置
4日前
キオクシア株式会社
メモリデバイス
4日前
キオクシア株式会社
半導体記憶装置
2日前
キオクシア株式会社
メモリシステム
16日前
キオクシア株式会社
半導体記憶装置
4日前
キオクシア株式会社
半導体記憶装置
6日前
キオクシア株式会社
半導体記憶装置
6日前
キオクシア株式会社
メモリデバイス
2日前
続きを見る
他の特許を見る