TOP
|
特許
|
意匠
|
商標
特許ウォッチ
Twitter
他の特許を見る
10個以上の画像は省略されています。
公開番号
2025138800
公報種別
公開特許公報(A)
公開日
2025-09-25
出願番号
2025111241,2023201183
出願日
2025-07-01,2016-06-17
発明の名称
シングルパウチバッテリセル及びその製造方法
出願人
24エム・テクノロジーズ・インコーポレイテッド
,
24M Technologies, Inc.
,
京セラ株式会社
代理人
個人
,
個人
,
個人
,
個人
主分類
H01M
10/04 20060101AFI20250917BHJP(基本的電気素子)
要約
【課題】バッテリの製造中又は動作中の欠陥伝搬の問題、各バッテリセル内の大量の電解質によってもたらされる火災危険の問題、又は、溶接プロセス中に生じる金属汚染の問題に対処すること。
【解決手段】電気化学的セルは、パウチの第1の部分に結合され、第1の電極材料がその上に配置された第1の集電体と、パウチの第2の部分に結合され、第2の電極材料がその上に配置された第2の集電体と、第1の電極材料と第2の電極材料の間に配置されたセパレータとを備える。電気化学的セルを封入するために、パウチの第1の部分がパウチの第2の部分に結合される。
【選択図】図1B
特許請求の範囲
【請求項1】
電気化学的セルであって、
パウチの第1の部分に結合され、第1の電極材料がその上に配置された第1の集電体と、
前記パウチの第2の部分に結合され、第2の電極材料がその上に配置された第2の集電体と、
前記第1の電極材料と前記第2の電極材料の間に配置されたセパレータとを備え、
前記電気化学的セルを封入するために、前記パウチの前記第1の部分が前記パウチの前記第2の部分に結合される、電気化学的セル。
続きを表示(約 720 文字)
【請求項2】
前記パウチが、前記パウチの前記第1の部分と前記第2の部分の間の折り畳み線に沿って折り畳まれて、前記セパレータが前記第1の電極材料と前記第2の電極材料の間に配置されている、請求項1に記載の電気化学的セル。
【請求項3】
前記セパレータが、前記第1の電極材料及び前記第2の電極材料のうちの少なくとも1つより大きい、請求項1に記載の電気化学的セル。
【請求項4】
前記セパレータが、前記パウチの前記第1の部分と前記第2の部分の間に密封される、請求項3に記載の電気化学的セル。
【請求項5】
前記第1の集電体及び前記第2の集電体のうちの少なくとも1つが、前記パウチに積層される、請求項1に記載の電気化学的セル。
【請求項6】
前記第1の集電体及び前記第2の集電体のうちの少なくとも1つが、前記パウチ上に配置される、請求項1に記載の電気化学的セル。
【請求項7】
前記第1の集電体及び前記第2の集電体のうちの少なくとも1つが、物理蒸着、化学蒸着、メッキ、電気メッキ、及び電着のうちの少なくとも1つを使用して堆積される、請求項6に記載の電気化学的セル。
【請求項8】
前記第1の電極材料及び前記第2の電極材料のうちの少なくとも1つが、約250μmから約2000μmの範囲の厚さである、請求項1に記載の電気化学的セル。
【請求項9】
前記第1の電極材料及び前記第2の電極材料のうちの少なくとも1つが、約250μmから約500μmの範囲の厚さである、請求項8に記載の電気化学的セル。
(【請求項11】以降は省略されています)
発明の詳細な説明
【技術分野】
【0001】
関連出願の相互参照
[1001] 本願は、2015年6月18日出願の「Single Pouch Battery Cells and Methods of Manufacture」と題する米国仮特許出願第62/181385号の優先権及び利益を主張するものであり、その開示された内容の全体が参照されることにより本明細書に組み込まれる。
続きを表示(約 6,100 文字)
【0002】
[1002] 本明細書に記載する実施形態は、一般に、バッテリセルの製造に関するものであり、さらに詳細には、バッテリモジュールのシングルパウチバッテリセルを製造して使用するシステム及び方法に関する。
【背景技術】
【0003】
[1003] リチウムイオン電気化学(バッテリ)セルは、通常は、セパレータによって分離されるアノード層とカソード層とを交互に含む。1つのアノード及び1つのカソードとそれらを分離する1つのセパレータとの組合せは、1スタックと呼ばれることがある。複数のスタックが、通常は並列に接続され、パウチ内に挿入されて、バッテリセルを形成する。バッテリセル内の(したがってパウチ内の)スタック数は、通常は、容量を大きくするために比較的多い(例えば20より多い)。パウチは、電解質(例えば有機溶剤及び溶解リチウム塩)も含み、電解質は、通常は綿密に制御された環境内で導入され、リチウムイオン輸送のための媒体となる。パウチ内の電解質の量は、パウチ内のスタック数に比例させる、すなわちスタックが多い場合には電解質を増やすことができる。
【0004】
[1004] 製造においては、バッテリセルは、電極層を交互に積み重ねることによって(典型的な高性能角型セル)、又は長い電極ストリップを「ジェリーロール」形状に巻き付けることによって(典型的な円筒型セル)、構築することができる。電極のスタック又はロールは、ガスケットで密封された硬質ケース内に挿入すること(ほとんどの市販の円筒型セル)、レーザ溶接された硬質ケースに挿入すること、又は継ぎ目が熱で密閉された箔パウチに封入する(一般にリチウムイオンポリマーセルと呼ばれる)ことができる。
【0005】
[1005] リチウムイオンバッテリセルの1つの有望な応用先は、所望の出力及び容量の必要を満たすために通常多数のバッテリセルを含み、ときには数百、さらには数千ものバッテリセルを含むこともある自動車用バッテリパックである。各バッテリセルが、複数のスタック(すなわちアノード、カソード及びセパレータ)と、電極リード(すなわちタブ)とをさらに含むこともできる。通常、いくつかのセルは、バッテリタブ及びバスバー(すなわち相互接続ユニット)を介し連結して、1つのモジュールを形成する。通常のバッテリパックは、このようなモジュールを数十個含むことができる。その結果として、1つのバッテリパックで所望の量の出力及び容量を出力するためには、通常は相当量の溶接などの接合が必要になる。
【発明の概要】
【0006】
[1006] 本明細書に記載する装置、システム、及び方法は、シングルパウチバッテリセルの製造及び使用に関する。いくつかの実施形態では、電気化学的セルは、パウチの第1の部分に結合された第1の集電体であり、第1の電極材料がその上に配置された第1の集電体と、パウチの第2の部分に結合された第2の集電体であり、第2の電極材料がその上に配置された第2の集電体と、第1の電極材料と第2の電極材料の間に配置されたセパレータとを備える。パウチの第1の部分がパウチの第2の部分に結合されて、電気化学的セルを封入する。
【図面の簡単な説明】
【0007】
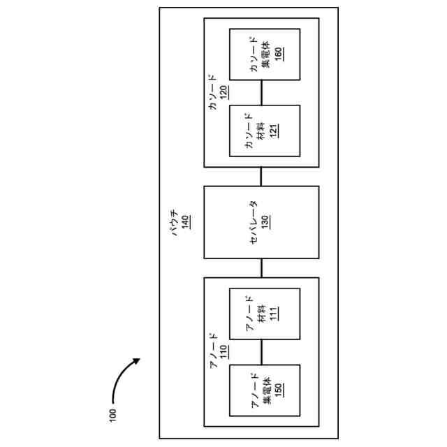
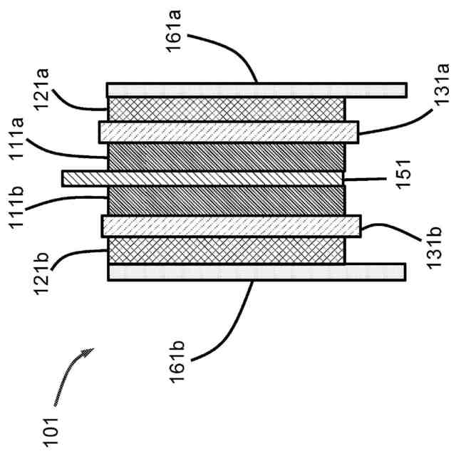
[1007]一つの実施形態による、バッテリセルを示す概略図である。
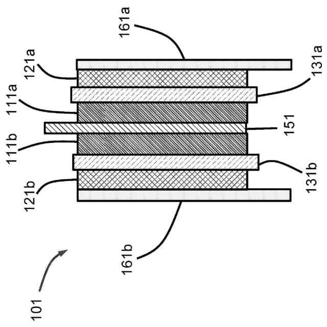
[1008]いくつかの実施形態による別のタイプのバッテリセルを示す概略図である。
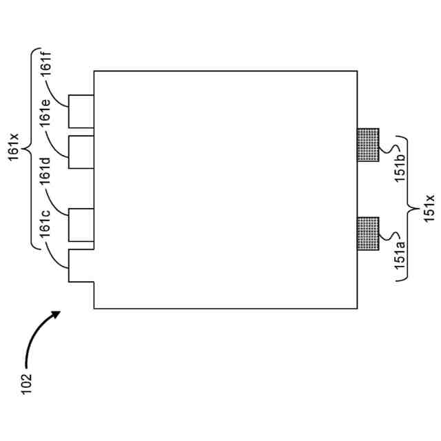
[1009]図1Bに示すバッテリセルの上面図である。
[1010]いくつかの実施形態による、別のバッテリセルを示す上面図である。
[1011]いくつかの実施形態による、自己融着の概念を使用して作成されるタイプのバッテリセルを示す概略図である。
[1012]図1Eに示すバッテリセルの縁部の写真である。
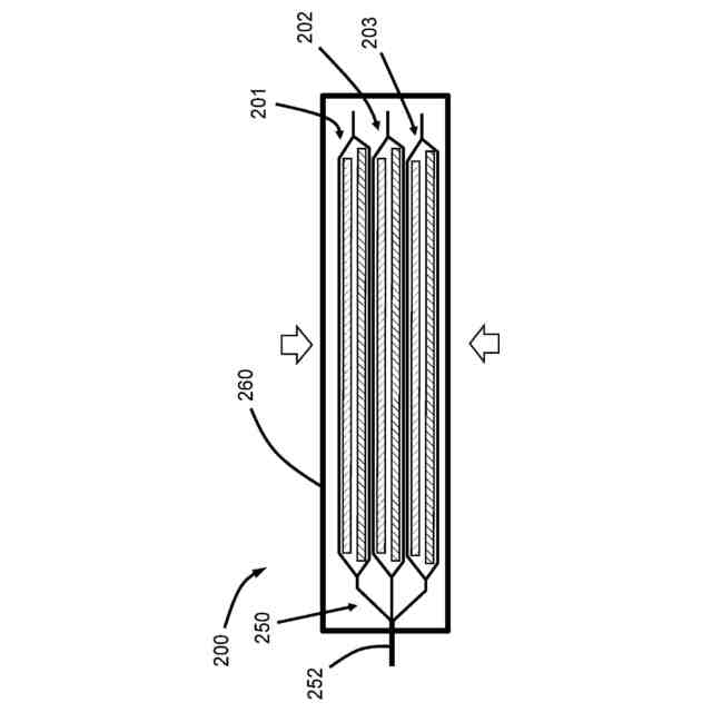
[1013]いくつかの実施形態による、複数のシングルパウチバッテリセルを含むバッテリモジュールを示す概略図である。
[1014]1実施形態による、図2に示す複数のバッテリモジュールを含むバッテリパックを示す概略図である。
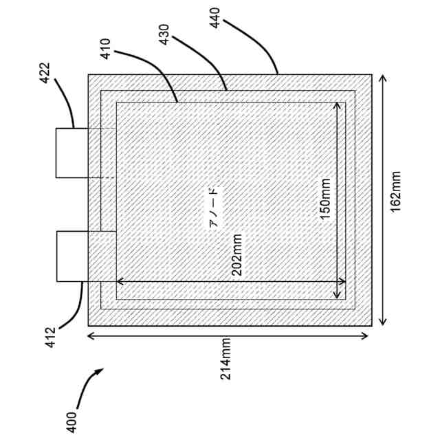
[1015]いくつかの実施形態による、シングルパウチバッテリセルの各構成要素の相対寸法を示す概略図である。
[1016]図4Aに示すシングルパウチバッテリセルの角部を示す拡大図である。
[1017]いくつかの実施形態による、金属ケース内に封入されたシングルパウチバッテリセルを含むバッテリモジュールを示す概略図である。
[1018]いくつかの実施形態による、金属ケース内に封入されたシングルパウチバッテリセルを含むバッテリモジュール(蓋が開いている状態)を示す側面図である。
[1019]蓋を閉じた後の、図6Aに示すバッテリモジュールを示す側面図である。
[1020]いくつかの実施形態による、プラスチックフレーム内に封入された複数のシングルパウチバッテリセルを含むバッテリモジュールを示す上面図である。
[1021]上部及び底部の蓋を示す、図7Aに示すバッテリモジュールの側面図である。
[1022]いくつかの実施形態による、複数のシングルパウチバッテリセルを含むバッテリモジュールで利用されるタブ設計を示す図である。
[1023]図8Aに示すバッテリモジュールのタブ接続領域を含むタブ設計のスペーサを示す図である。
[1024]図8Aに示すバッテリモジュールのコネクタ部分を示す図である。
[1025]いくつかの実施形態による、シングルパウチバッテリセル及びモジュールの製造方法を示すフローチャートである。
[1026]いくつかの実施形態による、パウチフィルム上に配置された複数のアノードを含むアノードアセンブリのレイアウトを示す図である。
[1027]図10Aに示すアノードアセンブリの断面図である。
[1028]いくつかの実施形態による、パウチフィルム上に配置された複数のカソードを含むカソードアセンブリのレイアウトを示す図である。
[1029]図11Aに示すカソードアセンブリの断面図である。
[1030]いくつかの実施形態による、カソードアセンブリ及びアノードアセンブリを含む電極アセンブリを示す上面図である。
[1031]いくつかの実施形態による、複数のユニットセルを含むユニットセルアセンブリのレイアウトを示す図である。
[1032]図13Aに示すユニットセルアセンブリの断面図である。
[1033]いくつかの実施形態による、個別のパウチ内にユニットセルを製造する方法を示す図である。
[1034]いくつかの実施形態による、ユニットセルスタックを製造する方法を示す図である。
いくつかの実施形態による、ユニットセルスタックを製造する方法を示す図である。
[1035]図15A~図15Bに示す方法で準備したユニットセルスタックの上面図である。
図15A~図15Bに示す方法で準備したユニットセルスタックの断面図である。
[1036]いくつかの実施形態による、シングルパウチバッテリセルの製造中にガス抜き、再密封及び除去を行うための追加部分を有するパウチセルを示す図である。
いくつかの実施形態による、シングルパウチバッテリセルの製造中にガス抜き、再密封及び除去を行うための追加部分を有するパウチセルを示す図である。
[1037]いくつかの実施形態による、シングルパウチバッテリセルの例示的なタブ構成を示す図である。
[1038]いくつかの実施形態による、シングルパウチバッテリセルを準備する例示的な製造方法を示す図である。
いくつかの実施形態による、シングルパウチバッテリセルを製造するための例示的な製造方法を示す図である。
[1039]いくつかの実施形態による、円筒型構成のバッテリセルを製造する例示的な製造方法を示す図である。
いくつかの実施形態による、円筒型構成のバッテリセルを製造する例示的な製造方法を示す図である。
[1040]いくつかの実施形態による、角型構成のバッテリセルを準備する例示的な製造方法を示す図である。
いくつかの実施形態による、角型構成のバッテリセルを準備する例示的な製造方法を示す図である。
いくつかの実施形態による、角型構成のバッテリセルを準備する例示的な製造方法を示す図である。
[1041]いくつかの実施形態によるシングルパウチバッテリセルを示す図である。
[1042]上述の方法を使用して製造したバッテリセルの容量保持率曲線を示す図である。
[1043]いくつかの実施形態による、シングルパウチバッテリセルの配列を含むバッテリモジュールを示す概略図である。
[1044]いくつかの実施形態による、金属ケース内に封入された複数のシングルパウチバッテリモジュールを含むバッテリモジュールの展開図である。
いくつかの実施形態による、金属ケース内に封入された複数のシングルパウチバッテリモジュールを含むバッテリモジュールの完成図である。
[1045]いくつかの実施形態による、プラスチックケース内に封入された複数のシングルパウチバッテリモジュールを含むバッテリモジュールの展開図である。
いくつかの実施形態による、プラスチックケース内に封入された複数のシングルパウチバッテリモジュールを含むバッテリモジュールの完成図である。
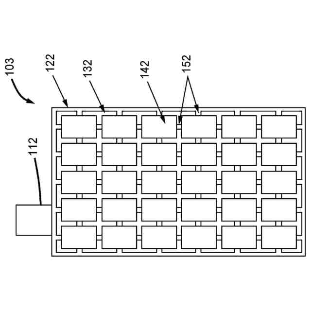
[1046]いくつかの実施形態による、バッテリモジュールの2次元配列を含むバッテリパックを示す図である。
[1047]いくつかの実施形態による、バッテリモジュールの1次元配列を含むバッテリパックを示す図である。
[1048]いくつかの実施形態による、バッテリモジュールの積み重ね及び連結の特徴を示す、バッテリパックの概略図である。
いくつかの実施形態による、バッテリモジュールの積み重ね及び連結の特徴を示す、バッテリパックの概略図である。
いくつかの実施形態による、バッテリモジュールの積み重ね及び連結の特徴を示す、バッテリパックの概略図である。
[1049]いくつかの実施形態による、ラック構成に配置された複数のシングルパウチバッテリモジュールを含むバッテリラックの完成図である。
いくつかの実施形態による、ラック構成に配置された複数のシングルパウチバッテリモジュールを含むバッテリラックを示す展開図である。
【発明を実施するための形態】
【0008】
[1050] 本明細書に記載する実施形態は、一般にシングルパウチバッテリセルに関し、さらに詳細には、バッテリモジュール又はバッテリパックのシングルパウチバッテリセルを製造及び使用するシステム及び方法に関する。いくつかの実施形態では、シングルパウチバッテリセルは、アノードと、カソードと、それらの間に配置されたセパレータと、アノード、カソード及びセパレータを収容してシングルパウチバッテリセルを形成するパウチとを含む。いくつかの実施形態では、アノード及び/又はカソードは、半固体電極材料を含む。
【0009】
[1051] バッテリセル内の非電気化学的活性材料の量を減少させることにより、所与のバッテリセルのエネルギー密度を高めることができる。集電体の厚さは、通常は、電流密度を考慮するより、取扱いが容易になるように、かつ/又は電極の機械的支持を提供するように、選択される。換言すれば、集電体は、一般に、バッテリ内の電気化学的反応によって生成される高い電流密度に対応するために必要な厚さよりも厚いが、集電体が薄くなると(すなわち電流密度のために最適化されると)非常に脆くなる可能性があり、製造プロセス中に容易に破れるおそれがある。例えば、いくつかの従来のバッテリで現在使用されている厚さ20μmの集電体は、従来のバッテリで生成される量の電流を容易に取り扱うことができるが、その電子を往復させるために必要なのは、わずか数μmの集電体である。
【0010】
[1052] 本明細書に記載するように、シングルパウチセルは、バッテリセル構造の他の点を改善しながら、より薄い集電体を使用できるようにすることができる。例えば、集電体をパウチに結合して、パウチが集電体の物理的支持を提供し、取扱いを改善することができるようにして、パウチを使用しながら電気伝導のためにより薄い集電体を使用することができるようにすることができる。この手法のいくつかの追加の利点は、これらに限定されるわけではないが、(i)1つのバッテリセルから隣接する1つ又は複数のバッテリセルへの欠陥伝搬の軽減又は解消、(ii)従来のバッテリの大量の可燃性電解質によって引き起こされる火災危険またその他の熱的危険の低減、(iii)従来のバッテリの製造における溶接プロセス中に電極材料に混入する可能性があり、バッテリ内の内部短絡を引き起こすことによってバッテリの性能を損なうおそれがある、金属による汚染の低減又は解消、(iv)複数のシングルパウチバッテリセルを積み重ねてバッテリモジュール又はバッテリパックにする際の個々のパウチの取扱いの容易化、(v)マルチパウチ又はマルチスタックバッテリを製造する際の個々のパウチの選別及び排除の利便性による製造歩留まりの向上(容量、厚さ、インピーダンス、重量などによる)、(vi)バッテリ又は電極の製造中に半固体電極材料を支持する手段の提供と、それによる電極材料の均一な分布(例えば均一な厚さ)の実現及びバッテリセルからの電極材料の漏出の回避、ならびに(vii)溶接火花が、通常可燃性である電解質に点火する可能性がある溶接プロセスにおける、濡れた電極の火災危険の低減又は解消を含む。シングルパウチバッテリセルの手法は、全ての溶接プロセスを、個々のバッテリセルがパウチ内に収容された後で実行することができるので、溶接火花が電解質に到達して点火することを防止することができ、このような火災危険を低減又は解消することができる。本明細書で使用する「半固体」という用語は、例えば粒子懸濁液、コロイド懸濁液、乳濁液、ゲル、又はミセルなど、液相と固
相が混合した材料を指している。
(【0011】以降は省略されています)
この特許をJ-PlatPat(特許庁公式サイト)で参照する
関連特許
個人
安全なNAS電池
1か月前
日本発條株式会社
積層体
6日前
東レ株式会社
多孔質炭素シート
25日前
個人
フリー型プラグ安全カバー
1か月前
ローム株式会社
半導体装置
4日前
個人
防雪防塵カバー
6日前
キヤノン株式会社
電子機器
25日前
ローム株式会社
半導体装置
25日前
ローム株式会社
半導体装置
4日前
エイブリック株式会社
半導体装置
27日前
ローム株式会社
半導体装置
4日前
エイブリック株式会社
半導体装置
27日前
ローム株式会社
半導体装置
2日前
株式会社GSユアサ
蓄電装置
6日前
株式会社ティラド
面接触型熱交換器
17日前
太陽誘電株式会社
全固体電池
2日前
オムロン株式会社
電磁継電器
1か月前
個人
半導体パッケージ用ガラス基板
5日前
株式会社GSユアサ
蓄電装置
1か月前
東レ株式会社
ガス拡散層の製造方法
25日前
ニチコン株式会社
コンデンサ
18日前
株式会社ホロン
冷陰極電子源
2日前
株式会社GSユアサ
蓄電装置
2日前
ニチコン株式会社
コンデンサ
18日前
沖電気工業株式会社
アンテナ
1か月前
マクセル株式会社
配列用マスク
17日前
日本特殊陶業株式会社
保持装置
6日前
株式会社ヨコオ
コネクタ
27日前
トヨタ自動車株式会社
二次電池
6日前
ローム株式会社
電子装置
6日前
日本特殊陶業株式会社
保持装置
2日前
日本特殊陶業株式会社
保持装置
1か月前
TDK株式会社
電子部品
2日前
日本特殊陶業株式会社
保持装置
2日前
日本特殊陶業株式会社
保持装置
4日前
ローム株式会社
半導体装置
1か月前
続きを見る
他の特許を見る