TOP
|
特許
|
意匠
|
商標
特許ウォッチ
Twitter
他の特許を見る
10個以上の画像は省略されています。
公開番号
2025140174
公報種別
公開特許公報(A)
公開日
2025-09-29
出願番号
2024039376
出願日
2024-03-13
発明の名称
レーザ装置
出願人
浜松ホトニクス株式会社
代理人
個人
,
個人
,
個人
,
個人
主分類
H01S
5/02251 20210101AFI20250919BHJP(基本的電気素子)
要約
【課題】戻り光に起因するレーザ光源の劣化を抑制すると共に製造を容易にすることができるレーザ装置を提供する。
【解決手段】レーザ装置は、複数のレーザ光La,Lb,Lc,Ldを出射するレーザモジュールと、複数のレーザ光La,Lb,Lc,Ldを集光する集光レンズ3と、複数のレーザ光La,Lb,Lc,Ldを伝播させる光ファイバと、を備えている。X軸方向から見た場合に、Z軸方向に沿って並んだ複数のレーザ光La,Lb,Lc,Ldのうち、第2基準線3cに対してZ軸方向における一方側に位置するレーザ光La,Lbの位置と、第2基準線3cに対してZ軸方向における他方側に位置するレーザ光Lc,Ldの位置とは、第2基準線3cに関して非対称である。ファスト軸コリメートレンズの焦点距離は、複数のレーザ光La,Lb,Lc,Ldの間の各間隔G1,G2,G3の最小値よりも大きい。
【選択図】図12
特許請求の範囲
【請求項1】
第1方向に沿って並んだ複数のレーザ光を前記第1方向に交差する第2方向の一方の側に出射するレーザモジュールと、
前記第2方向に平行な光軸を有し、前記複数のレーザ光を集光する集光レンズと、
前記集光レンズの前記光軸に垂直な入射端面を有し、前記集光レンズによって集光された前記複数のレーザ光を伝播させる光ファイバと、
前記レーザモジュール及び前記集光レンズを収容する筐体と、を備え、
前記レーザモジュールは、複数のレーザユニットを有し、
前記複数のレーザユニットのそれぞれは、
前記複数のレーザ光のうちの少なくとも一つのレーザ光を出射するレーザ光源と、
前記レーザ光の光路に配置され、前記レーザ光源から出射された前記レーザ光を前記第1方向に沿ったファスト軸方向においてコリメートするファスト軸コリメートレンズと、
前記ファスト軸コリメートレンズに対して前記光路の下流側に配置され、前記ファスト軸コリメートレンズから出射された前記レーザ光をスロー軸方向においてコリメートするスロー軸コリメートレンズと、を含み、
前記第2方向から見た場合に、前記第1方向に沿って並んだ状態で前記レーザモジュールから出射された前記複数のレーザ光の間の複数の間隔は、不均一であり、
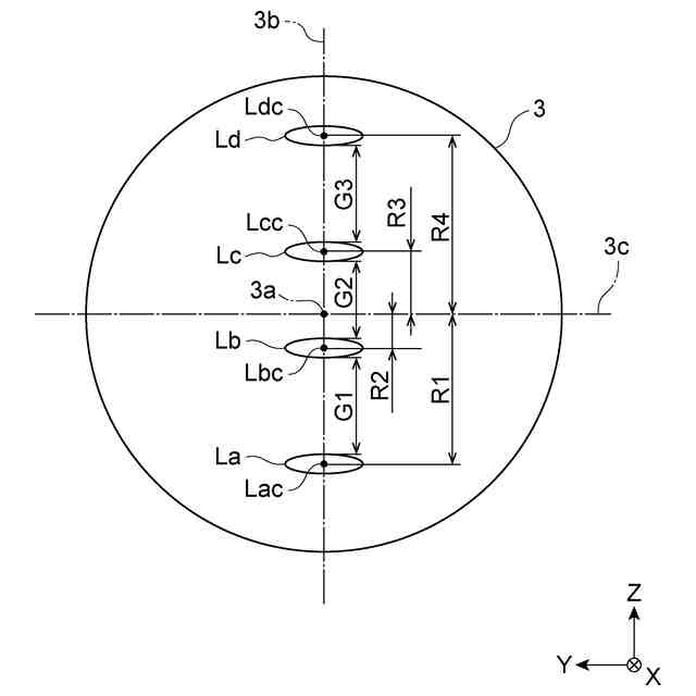
前記第2方向から見た場合に、前記第1方向に沿って並んだ状態で前記レーザモジュールから出射された前記複数のレーザ光のうち、前記第1方向及び前記第2方向の両方に交差する第3方向に沿って延在し且つ前記集光レンズの前記光軸を通る基準線に対して前記第1方向における一方側に位置する少なくとも一つのレーザ光の位置と、前記基準線に対して前記第1方向における他方側に位置するすべてのレーザ光の位置とは、前記基準線に関して非対称であり、
前記複数のレーザユニットのそれぞれの前記ファスト軸コリメートレンズの焦点距離は、前記複数の間隔のうちの最小値よりも大きい、レーザ装置。
続きを表示(約 1,300 文字)
【請求項2】
前記第2方向から見た場合に、前記第1方向に沿って並んだ状態で前記レーザモジュールから出射された前記複数のレーザ光のうち、前記基準線に対して前記第1方向における一方側に位置するすべてのレーザ光の位置と、前記基準線に対して前記第1方向における他方側に位置するすべてのレーザ光の位置とは、前記基準線に関して非対称である、請求項1に記載のレーザ装置。
【請求項3】
前記レーザモジュールは、前記第2方向において前記集光レンズから離れるほど前記第1方向における位置が高くなるように階段状に並んだ複数の載置面を含む支持体を更に有し、
前記複数のレーザユニットのそれぞれの前記レーザ光源は、前記複数の載置面のそれぞれに配置され且つ前記第3方向の一方の側に前記レーザ光を出射し、
前記複数のレーザユニットのそれぞれは、前記スロー軸コリメートレンズに対して前記光路の下流側に配置され且つ前記スロー軸コリメートレンズから出射された前記レーザ光を前記第2方向に沿って前記集光レンズ側に反射する反射ミラーを更に含み、
前記複数のレーザユニットのそれぞれの前記反射ミラーは、前記第1方向から見た場合に前記第2方向に沿って並んでおり、前記第3方向から見た場合に前記レーザ光源と重なる反射面を含んでいる、請求項1に記載のレーザ装置。
【請求項4】
前記複数のレーザユニットと前記光ファイバとの間に配置され、前記複数のレーザユニットから出射された前記複数のレーザ光を透過させ且つ前記光ファイバから出射された光を反射する波長フィルタを更に備える、請求項1に記載のレーザ装置。
【請求項5】
前記ファスト軸コリメートレンズの前記焦点距離は、100μm~400μmである、請求項1に記載のレーザ装置。
【請求項6】
前記複数の間隔のそれぞれは、100μm~500μmである、請求項1に記載のレーザ装置。
【請求項7】
前記複数の間隔のそれぞれの差は、700μm以下である、請求項1に記載のレーザ装置。
【請求項8】
前記第2方向から見た場合に、前記複数のレーザ光のうち前記基準線に対して前記第1方向における一方側に位置し且つ前記基準線から数えてn(nは自然数)番目のレーザ光から前記基準線までの距離と、前記複数のレーザ光のうち前記基準線に対して前記第1方向における他方側に位置し且つ前記基準線から数えてn番目のレーザ光から前記基準線までの距離との差は、10μm~500μmである、請求項1に記載のレーザ装置。
【請求項9】
前記複数のレーザユニットのそれぞれの前記レーザ光源は、一つのレーザダイオードバーを有し、
前記一つのレーザダイオードバーは、複数の発光領域を含んでいる、請求項1に記載のレーザ装置。
【請求項10】
前記複数のレーザユニットのそれぞれの前記レーザ光源は、複数の半導体レーザ素子を有し、
前記複数の半導体レーザ素子のそれぞれは、一つの発光領域を含んでいる、請求項1に記載のレーザ装置。
発明の詳細な説明
【技術分野】
【0001】
本発明は、レーザ装置に関する。
続きを表示(約 2,800 文字)
【背景技術】
【0002】
複数のレーザ光を出射するレーザ光源と、光ファイバとを備えるレーザ装置が知られている(例えば、特許文献1を参照)。このようなレーザ装置では、レーザ光源から出射された複数のレーザ光は、集光レンズによって集光された後、光ファイバに入射する。
【先行技術文献】
【特許文献】
【0003】
特開2019-114657号公報
【発明の概要】
【発明が解決しようとする課題】
【0004】
上述したようなレーザ装置では、いわゆる戻り光が発生する場合があり、当該戻り光がレーザ光源に入射すると、レーザ光源が劣化してしまうおそれがある。また、このようなレーザ装置には精密さが求められるため、その製造が困難な場合がある。
【0005】
本発明は、戻り光に起因するレーザ光源の劣化を抑制すると共に製造を容易にすることができるレーザ装置を提供することを目的とする。
【課題を解決するための手段】
【0006】
本発明のレーザ装置は、[1]「第1方向に沿って並んだ複数のレーザ光を前記第1方向に交差する第2方向の一方の側に出射するレーザモジュールと、前記第2方向に平行な光軸を有し、前記複数のレーザ光を集光する集光レンズと、前記集光レンズの前記光軸に垂直な入射端面を有し、前記集光レンズによって集光された前記複数のレーザ光を伝播させる光ファイバと、前記レーザモジュール及び前記集光レンズを収容する筐体と、を備え、前記レーザモジュールは、複数のレーザユニットを有し、前記複数のレーザユニットのそれぞれは、前記複数のレーザ光のうちの少なくとも一つのレーザ光を出射するレーザ光源と、前記レーザ光の光路に配置され、前記レーザ光源から出射された前記レーザ光を前記第1方向に沿ったファスト軸方向においてコリメートするファスト軸コリメートレンズと、前記ファスト軸コリメートレンズに対して前記光路の下流側に配置され、前記ファスト軸コリメートレンズから出射された前記レーザ光をスロー軸方向においてコリメートするスロー軸コリメートレンズと、を含み、前記第2方向から見た場合に、前記第1方向に沿って並んだ状態で前記レーザモジュールから出射された前記複数のレーザ光の間の複数の間隔は、不均一であり、前記第2方向から見た場合に、前記第1方向に沿って並んだ状態で前記レーザモジュールから出射された前記複数のレーザ光のうち、前記第1方向及び前記第2方向の両方に交差する第3方向に沿って延在し且つ前記集光レンズの前記光軸を通る基準線に対して前記第1方向における一方側に位置する少なくとも一つのレーザ光の位置と、前記基準線に対して前記第1方向における他方側に位置するすべてのレーザ光の位置とは、前記基準線に関して非対称であり、前記複数のレーザユニットのそれぞれの前記ファスト軸コリメートレンズの焦点距離は、前記複数の間隔のうちの最小値よりも大きい、レーザ装置。」である。
【0007】
上記[1]に記載のレーザ装置では、第2方向から見た場合に、第1方向に沿って並んだ状態でレーザモジュールから出射された複数のレーザ光のうち、基準線に対して第1方向における一方側に位置する少なくとも一つのレーザ光の位置と、基準線に対して第1方向における他方側に位置するすべてのレーザ光の位置とは、基準線に関して非対称である。これにより、基準線に対して第1方向における一方側に位置する少なくとも一つのレーザ光が光ファイバの入射端面で反射された後、戻り光としてレーザ光源に入射したとしても、当該戻り光の位置と当該レーザ光源の発光領域の位置とが一致しないため、当該レーザ光源の劣化が抑制される。また、複数のレーザユニットのそれぞれのファスト軸コリメートレンズの焦点距離は、第1方向に沿って並んだ状態でレーザモジュールから出射された複数のレーザ光の間の複数の間隔のうちの最小値よりも大きい。これにより、レーザ光源とファスト軸コリメートレンズの入射面との間の距離を大きくすることができるため、レーザ光源に対するファスト軸コリメートレンズの取り付けが容易となる。したがって、レーザ装置の製造が容易となる。よって、このレーザ装置によれば、戻り光に起因するレーザ光源の劣化が抑制されると共に製造が容易となる。
【0008】
本発明のレーザ装置は、[2]「前記第2方向から見た場合に、前記第1方向に沿って並んだ状態で前記レーザモジュールから出射された前記複数のレーザ光のうち、前記基準線に対して前記第1方向における一方側に位置するすべてのレーザ光の位置と、前記基準線に対して前記第1方向における他方側に位置するすべてのレーザ光の位置とは、前記基準線に関して非対称である、上記[1]に記載のレーザ装置。」であってもよい。これにより、戻り光に起因するレーザ光源の劣化が確実に抑制される。
【0009】
本発明のレーザ装置は、[3]「前記レーザモジュールは、前記第2方向において前記集光レンズから離れるほど前記第1方向における位置が高くなるように階段状に並んだ複数の載置面を含む支持体を更に有し、前記複数のレーザユニットのそれぞれの前記レーザ光源は、前記複数の載置面のそれぞれに配置され且つ前記第3方向の一方の側に前記レーザ光を出射し、前記複数のレーザユニットのそれぞれは、前記スロー軸コリメートレンズに対して前記光路の下流側に配置され且つ前記スロー軸コリメートレンズから出射された前記レーザ光を前記第2方向に沿って前記集光レンズ側に反射する反射ミラーを更に含み、前記複数のレーザユニットのそれぞれの前記反射ミラーは、前記第1方向から見た場合に前記第2方向に沿って並んでおり、前記第3方向から見た場合に前記レーザ光源と重なる反射面を含んでいる、上記[1]又は[2]に記載のレーザ装置。」であってもよい。これにより、第1方向における各載置面の位置を調整することによって、基準線に対して第1方向における一方側に位置する少なくとも一つのレーザ光の位置と、基準線に対して第1方向における他方側に位置するすべてのレーザ光の位置との非対称の状態を調整することができる。
【0010】
本発明のレーザ装置は、[4]「前記複数のレーザユニットと前記光ファイバとの間に配置され、前記複数のレーザユニットから出射された前記複数のレーザ光を透過させ且つ前記光ファイバから出射された光を反射する波長フィルタを更に備える、上記[1]~[3]のいずれか一つに記載のレーザ装置。」であってもよい。これにより、光ファイバを介して筐体の外部から筐体の内部に入射した光の各レーザユニットへの入射が抑制される。
(【0011】以降は省略されています)
この特許をJ-PlatPat(特許庁公式サイト)で参照する
関連特許
個人
フレキシブル電気化学素子
4日前
日本発條株式会社
積層体
15日前
日新イオン機器株式会社
イオン源
今日
個人
防雪防塵カバー
15日前
ローム株式会社
半導体装置
6日前
ローム株式会社
半導体装置
13日前
ローム株式会社
半導体装置
13日前
ローム株式会社
半導体装置
11日前
株式会社ユーシン
操作装置
4日前
ローム株式会社
半導体装置
13日前
株式会社GSユアサ
蓄電設備
4日前
株式会社GSユアサ
蓄電装置
11日前
株式会社GSユアサ
蓄電装置
15日前
オムロン株式会社
電磁継電器
5日前
太陽誘電株式会社
コイル部品
4日前
太陽誘電株式会社
全固体電池
11日前
個人
半導体パッケージ用ガラス基板
14日前
株式会社GSユアサ
蓄電設備
4日前
株式会社ホロン
冷陰極電子源
11日前
トヨタ自動車株式会社
二次電池
15日前
日本特殊陶業株式会社
保持装置
13日前
日本特殊陶業株式会社
保持装置
11日前
日本特殊陶業株式会社
保持装置
15日前
TDK株式会社
電子部品
11日前
日本特殊陶業株式会社
保持装置
11日前
トヨタ自動車株式会社
蓄電装置
4日前
ローム株式会社
電子装置
15日前
ノリタケ株式会社
熱伝導シート
4日前
サクサ株式会社
電池の固定構造
4日前
日東電工株式会社
積層体
5日前
トヨタ自動車株式会社
バッテリ
5日前
ローム株式会社
半導体装置
15日前
SMK株式会社
キートップ及びスイッチ
6日前
古河電気工業株式会社
端子
4日前
トヨタ自動車株式会社
電池パック
19日前
ローム株式会社
半導体装置
15日前
続きを見る
他の特許を見る