TOP
|
特許
|
意匠
|
商標
特許ウォッチ
Twitter
他の特許を見る
10個以上の画像は省略されています。
公開番号
2025140254
公報種別
公開特許公報(A)
公開日
2025-09-29
出願番号
2024039528
出願日
2024-03-14
発明の名称
シート収納装置、及び、画像形成装置
出願人
株式会社リコー
代理人
個人
主分類
B65H
1/26 20060101AFI20250919BHJP(運搬;包装;貯蔵;薄板状または線条材料の取扱い)
要約
【課題】給送トレイに付加機能を持たせるように変更する場合であっても、画像形成装置の設置面積の範囲外にはみ出してしまう不具合を生じさせない。
【解決手段】シートPを収納可能な給送トレイ12が、装置本体に対して着脱可能に設置されている。そして、給送トレイ12は、トレイ本体部13と、トレイ本体部13に対して交換可能に設置されるとともに、少なくとも、基準トレイ交換部14と、基準トレイ交換部14にはない付加機能を有する付加トレイ交換部15~17と、を含んだ複数のトレイ交換部14~17のうちから選択された1つのトレイ交換部と、が設けられている。そして、複数のトレイ交換部14~17のうちいずれのトレイ交換部がトレイ本体部13に設置された場合であっても、装置本体11に装着されたときの給送トレイ12は、装置本体11の設置面積W×Mの範囲内に収まる。
【選択図】図3
特許請求の範囲
【請求項1】
装置本体に対して着脱可能に設置されて、シートを収納可能な給送トレイを備え、
前記給送トレイは、
トレイ本体部と、
前記トレイ本体部に対して交換可能に設置されるとともに、少なくとも、基準トレイ交換部と、前記基準トレイ交換部にはない付加機能を有する付加トレイ交換部と、を含んだ複数のトレイ交換部のうちから選択された1つのトレイ交換部と、
を具備し、
前記複数のトレイ交換部のうちいずれのトレイ交換部が前記トレイ本体部に設置された場合であっても、前記装置本体に装着されたときの前記給送トレイは、前記装置本体の設置面積の範囲内に収まることを特徴とするシート収納装置。
続きを表示(約 1,200 文字)
【請求項2】
前記複数のトレイ交換部のうちいずれのトレイ交換部が前記トレイ本体部に設置された場合であっても、前記装置本体に前記給送トレイが設置されたときの当該給送トレイの設置面積と高さとがいずれも略同等になるように構成されたことを特徴とする請求項1に記載のシート収納装置。
【請求項3】
前記付加トレイ交換部は、外部からの電力供給を要する被電力供給部材と、前記被電力供給部材に対して電気的に接続された交換部側コネクタと、を具備し、
前記トレイ本体部は、前記交換部側コネクタに接続可能な中継コネクタと、前記中継コネクタに対して電気的に接続されるとともに前記装置本体の装置側コネクタに接続可能な本体部側コネクタと、を具備し、
前記付加トレイ交換部は、前記トレイ本体部に接続された状態で、前記装置側コネクタから前記本体部側コネクタに入力された電力が前記中継コネクタ、前記交換部側コネクタを介して前記被電力供給部材に供給されることを特徴とする請求項1に記載のシート収納装置。
【請求項4】
前記交換部側コネクタと前記中継コネクタとが接続される動作の方向と、前記トレイ本体部の被接続部に前記付加トレイ交換部の接続部が接続されて前記給送トレイとして外観が一体化される動作の方向と、が異なる方向であることを特徴とする請求項3に記載のシート収納装置。
【請求項5】
前記交換部側コネクタと前記中継コネクタとが接続される動作の方向と、前記トレイ本体部の被接続部に前記付加トレイ交換部の接続部が接続されて前記給送トレイとして外観が一体化される動作の方向と、が同じ方向であることを特徴とする請求項3に記載のシート収納装置。
【請求項6】
前記接続部は、爪状又は穴状に形成されて、穴状又は爪状に形成された前記被接続部に接続されることを特徴とする請求項4又は請求項5に記載のシート収納装置。
【請求項7】
前記接続部と前記被接続部とは、磁力又はネジ締結によって接続されることを特徴とする請求項4又は請求項5に記載のシート収納装置。
【請求項8】
前記トレイ本体部は、前記給送トレイを前記装置本体から引き出すときに把持される把持部が形成された外装カバーを具備し、
前記本体部側コネクタは、前記外装カバーの内側に設けられたことを特徴とする請求項4又は請求項5に記載のシート収納装置。
【請求項9】
前記トレイ交換部には識別情報が記憶された記憶手段が設けられており、前記装置本体には前記記憶手段に記憶された記憶情報を読み取る読取手段が設けられていることを特徴とする請求項1又は請求項2に記載のシート収納装置。
【請求項10】
前記トレイ本体部に前記付加トレイ交換部が設置されたときに、当該付加トレイ交換部における付加機能が調整可能になることを特徴とする請求項9に記載のシート収納装置。
(【請求項11】以降は省略されています)
発明の詳細な説明
【技術分野】
【0001】
この発明は、シートを収納可能なシート収納装置と、それを備えた複写機、プリンタ、ファクシミリ、又は、それらの複合機や印刷機等の画像形成装置と、に関するものである。
続きを表示(約 2,400 文字)
【背景技術】
【0002】
従来から、複写機やプリンタや印刷機等の画像形成装置において、用紙などのシートが収容された給送トレイ(給紙カセット)が画像形成装置本体に対して着脱可能(引出し可能)に設置されたものが広く知られている(例えば、特許文献1参照。)。
【0003】
一方、特許文献1には、普通サイズのシートが収納される給紙カセット(給送トレイ)を、長尺サイズのシートを収納可能な付加的な機能を有する給紙カセットに変更するために、給紙カセットの一部を画像形成装置の設置面積の範囲外にはみ出す位置までシート搬送方向に延長する技術が開示されている。
【発明の概要】
【発明が解決しようとする課題】
【0004】
従来のシート収納装置は、給送トレイに付加機能を持たせるように変更する場合に、シート収納装置の装置本体(画像形成装置の装置本体)の設置面積の範囲外にはみ出してしまっていた。そのため、そのはみ出す範囲を考慮して、シート収納装置の設置位置を定める必要があり、ユーザーにとって使い勝手が良くなかった。
【0005】
この発明は、上述のような課題を解決するためになされたもので、給送トレイに付加機能を持たせるように変更する場合であっても、シート収納装置の設置面積の範囲外にはみ出してしまう不具合が生じない、シート収納装置、及び、画像形成装置を提供することにある。
【課題を解決するための手段】
【0006】
この発明におけるシート収納装置は、装置本体に対して着脱可能に設置されて、シートを収納可能な給送トレイを備え、前記給送トレイは、トレイ本体部と、前記トレイ本体部に対して交換可能に設置されるとともに、少なくとも、基準トレイ交換部と、前記基準トレイ交換部にはない付加機能を有する付加トレイ交換部と、を含んだ複数のトレイ交換部のうちから選択された1つのトレイ交換部と、を具備し、前記複数のトレイ交換部のうちいずれのトレイ交換部が前記トレイ本体部に設置された場合であっても、前記装置本体に装着されたときの前記給送トレイは、前記装置本体の設置面積の範囲内に収まるものである。
【発明の効果】
【0007】
本発明によれば、給送トレイに付加機能を持たせるように変更する場合であっても、シート収納装置の設置面積の範囲外にはみ出してしまう不具合が生じない、シート収納装置、及び、画像形成装置を提供することができる。
【図面の簡単な説明】
【0008】
この発明の実施の形態における画像形成装置を示す全体構成図である。
シート給送装置の一部を示す構成図である。
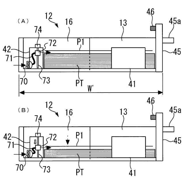
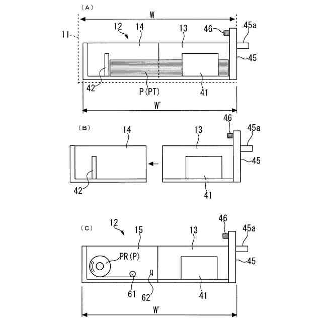
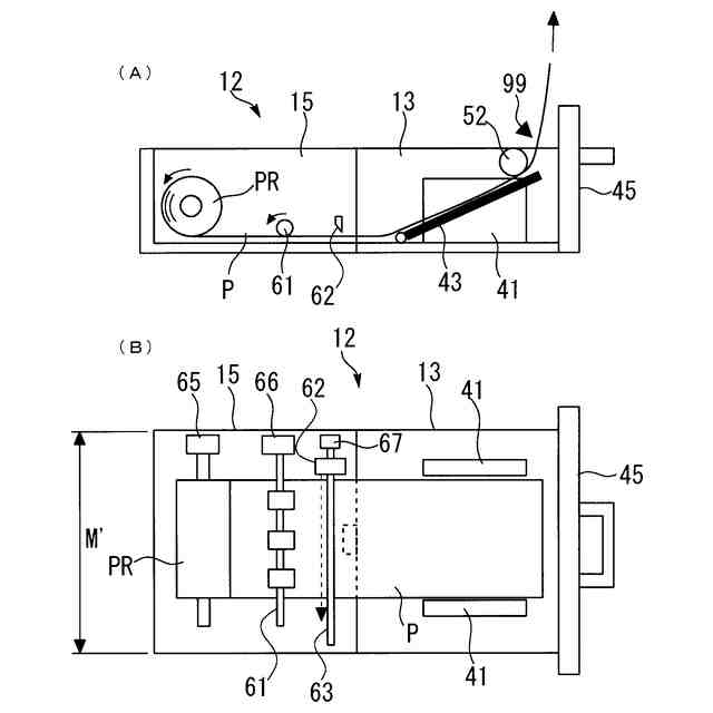
(A)トレイ本体部に基準トレイ交換部が設置された給送トレイを示す側面図と、(B)トレイ本体部から基準トレイ交換部が離脱された状態を示す側面図と、(C)トレイ本体部に付加トレイ交換部が設置された給送トレイを示す側面図と、である。
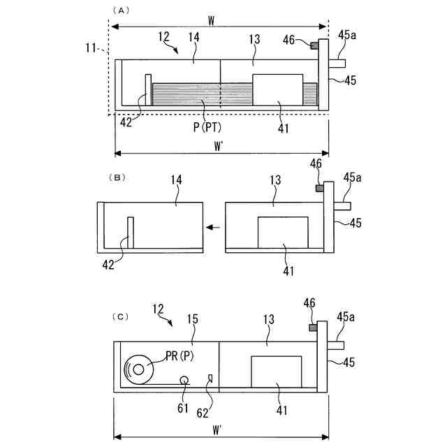
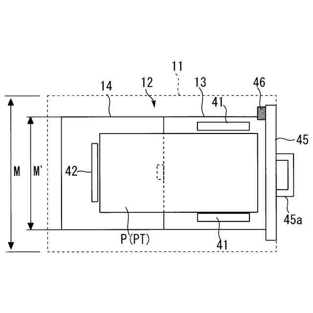
トレイ本体部に基準トレイ交換部が設置された給送トレイを示す上面図である。
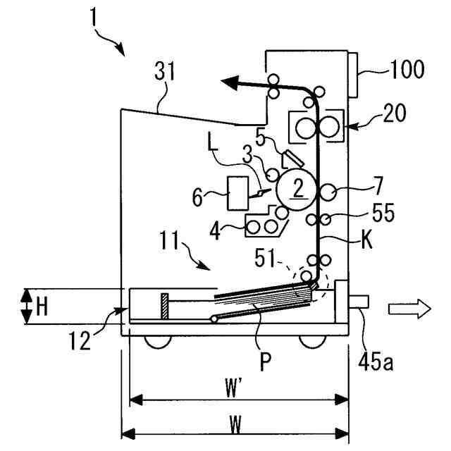
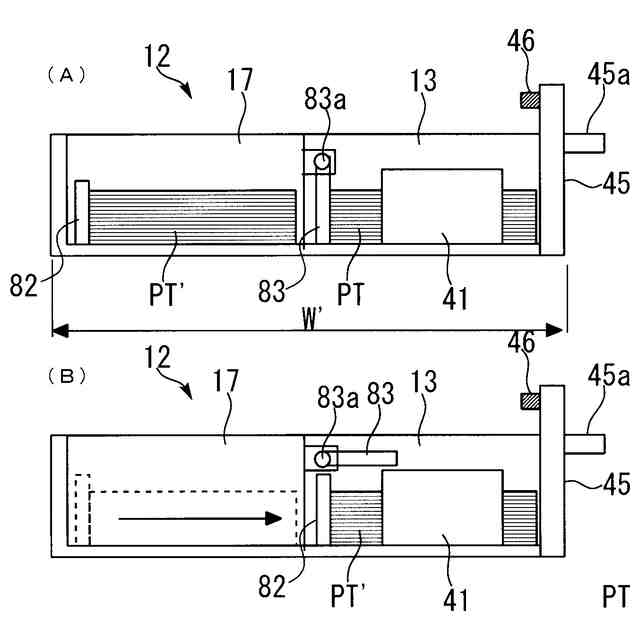
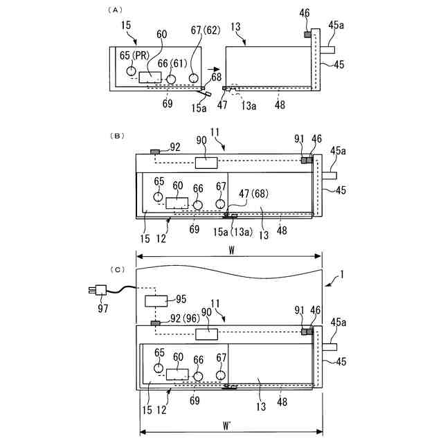
(A)トレイ本体部に付加トレイ交換部が設置された給送トレイの動作を示す側面図と、(B)トレイ本体部に付加トレイ交換部が設置された給送トレイを示す上面図と、である。
(A)トレイ本体部に付加トレイ交換部が設置される動作を示す側面図と、(B)トレイ本体部に付加トレイ交換部が設置された給送トレイがシート収納装置に装着された状態を示す側面図と、(C)(B)のシート収納装置が画像形成装置本体に装着された状態を示す側面図と、である。
トレイ本体部に付加トレイ交換部が設置されたときの操作表示パネルの表示の一例を示す図である。
トレイ本体部にエアアシスト機構を有する付加トレイ交換部が設置された給送トレイの動作を示す側面図である。
トレイ本体部にタンデム収納機構を有する付加トレイ交換部が設置された給送トレイの動作を示す側面図である。
変形例1としての、トレイ本体部に付加トレイ交換部が設置される動作を示す側面図である。
変形例2としての、シート収納装置が画像形成装置本体に装着された状態を示す側面図である。
【発明を実施するための形態】
【0009】
以下、この発明を実施するための形態について、図面を参照して詳細に説明する。なお、各図中、同一又は相当する部分には同一の符号を付しており、その重複説明は適宜に簡略化ないし省略する。
【0010】
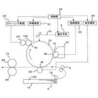
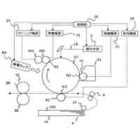
まず、図1にて、画像形成装置1における全体の構成・動作について説明する。
図1において、1は画像形成装置としてのプリンタ、2は感光体ドラム、3は感光体ドラム2の表面を帯電する帯電装置、6は帯電装置3によって帯電された感光体ドラム2の表面にレーザ光Lを照射して静電潜像を形成する露光装置、を示す。
また、4は感光体ドラム2の表面に形成された静電潜像を現像してトナー像を形成する現像装置、7は感光体ドラム2の表面に形成されたトナー像をシートPに転写する転写装置、を示す。また、5は感光体ドラム2の表面に残存する未転写トナーをクリーニングするクリーニング装置を示す。
また、11は給送トレイ12が設けられたシート収納装置(シート給送装置)、51は給送トレイ12に収納されたシートPを給送するための給送機構、を示す。
また、55は転写装置7の位置に向けてシートPを搬送するレジストローラ対(タイミングローラ対)、20はシートP上に担持されたトナー像(未定着画像)を定着する定着装置、31は画像形成装置本体1から排出されたシートPが積載されるスタック部、を示す。
(【0011】以降は省略されています)
この特許をJ-PlatPat(特許庁公式サイト)で参照する
関連特許
株式会社リコー
画像形成装置
3日前
株式会社リコー
画像形成装置
3日前
株式会社リコー
感熱記録媒体
今日
株式会社リコー
画像形成装置
3日前
株式会社リコー
印刷システム
3日前
株式会社リコー
生体情報測定装置
今日
株式会社リコー
液体を吐出する装置
今日
株式会社リコー
電極及びその製造方法
1日前
株式会社リコー
電極及びその製造方法
3日前
株式会社リコー
多孔質構造体の製造方法
3日前
株式会社リコー
ファイル分析・保存システム
3日前
株式会社リコー
パルスバルブおよび塗布装置
3日前
株式会社リコー
液体塗布装置および洗浄方法
3日前
株式会社リコー
塗装システム、及び塗装方法
3日前
株式会社リコー
定着装置、及び、画像形成装置
3日前
株式会社リコー
定着装置、及び、画像形成装置
3日前
株式会社リコー
液体吐出装置、及び液体吐出方法
3日前
株式会社リコー
パーソナライズビデオメカニズム
1日前
株式会社リコー
レーザ照射装置、レーザ照射方法
3日前
株式会社リコー
媒体処理装置及び画像形成システム
1日前
株式会社リコー
mRNA発現量の免疫学的評価方法
今日
株式会社リコー
液体吐出ヘッドおよび液体吐出装置
今日
株式会社リコー
媒体処理装置及び画像形成システム
今日
株式会社リコー
液滴形成装置及びゲル粒子の製造方法
1日前
株式会社リコー
印刷システム、印刷装置及び印刷方法
3日前
株式会社リコー
表示装置、表示方法およびプログラム
3日前
株式会社リコー
情報処理システム、及び情報処理方法
1日前
株式会社リコー
原稿処理装置、及び原稿処理システム
今日
株式会社リコー
出力装置、出力システムおよび出力方法
3日前
株式会社リコー
液体吐出ヘッド及び液体を吐出する装置
今日
株式会社リコー
画像形成装置及び転写残トナーの回収方法
今日
株式会社リコー
情報処理方法、情報処理装置、プログラム
3日前
株式会社リコー
画像形成装置及び転写残トナーの回収方法
今日
株式会社リコー
投受光装置、測距システムおよびプログラム
今日
株式会社リコー
画像形成装置、制御方法、およびプログラム
1日前
株式会社リコー
液体組成物、液体吐出装置、及び液体吐出方法
3日前
続きを見る
他の特許を見る