TOP
|
特許
|
意匠
|
商標
特許ウォッチ
Twitter
他の特許を見る
公開番号
2025141691
公報種別
公開特許公報(A)
公開日
2025-09-29
出願番号
2024041741
出願日
2024-03-15
発明の名称
電池用の正極活物質、正極、電池、及び正極活物質の製造方法
出願人
トヨタ自動車株式会社
代理人
弁理士法人太陽国際特許事務所
主分類
H01M
4/525 20100101AFI20250919BHJP(基本的電気素子)
要約
【課題】電池に用いた際に電池における容量の低下が抑制される電池用の正極活物質の提供。
【解決手段】複数の一次粒子が凝集して二次粒子を形成した正極活物質であって、二次粒子を構成する一次粒子の平均数が6個以上であり、角度120°以下となる角を3箇所以上有する一次粒子を粒子Aとしたとき、粒子Aの全ての一次粒子に対する個数割合が0.10%以上である、電池用の正極活物質。
【選択図】図1
特許請求の範囲
【請求項1】
複数の一次粒子が凝集して二次粒子を形成した正極活物質であって、
前記二次粒子を構成する前記一次粒子の平均数が6個以上であり、
角度120°以下となる角を3箇所以上有する前記一次粒子を粒子Aとしたとき、前記粒子Aの全ての一次粒子に対する個数割合が0.10%以上である、
電池用の正極活物質。
続きを表示(約 440 文字)
【請求項2】
前記正極活物質がLi、Ni、Co、Mn、及びOの元素を含み、前記元素の組成がLi
x
Ni
a
Co
b
Mn
c
O
y
で表される、請求項1に記載の正極活物質。
(前記組成において、0.1≦x≦1.5、0.5≦a≦1.0、0≦b≦0.3、0≦c≦0.3、a+b+c=1.0、1.5≦y≦2.1である。)
【請求項3】
請求項1又は請求項2に記載の正極活物質を含む正極。
【請求項4】
請求項3に記載の正極を含む電池。
【請求項5】
正極活物質の複数の一次粒子が凝集して二次粒子を形成した第1二次粒子体を準備する準備工程と、
前記第1二次粒子体に機械的応力を付与するメカノケミカル処理を施し、二次粒子を構成する前記一次粒子の平均数が6個以上である第2二次粒子体を得る処理工程と、
を有する正極活物質の製造方法。
発明の詳細な説明
【技術分野】
【0001】
本開示は、電池用の正極活物質、正極、電池、及び正極活物質の製造方法に関する。
続きを表示(約 2,200 文字)
【背景技術】
【0002】
従来から、優れた抵抗特性を有する電池用の正極活物質として、複数の一次粒子が凝集して二次粒子を形成した正極活物質が用いられている。例えば、特許文献1には、平均短径が0.08μm以上0.8μm以下、平均長径が2μm以上10μm以下、平均アスペクト比が8以上80以下であるリチウムマンガン系複合酸化物、が開示されている。
【先行技術文献】
【特許文献】
【0003】
特開2014-139128号公報
【発明の概要】
【発明が解決しようとする課題】
【0004】
従来の正極活物質は、円形度の高い一次粒子が凝集した二次粒子を有している。この正極活物質に充電及び放電を施すと一次粒子に膨張及び収縮が生じ、収縮時に一次粒子が孤立して、凝集した二次粒子の状態を保てない粒子が存在した状態となることがあった。そして、二次粒子の状態を保てない粒子の存在により、正極活物質を含む電池において容量の低下が発生することがあった。
【0005】
本開示は、上記の事情に鑑みて成されたものであり、電池に用いた際に電池における容量の低下が抑制される電池用の正極活物質、該正極活物質を含む正極、及び電池を提供することを目的とする。
【課題を解決するための手段】
【0006】
上記課題を解決するための手段は、以下の態様を含む。
<1> 複数の一次粒子が凝集して二次粒子を形成した正極活物質であって、
前記二次粒子を構成する前記一次粒子の平均数が6個以上であり、
角度120°以下となる角を3箇所以上有する前記一次粒子を粒子Aとしたとき、前記粒子Aの全ての一次粒子に対する個数割合が0.10%以上である、
電池用の正極活物質。
<2> 前記正極活物質がLi、Ni、Co、Mn、及びOの元素を含み、前記元素の組成がLi
x
Ni
a
Co
b
Mn
c
O
y
で表される、<1>に記載の正極活物質。
(前記組成において、0.1≦x≦1.5、0.5≦a≦1.0、0≦b≦0.3、0≦c≦0.3、a+b+c=1.0、1.5≦y≦2.1である。)
<3> <1>又は<2>に記載の正極活物質を含む正極。
<4> <3>に記載の正極を含む電池。
<5> 正極活物質の複数の一次粒子が凝集して二次粒子を形成した第1二次粒子体を準備する準備工程と、
前記第1二次粒子体に機械的応力を付与するメカノケミカル処理を施し、二次粒子を構成する前記一次粒子の平均数が6個以上である第2二次粒子体を得る処理工程と、
を有する正極活物質の製造方法。
【発明の効果】
【0007】
本開示によれば、電池に用いた際に電池における容量の低下が抑制される電池用の正極活物質、該正極活物質を含む正極、及び電池が提供される。
【図面の簡単な説明】
【0008】
(A)は本開示の実施形態に係る正極活物質における二次粒子を示す概略構成図であり、(B)は(A)の二次粒子に対して充電及び放電を施したのちの状態を示す概略構成図である。
本開示の実施形態に係る正極活物質に含まれる、角度120°以下となる角を3箇所以上有する一次粒子(つまり粒子A)を示す概略断面図である。
本開示の実施形態に係る正極活物質の製造方法を説明する概略構成図である。
(A)は従来の正極活物質における二次粒子を示す概略構成図であり、(B)は(A)の二次粒子に対して充電及び放電を施したのちの状態を示す概略構成図である。
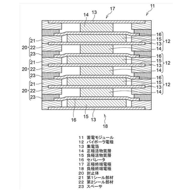
本開示の実施形態に係る電池の構造を示す概略断面図である。
【発明を実施するための形態】
【0009】
<電池用の正極活物質>
本開示の実施形態に係る電池用の正極活物質(以下単に「本開示の正極活物質」とも称す)は、複数の一次粒子が凝集して二次粒子を形成した正極活物質である。
本開示の正極活物質では、前記二次粒子を構成する一次粒子の平均数が6個以上である。また、角度120°以下となる角を3箇所以上有する一次粒子を粒子Aとしたとき、粒子Aの全ての一次粒子に対する個数割合が0.10%以上である。
【0010】
ここで、まず角度120°以下となる角を3箇所以上有する一次粒子を有しない正極活物質、つまり粒子Aを含まず、円形度の高い一次粒子のみを有する従来の正極活物質について説明する。図4(A)に示すように、円形度の高い一次粒子12B同士が凝集して形成された二次粒子22Bでは、一次粒子12B同士の接触が点接触となる箇所が多くなり、接触する面積が小さくなる。この正極活物質の二次粒子22Bに対して充電及び放電を施すと一次粒子12Bに膨張及び収縮が生じ、図4(B)に示すように収縮時に一次粒子12Bが孤立し、凝集した状態を保てない二次粒子23Bが存在した状態となることがある。その結果、正極活物質を含む電池において容量の低下が発生することがあった。
(【0011】以降は省略されています)
この特許をJ-PlatPat(特許庁公式サイト)で参照する
関連特許
トヨタ自動車株式会社
車両
3日前
トヨタ自動車株式会社
ロータ
1日前
トヨタ自動車株式会社
電動車
1日前
トヨタ自動車株式会社
塗布装置
1日前
トヨタ自動車株式会社
蓄電装置
3日前
トヨタ自動車株式会社
蓄電装置
1日前
トヨタ自動車株式会社
蓄電セル
1日前
トヨタ自動車株式会社
蓄電セル
1日前
トヨタ自動車株式会社
育苗装置
今日
トヨタ自動車株式会社
蓄電装置
今日
トヨタ自動車株式会社
蓄電装置
今日
トヨタ自動車株式会社
制御装置
3日前
トヨタ自動車株式会社
電極積層体
今日
トヨタ自動車株式会社
高圧タンク
3日前
トヨタ自動車株式会社
電気自動車
1日前
トヨタ自動車株式会社
情報処理装置
1日前
トヨタ自動車株式会社
情報処理装置
3日前
トヨタ自動車株式会社
情報処理装置
3日前
トヨタ自動車株式会社
情報処理装置
3日前
トヨタ自動車株式会社
水素貯蔵装置
今日
トヨタ自動車株式会社
車両制御装置
今日
トヨタ自動車株式会社
情報処理装置
3日前
トヨタ自動車株式会社
情報処理装置
3日前
トヨタ自動車株式会社
電池モジュール
3日前
トヨタ自動車株式会社
車両の制御装置
今日
トヨタ自動車株式会社
電池及び組電池
3日前
トヨタ自動車株式会社
車載用制御装置
今日
トヨタ自動車株式会社
車両の制御装置
3日前
トヨタ自動車株式会社
車両の制御装置
今日
トヨタ自動車株式会社
電動車の暖房装置
1日前
トヨタ自動車株式会社
遠隔操作システム
1日前
トヨタ自動車株式会社
車両運転支援装置
3日前
トヨタ自動車株式会社
異常検出システム
1日前
トヨタ自動車株式会社
運転支援システム
今日
トヨタ自動車株式会社
車両運転支援装置
1日前
トヨタ自動車株式会社
コネクタ取付構造
3日前
続きを見る
他の特許を見る