TOP
|
特許
|
意匠
|
商標
特許ウォッチ
Twitter
他の特許を見る
10個以上の画像は省略されています。
公開番号
2025142081
公報種別
公開特許公報(A)
公開日
2025-09-29
出願番号
2025120438,2025100181
出願日
2025-07-17,2010-01-11
発明の名称
半導体装置及び表示装置
出願人
株式会社半導体エネルギー研究所
代理人
主分類
G09G
3/36 20060101AFI20250919BHJP(教育;暗号方法;表示;広告;シール)
要約
【課題】プルアップトランジスタのゲートの電位の低下を抑制することを課題の一とする
。
【解決手段】駆動回路が有する第1のトランジスタは、第1の端子が第2の配線に電気的
に接続され、第2の端子が第1の配線に電気的に接続され、ゲートが第2の回路及び第3
のトランジスタの第1の端子に電気的に接続され、第2のトランジスタは、第1の端子が
第1の配線に電気的に接続され、第2の端子が第6の配線に電気的に接続され、ゲートが
第1の回路及び第3のトランジスタのゲートに電気的に接続され、第3のトランジスタは
、第2の端子が第6の配線に電気的に接続され、第1の回路は、第3の配線、第4の配線
、第5の配線、及び第6の配線に電気的に接続され、第2の回路は、第1の配線、第2の
配線、及び第6の配線に電気的に接続されている。
【選択図】図1
特許請求の範囲
【請求項1】
第1乃至第6のトランジスタを有し、
前記第1乃至第6のトランジスタのそれぞれは、ボトムゲート型のトランジスタであり、
前記第1のトランジスタのソース電極またはドレイン電極の一方は、ゲート線と常に導通し、
前記第1のトランジスタのソース電極またはドレイン電極の他方は、クロック信号線と常に導通し、
前記第2のトランジスタのソース電極またはドレイン電極の一方は、前記ゲート線と常に導通し、
前記第3のトランジスタのソース電極又はドレイン電極の一方は、前記第1のトランジスタのゲート電極と常に導通し、
前記第3のトランジスタのソース電極又はドレイン電極の他方は、電源線と常に導通し、
前記第3のトランジスタのゲート電極は、前記第2のトランジスタのゲート電極と常に導通し、
前記第4のトランジスタのソース電極又はドレイン電極の一方は、前記第1のトランジスタのゲート電極と常に導通し、
前記第4のトランジスタのソース電極又はドレイン電極の他方は、第1の信号線と常に導通し、
前記第4のトランジスタのゲート電極は、前記第1の信号線と常に導通し、
前記第5のトランジスタのソース電極又はドレイン電極の一方は、前記第1のトランジスタのゲート電極と常に導通し、
前記第5のトランジスタのソース電極又はドレイン電極の他方は、前記電源線と常に導通し、
前記第5のトランジスタのゲート電極は、第2の信号線と常に導通し、
前記第6のトランジスタのソース電極又はドレイン電極の一方は、第3の信号線と常に導通し、
前記第6のトランジスタのソース電極又はドレイン電極の他方は、前記第2のトランジスタのゲート電極と常に導通し、
前記第3の信号線の電位がHレベルのとき、前記第3の信号線から前記Hレベルの電位が前記第6のトランジスタのゲート電極および前記第6のトランジスタのソース電極又はドレイン電極の一方に供給され、
前記第2のトランジスタのソース電極又はドレイン電極の他方が少なくとも前記第2のトランジスタのチャネル形成領域を介して前記ゲート線と導通状態であるとき、前記第2のトランジスタのソース電極又はドレイン電極の他方の電位が少なくとも前記第2のトランジスタのチャネル形成領域を介して前記ゲート線に入力され、
前記第1のトランジスタのソース電極又はドレイン電極の一方としての機能を有する第1の導電層は、前記第2のトランジスタのソース電極又はドレイン電極の一方としての機能を有し、
平面視において、前記第1の導電層が前記第1のトランジスタのゲート電極としての機能を有する第2の導電層と重なる面積は、前記第1のトランジスタのソース電極又はドレイン電極の他方としての機能を有する第3の導電層が前記第2の導電層と重なる面積よりも大きく、
前記第3のトランジスタのソース電極又はドレイン電極の一方としての機能を有する第4の導電層は、前記第5のトランジスタのソース電極又はドレイン電極の一方としての機能を有し、
前記第3のトランジスタのソース電極又はドレイン電極の他方としての機能を有する第5の導電層は、前記第5のトランジスタのソース電極又はドレイン電極の他方としての機能を有し、
前記第3のトランジスタのゲート電極としての機能を有する第6の導電層は、透光性を有する第7の導電層を介して前記第6のトランジスタのソース電極又はドレイン電極の他方としての機能を有する第8の導電層と常に導通し、
前記第1のトランジスタのW(チャネル幅)/L(チャネル長)は、前記第2のトランジスタのW/Lよりも大きく、
前記第1のトランジスタのW/Lは、前記第3のトランジスタのW/Lよりも大きく、
前記第1のトランジスタのW/Lは、前記第4のトランジスタのW/Lよりも大きく、
前記第1のトランジスタのW/Lは、前記第5のトランジスタのW/Lよりも大きく、
前記第1のトランジスタのW/Lは、前記第6のトランジスタのW/Lよりも大きく、
平面視において、前記第1のトランジスタのチャネル長方向は、第1の方向であり、
平面視において、前記第4のトランジスタのチャネル長方向は、前記第1の方向であり、
平面視において、前記ゲート線として機能する第9の導電層は、前記第1の方向と交差する第2の方向に延在する領域を有し、
前記第1乃至第6のトランジスタの少なくとも一は、酸化物半導体を有する半導体層を有する半導体装置。
続きを表示(約 4,100 文字)
【請求項2】
ゲートドライバと、前記ゲートドライバと同じ基板に形成される画素と、を有し、
前記ゲートドライバは、第1乃至第6のトランジスタを有し、
前記第1乃至第6のトランジスタのそれぞれは、ボトムゲート型のトランジスタであり、
前記第1のトランジスタのソース電極またはドレイン電極の一方は、ゲート線と常に導通し、
前記第1のトランジスタのソース電極またはドレイン電極の他方は、クロック信号線と常に導通し、
前記第2のトランジスタのソース電極またはドレイン電極の一方は、前記ゲート線と常に導通し、
前記第3のトランジスタのソース電極又はドレイン電極の一方は、前記第1のトランジスタのゲート電極と常に導通し、
前記第3のトランジスタのソース電極又はドレイン電極の他方は、電源線と常に導通し、
前記第3のトランジスタのゲート電極は、前記第2のトランジスタのゲート電極と常に導通し、
前記第4のトランジスタのソース電極又はドレイン電極の一方は、前記第1のトランジスタのゲート電極と常に導通し、
前記第4のトランジスタのソース電極又はドレイン電極の他方は、第1の信号線と常に導通し、
前記第4のトランジスタのゲート電極は、前記第1の信号線と常に導通し、
前記第5のトランジスタのソース電極又はドレイン電極の一方は、前記第1のトランジスタのゲート電極と常に導通し、
前記第5のトランジスタのソース電極又はドレイン電極の他方は、前記電源線と常に導通し、
前記第5のトランジスタのゲート電極は、第2の信号線と常に導通し、
前記第6のトランジスタのソース電極又はドレイン電極の一方は、第3の信号線と常に導通し、
前記第6のトランジスタのソース電極又はドレイン電極の他方は、前記第2のトランジスタのゲート電極と常に導通し、
前記第3の信号線の電位がHレベルのとき、前記第3の信号線から前記Hレベルの電位が前記第6のトランジスタのゲート電極および前記第6のトランジスタのソース電極又はドレイン電極の一方に供給され、
前記第2のトランジスタのソース電極又はドレイン電極の他方が少なくとも前記第2のトランジスタのチャネル形成領域を介して前記ゲート線と導通状態であるとき、前記第2のトランジスタのソース電極又はドレイン電極の他方の電位が少なくとも前記第2のトランジスタのチャネル形成領域を介して前記ゲート線に入力され、
前記第1のトランジスタのソース電極又はドレイン電極の一方としての機能を有する第1の導電層は、前記第2のトランジスタのソース電極又はドレイン電極の一方としての機能を有し、
平面視において、前記第1の導電層が前記第1のトランジスタのゲート電極としての機能を有する第2の導電層と重なる面積は、前記第1のトランジスタのソース電極又はドレイン電極の他方としての機能を有する第3の導電層が前記第2の導電層と重なる面積よりも大きく、
前記第3のトランジスタのソース電極又はドレイン電極の一方としての機能を有する第4の導電層は、前記第5のトランジスタのソース電極又はドレイン電極の一方としての機能を有し、
前記第3のトランジスタのソース電極又はドレイン電極の他方としての機能を有する第5の導電層は、前記第5のトランジスタのソース電極又はドレイン電極の他方としての機能を有し、
前記第3のトランジスタのゲート電極としての機能を有する第6の導電層は、透光性を有する第7の導電層を介して前記第6のトランジスタのソース電極又はドレイン電極の他方としての機能を有する第8の導電層と常に導通し、
前記第1のトランジスタのW(チャネル幅)/L(チャネル長)は、前記第2のトランジスタのW/Lよりも大きく、
前記第1のトランジスタのW/Lは、前記第3のトランジスタのW/Lよりも大きく、
前記第1のトランジスタのW/Lは、前記第4のトランジスタのW/Lよりも大きく、
前記第1のトランジスタのW/Lは、前記第5のトランジスタのW/Lよりも大きく、
前記第1のトランジスタのW/Lは、前記第6のトランジスタのW/Lよりも大きく、
平面視において、前記第1のトランジスタのチャネル長方向は、第1の方向であり、
平面視において、前記第4のトランジスタのチャネル長方向は、前記第1の方向であり、
平面視において、前記ゲート線として機能する第9の導電層は、前記第1の方向と交差する第2の方向に延在する領域を有し、
前記画素は、第7のトランジスタを有し、
前記第7のトランジスタのソース電極またはドレイン電極の一方は、液晶素子と常に導通し、
前記第7のトランジスタのソース電極またはドレイン電極の他方は、第4の信号線と常に導通し、
前記第7のトランジスタのゲート電極は、前記ゲート線と常に導通し、
前記液晶素子の駆動モードは、IPSモードであり、
前記第1乃至第7のトランジスタの少なくとも一は、酸化物半導体を有する半導体層を有する表示装置。
【請求項3】
第1乃至第6のトランジスタを有し、
前記第1乃至第6のトランジスタのそれぞれは、ボトムゲート型のトランジスタであり、
前記第1のトランジスタのソース電極またはドレイン電極の一方は、ゲート線と常に導通し、
前記第1のトランジスタのソース電極またはドレイン電極の他方は、クロック信号線と常に導通し、
前記第2のトランジスタのソース電極またはドレイン電極の一方は、前記ゲート線と常に導通し、
前記第3のトランジスタのソース電極又はドレイン電極の一方は、前記第1のトランジスタのゲート電極と常に導通し、
前記第3のトランジスタのソース電極又はドレイン電極の他方は、電源線と常に導通し、
前記第3のトランジスタのゲート電極は、前記第2のトランジスタのゲート電極と常に導通し、
前記第4のトランジスタのソース電極又はドレイン電極の一方は、前記第1のトランジスタのゲート電極と常に導通し、
前記第4のトランジスタのソース電極又はドレイン電極の他方は、第1の信号線と常に導通し、
前記第4のトランジスタのゲート電極は、前記第1の信号線と常に導通し、
前記第5のトランジスタのソース電極又はドレイン電極の一方は、前記第1のトランジスタのゲート電極と常に導通し、
前記第5のトランジスタのソース電極又はドレイン電極の他方は、前記電源線と常に導通し、
前記第5のトランジスタのゲート電極は、第2の信号線と常に導通し、
前記第6のトランジスタのソース電極又はドレイン電極の一方は、第3の信号線と常に導通し、
前記第6のトランジスタのソース電極又はドレイン電極の他方は、前記第2のトランジスタのゲート電極と常に導通し、
前記第3の信号線の電位がHレベルのとき、前記第3の信号線から前記Hレベルの電位が前記第6のトランジスタのゲート電極および前記第6のトランジスタのソース電極又はドレイン電極の一方に供給され、
前記第2のトランジスタのソース電極又はドレイン電極の他方が少なくとも前記第2のトランジスタのチャネル形成領域を介して前記ゲート線と導通状態であるとき、前記第2のトランジスタのソース電極又はドレイン電極の他方の電位が少なくとも前記第2のトランジスタのチャネル形成領域を介して前記ゲート線に入力され、
前記第1のトランジスタのソース電極又はドレイン電極の一方としての機能を有する第1の導電層は、前記第2のトランジスタのソース電極又はドレイン電極の一方としての機能を有し、
平面視において、前記第1の導電層が前記第1のトランジスタのゲート電極としての機能を有する第2の導電層と重なる面積は、前記第1のトランジスタのソース電極又はドレイン電極の他方としての機能を有する第3の導電層が前記第2の導電層と重なる面積よりも大きく、
前記第3のトランジスタのソース電極又はドレイン電極の一方としての機能を有する第4の導電層は、前記第5のトランジスタのソース電極又はドレイン電極の一方としての機能を有し、
前記第3のトランジスタのソース電極又はドレイン電極の他方としての機能を有する第5の導電層は、前記第5のトランジスタのソース電極又はドレイン電極の他方としての機能を有し、
前記第3のトランジスタのゲート電極としての機能を有する第6の導電層は、透光性を有する第7の導電層を介して前記第6のトランジスタのソース電極又はドレイン電極の他方としての機能を有する第8の導電層と常に導通し、
前記第1のトランジスタのW(チャネル幅)/L(チャネル長)は、前記第2のトランジスタのW/Lよりも大きく、
前記第1のトランジスタのW/Lは、前記第3のトランジスタのW/Lよりも大きく、
前記第1のトランジスタのW/Lは、前記第4のトランジスタのW/Lよりも大きく、
前記第1のトランジスタのW/Lは、前記第5のトランジスタのW/Lよりも大きく、
前記第1のトランジスタのW/Lは、前記第6のトランジスタのW/Lよりも大きく、
平面視において、前記第1のトランジスタのチャネル長方向は、第1の方向であり、
平面視において、前記第4のトランジスタのチャネル長方向は、前記第1の方向であり、
平面視において、前記ゲート線として機能する第9の導電層は、前記第1の方向と交差する第2の方向に延在する領域を有する半導体装置。
発明の詳細な説明
【技術分野】
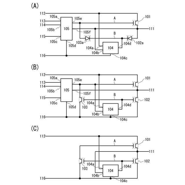
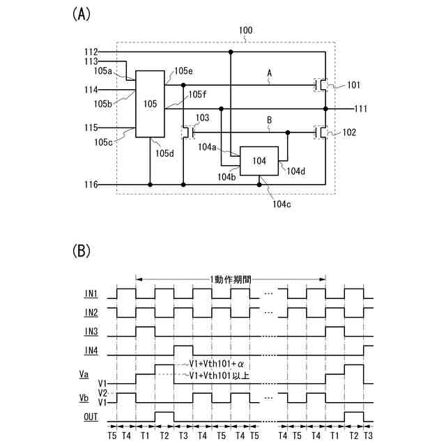
【0001】
半導体装置、表示装置、液晶表示装置、それらの駆動方法、又はそれらを生産する方法に
関する。特に、画素部と同じ基板に形成される駆動回路を有する半導体装置、表示装置、
液晶表示装置、又はそれらの駆動方法に関する。または、当該半導体装置、当該表示装置
、又は当該液晶表示装置を有する電子機器に関する。
続きを表示(約 2,000 文字)
【背景技術】
【0002】
近年、表示装置は、液晶テレビなどの大型表示装置の増加から、活発に開発が進められて
いる。特に、非単結晶半導体によって構成されるトランジスタを用いて、画素部と同じ基
板にゲートドライバなどの駆動回路を構成する技術は、コストの低減、信頼性の向上に大
きく貢献するため、活発に開発が進められている。
【0003】
非単結晶半導体によって構成されるトランジスタは、閾値電圧の上昇、又は移動度の低下
などの劣化を生じることがある。このトランジスタの劣化が進むと、駆動回路が動作しづ
らくなり、画像を表示できなくなるといった問題があった。そこで、特許文献1には、ト
ランジスタの劣化を抑制することができるシフトレジスタが開示されている。特に、特許
文献1の図7では、トランジスタの特性劣化を抑制するために、二つのトランジスタが用
いられる。一方のトランジスタは、フリップフロップの出力端子と、VSS(以下負電源
)が供給される配線との間に接続される。他方のトランジスタは、フリップフロップの出
力端子と、プルアップトランジスタのゲートとの間に接続される。そして、フリップフロ
ップの出力信号がLレベルになる期間において、この二つのトランジスタが交互にオンす
る。一方のトランジスタがオンすると、VSSが一方のトランジスタを介してフリップフ
ロップの出力端子に供給される。他方のトランジスタがオンすると、プルアップトランジ
スタのゲートに供給されるVSSが他方のトランジスタを介してフリップフロップの出力
端子に供給される。こうして、トランジスタの劣化を抑制することができる。さらに、フ
リップフロップの出力端子にVSSが常に供給されるので、フリップフロップの出力信号
をLレベルに維持しやすくなる。
【先行技術文献】
【特許文献】
【0004】
特開2005-50502号公報
【発明の概要】
【発明が解決しようとする課題】
【0005】
特許文献1に示す構成において、フリップフロップの出力信号がHレベルとなる期間にお
いて、他方のトランジスタが少しの間オンしてしまうので、プルアップトランジスタのゲ
ートと、フリップフロップの出力端子とが少しの間導通状態になる。このとき、プルアッ
プトランジスタのゲートの電位は、高い電位になっており、フリップフロップの出力端子
の電位は、低い電位となっている。本発明の一態様は、プルアップトランジスタのゲート
の電位を高くすることを課題とする。
【0006】
または、プルアップトランジスタのゲートの電位が低下すると、プルアップトランジスタ
がオフすることがある。本発明の一態様は、シフトレジスタの誤動作を防ぐことを課題と
する。
【0007】
または、プルアップトランジスタがオンし、シフトレジスタが正常に動作することができ
たとしても、プルアップトランジスタのゲートの電位は低下することに変わりない。本発
明の一態様は、プルアップトランジスタのゲートとソースとの間の電位差(Vgs)を大
きくすることを課題とする。
【0008】
または、プルアップトランジスタのVgsが小さくなると、プルアップトランジスタのオ
ン抵抗が大きくなってしまう。本発明の一態様は、表示装置を小さくすることを課題とす
る。または、本発明の一態様は、表示装置を高精細にすることを課題とする。
【0009】
または、プルアップトランジスタのVgsが小さくなると、フリップフロップの出力信号
の立ち上がり時間、又は立ち下がり時間が長くなってしまう。本発明の一態様は、画素へ
の不正な信号(例えば別の行に属する画素へのビデオ信号)の書き込みを防止し、表示品
位を高くすることを課題とする。
【0010】
または、プルアップトランジスタのVgsが小さくなると、プルアップトランジスタのチ
ャネル幅を大きくする必要がある。そして、プルアップトランジスタのチャネル幅が大き
くなると、他のトランジスタのチャネル幅も大きくする必要がある。本発明の一態様は、
レイアウト面積を小さくすることを課題とする。または、本発明の一態様は、表示装置の
額縁を狭くすることを課題とする。
(【0011】以降は省略されています)
この特許をJ-PlatPat(特許庁公式サイト)で参照する
関連特許
個人
回転式カード学習具
1か月前
日本精機株式会社
表示装置
3か月前
日本精機株式会社
表示装置
1か月前
日本精機株式会社
表示装置
12日前
個人
時刻表示機能つき手帳
2か月前
個人
計算用教具
8日前
中国電力株式会社
標示旗
18日前
日本精機株式会社
車両用表示装置
1か月前
日本精機株式会社
車両用表示装置
2か月前
日本精機株式会社
車両用表示装置
2か月前
日本精機株式会社
車両用センサ装置
8日前
個人
モデルで薔薇の花嫁様を描く為
29日前
トヨタ自動車株式会社
評価方法
2か月前
シャープ株式会社
表示装置
19日前
シャープ株式会社
表示装置
3か月前
株式会社一弘社
情報表示板
1か月前
個人
口唇閉鎖の訓練具
2か月前
パイオニア株式会社
表示装置
3か月前
株式会社ウメラボ
学習支援システム
4日前
個人
音楽教材
1か月前
ニチレイマグネット株式会社
磁着式電飾装置
18日前
株式会社半導体エネルギー研究所
半導体装置
2か月前
株式会社ノジマ
応対体験システム
2か月前
株式会社リコー
画像投射システム
19日前
株式会社バンダイ
情報処理装置およびプログラム
3か月前
個人
サインポスト
2か月前
シチズンファインデバイス株式会社
液晶表示装置
1か月前
シチズンファインデバイス株式会社
液晶表示装置
27日前
株式会社サンゲツ
見本帳
1か月前
学校法人関西医科大学
腹腔鏡手術訓練装置
18日前
BEST株式会社
吊り下げ表示部材
1か月前
シャープ株式会社
表示装置
1か月前
シャープ株式会社
表示装置
1か月前
個人
ピアノの指トレーニング器具及び練習方法
2か月前
朝日インテック株式会社
心臓モデル装置
3か月前
セイコーエプソン株式会社
表示方法
27日前
続きを見る
他の特許を見る