TOP
|
特許
|
意匠
|
商標
特許ウォッチ
Twitter
他の特許を見る
10個以上の画像は省略されています。
公開番号
2025138516
公報種別
公開特許公報(A)
公開日
2025-09-25
出願番号
2024037654
出願日
2024-03-11
発明の名称
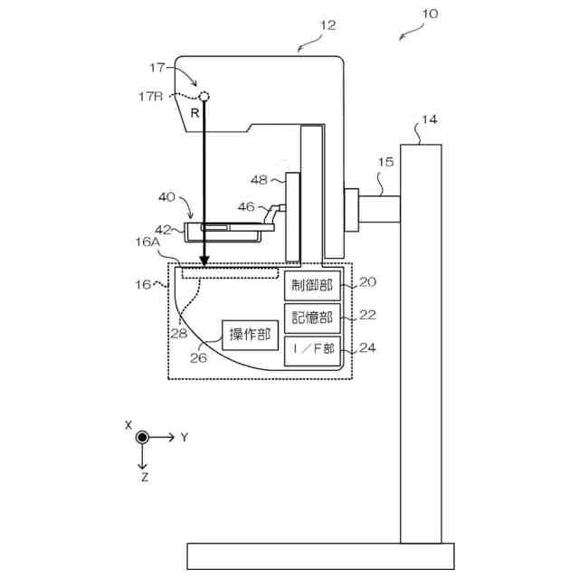
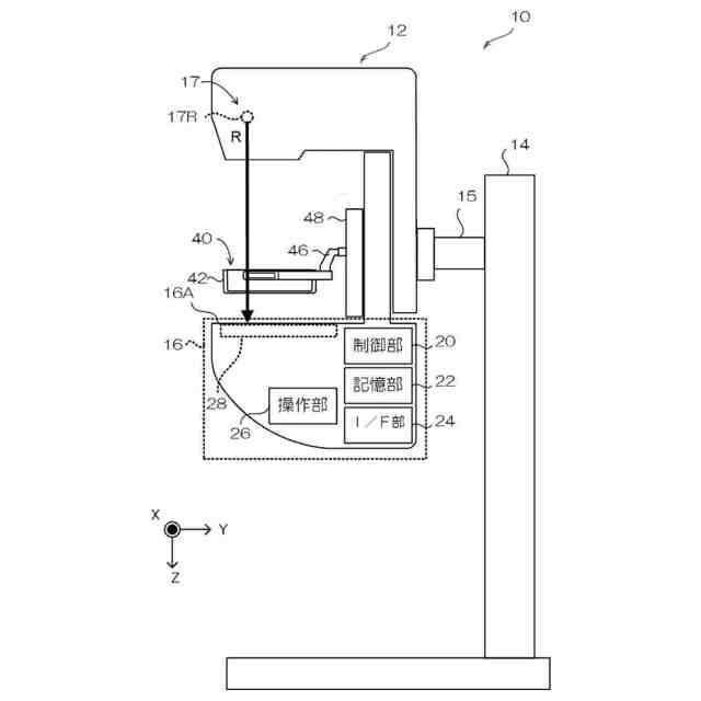
医用画像取得装置及び画像生成システム
出願人
富士フイルム株式会社
代理人
弁理士法人太陽国際特許事務所
主分類
A61B
8/08 20060101AFI20250917BHJP(医学または獣医学;衛生学)
要約
【課題】圧迫部材により圧迫された状態の乳房に対して放射線画像及び超音波画像を撮影する場合において、一方の撮影を行うデバイスの他方の撮影を行うデバイスに対する影響を回避することができる医用画像取得装置及び画像生成システムを得る。
【解決手段】医用画像取得装置10は、圧迫部材40により圧迫された状態の乳房に対して、放射線画像取得デバイスにより放射線画像の撮影を行い、かつ、超音波の送受信を行う超音波画像取得デバイスにより超音波画像の撮影を行う医用画像取得装置10であって、超音波画像取得デバイスの素子群が放射線画像取得デバイスの素子群と、放射線の入射方向に対して少なくとも一部において重なりがない配置とされている。
【選択図】図2
特許請求の範囲
【請求項1】
圧迫部材により圧迫された状態の乳房に対して、放射線画像取得デバイスにより放射線画像の撮影を行い、かつ、超音波の送受信を行う超音波画像取得デバイスにより超音波画像の撮影を行う医用画像取得装置であって、
前記超音波画像取得デバイスの素子群が前記放射線画像取得デバイスの素子群と、放射線の入射方向に対して少なくとも一部において重なりがない配置とされている、
医用画像取得装置。
続きを表示(約 660 文字)
【請求項2】
前記超音波画像取得デバイスの素子群が前記放射線画像取得デバイスの素子群と、同一の基板に配置されている、
請求項1に記載の医用画像取得装置。
【請求項3】
前記超音波画像取得デバイスによる画像取得領域は、前記放射線画像取得デバイスによる画像取得領域と略同一の領域である、
請求項1又は請求項2に記載の医用画像取得装置。
【請求項4】
前記超音波画像取得デバイスは、シリコン半導体デバイスの作成プロセスにより作成されている、
請求項1又は請求項2に記載の医用画像取得装置。
【請求項5】
前記超音波画像取得デバイスは、静電容量型で超音波信号を送受信するものである、
請求項1又は請求項2に記載の医用画像取得装置。
【請求項6】
前記超音波画像取得デバイスは、超音波を送受信する素子が、当該超音波の波長、及びビームステアリングから算出される、撮影によって得られる超音波画像に虚像の映り込みが生じないピッチ以下で配置されている、
請求項1又は請求項2に記載の医用画像取得装置。
【請求項7】
前記超音波画像取得デバイスは、超音波を送受信する素子が、無作為の配置密度で配置されている、
請求項6に記載の医用画像取得装置。
【請求項8】
請求項1又は請求項2に記載の医用画像取得装置と、
前記医用画像取得装置を制御するコンソールと、
を含む画像生成システム。
発明の詳細な説明
【技術分野】
【0001】
本開示は、医用画像取得装置及び画像生成システムに関する。
続きを表示(約 1,700 文字)
【背景技術】
【0002】
現在、乳がんに対する主な検査方法として、放射線によるマンモグラフィによるものと超音波によるものがある。
【0003】
撮影原理の違いにより、一般的には、放射線マンモグラフィによる検査では石灰化病変を描出しやすく、超音波検査では腫瘤等の軟組織の境界を描出しやすい。そこで放射線マンモグラフィによる検査と超音波検査とを併用する検査が試みられているが、放射線マンモグラフィによる単独の検査と比較すると、感度が向上する一方で特異度が低下する。これは、両モダリティの偽陽性を持ち込み要精査率が上がるためと考えられる。
【0004】
放射線マンモグラフィによる検査と超音波による検査の併用検査は、乳房を圧迫した状態で撮影した放射線画像と、仰臥位の状態で取得した超音波画像とを見比べて診断するため、画像を取得する際の患者の体勢が異なり、乳房の形状が違うため、病変の疑いがある位置の特定や比較が困難であり、より特異度が低下していると考えられている。
【0005】
そこで、放射線マンモグラフィによる検査において乳房を圧迫した状態で、患者の体勢を変えずに超音波検査を行い、圧迫板等の圧迫部材を介して超音波画像を取得することで、特異度を改善することが考えられている。その際には、まずは放射線撮影を行った後に、疑わしい部位を超音波検査で走査する流れとなるのが一般的である。
【0006】
しかしながら、圧迫部材を経由する超音波による撮影では、超音波に対して減衰や屈折が生じる圧迫部材を介しての超音波によるスキャニングであるため、圧迫部材による感度の低下や精細度の低下、更には乳房全体の画像の取得に時間がかかったり、作業の個人依存性が大きくなったりする。
【0007】
これらの問題点を解決するために適用することのできる技術として、特許文献1には、2次元超音波トランスデューサアレイを用いることにより超音波画像を得るための時間を短縮すると共に、アレイを固定したまま放射線撮影を行っても良好な放射線画像を得ることを目的とした医用撮像装置が開示されている。
【0008】
この医用撮像装置は、放射線を発生する放射線発生部と、放射線を検出する放射線検出部と、2次元状に配置された複数の超音波トランスデューサを含み、前記放射線発生部と前記放射線検出部との間に配置された超音波トランスデューサアレイと、前記放射線検出部の検出結果に基づいて放射線画像データを生成する放射線画像データ生成部と、前記放射線発生部によって発生され被検体及び前記超音波トランスデューサアレイを透過した放射線の検出結果に基づいて生成された放射線画像データに対して画像処理を施すことにより、該放射線画像データによって表される放射線画像から前記超音波トランスデューサアレイの像を除去する画像処理部と、を具備する。
【0009】
また、特許文献2には、放射線及び超音波を用いて乳腺・乳房の撮像を行う医用撮像装置において、圧迫板によって乳房が圧迫される過程を超音波で撮像したり、放射線撮影と同時に超音波撮像を行うことによって撮影時間を短縮したりすることを目的とした医用撮像装置が開示されている。
【0010】
この医用撮像装置は、放射線を発生する放射線発生部と、前記放射線発生部によって発生され被検体を通過した放射線を検出する放射線検出手段が内部に配置される撮影台と、前記放射線発生部と前記撮影台との間に配置され、被検体を通過した放射線の一部を通過させると共に、複数の駆動信号に従って被検体に向けて超音波を送信し、被検体によって反射される超音波を受信して複数の検出信号を出力する超音波トランスデューサアレイと、前記超音波トランスデューサアレイに複数の駆動信号を供給すると共に、前記超音波トランスデューサアレイから出力される複数の検出信号に基づいて画像信号を生成する超音波検査部と、を具備する。
【先行技術文献】
【特許文献】
(【0011】以降は省略されています)
この特許をJ-PlatPat(特許庁公式サイト)で参照する
関連特許
富士フイルム株式会社
レンズ装置
2日前
富士フイルム株式会社
超音波探触子
今日
富士フイルム株式会社
X線CT装置
12日前
富士フイルム株式会社
超音波探触子
今日
富士フイルム株式会社
超音波診断装置
13日前
富士フイルム株式会社
超音波診断装置
2日前
富士フイルム株式会社
配線基板の製造方法
2日前
富士フイルム株式会社
医療用X線測定装置
2日前
富士フイルム株式会社
ゼリーボトルハンガ
今日
富士フイルム株式会社
洗浄消毒装置及び蓋部
5日前
富士フイルム株式会社
内視鏡の操作部及び内視鏡
5日前
富士フイルム株式会社
内視鏡の操作部、及び内視鏡
5日前
富士フイルム株式会社
PCCT装置とその制御方法
13日前
富士フイルム株式会社
ズームレンズおよび撮像装置
2日前
富士フイルム株式会社
超音波診断装置の手押しハンドル
今日
富士フイルム株式会社
磁気共鳴撮像装置及び画像処理方法
今日
富士フイルム株式会社
画像処理装置、方法及びプログラム
6日前
富士フイルム株式会社
撮影制御装置、方法およびプログラム
5日前
富士フイルム株式会社
データ処理装置、方法及びプログラム
6日前
富士フイルム株式会社
情報処理装置、方法およびプログラム
2日前
富士フイルム株式会社
情報処理装置、及び情報処理プログラム
今日
富士フイルム株式会社
医用画像取得装置及び画像生成システム
6日前
富士フイルム株式会社
情報処理装置、及び情報処理プログラム
今日
富士フイルム株式会社
情報処理装置、及び情報処理プログラム
今日
富士フイルム株式会社
放射線画像処理装置、方法およびプログラム
5日前
富士フイルム株式会社
放射線画像処理装置、方法およびプログラム
5日前
富士フイルム株式会社
較正装置、医用画像撮影システム、及び較正方法
12日前
富士フイルム株式会社
画像処理装置、放射線画像撮影システム及びプログラム
6日前
富士フイルム株式会社
フォトンカウンティングX線CT装置及び較正データ取得方法
6日前
富士フイルム株式会社
内視鏡システム、生体パラメータ画像の生成方法及びプログラム
13日前
富士フイルム株式会社
画像処理装置、内視鏡システム、画像処理方法、及びプログラム
5日前
富士フイルム株式会社
画像処理装置、内視鏡システム、画像処理方法、及びプログラム
5日前
富士フイルム株式会社
情報処理装置、放射線画像撮影システム、情報処理方法及びプログラム
13日前
富士フイルム株式会社
照合装置及び照合方法
14日前
富士フイルム株式会社
ズームレンズ及び撮像装置
12日前
富士フイルム株式会社
透視機能を備えたX線撮影装置、可搬型X線平面検出器、撮影台、および、透視台
14日前
続きを見る
他の特許を見る