TOP
|
特許
|
意匠
|
商標
特許ウォッチ
Twitter
他の特許を見る
公開番号
2025142613
公報種別
公開特許公報(A)
公開日
2025-10-01
出願番号
2024042063
出願日
2024-03-18
発明の名称
電子部品用の筐体カバー
出願人
東洋電装株式会社
代理人
個人
,
個人
主分類
H05K
5/03 20060101AFI20250924BHJP(他に分類されない電気技術)
要約
【課題】電子部品用の筐体においてさらなるシール性の向上を図ること。
【解決手段】本開示の筐体カバーは、電子部品を収容する筐体本体1の開口部を塞ぐ電子部品用の筐体カバー10であって、筐体本体1の開口部の周囲に対向する筐体カバー10の裏面側の箇所に、筐体本体1の開口部の周囲との隙間を塞ぐシール部材11を備えており、筐体カバー10の少なくとも周囲付近の箇所における表面側と裏面側とで相互に対応する同一の位置に、表面側と裏面側とで形状及び大きさが同一となるリブ21,22が形成されている。
【選択図】図4
特許請求の範囲
【請求項1】
電子部品を収容する筐体本体の開口部を塞ぐ電子部品用の筐体カバーであって、
前記筐体本体の開口部の周囲に対向する筐体カバーの裏面側の箇所に、前記筐体本体の開口部の周囲との隙間を塞ぐシール部材を備えており、
筐体カバーの少なくとも周囲付近の箇所における表面側と裏面側とで相互に対応する同一の位置に、表面側と裏面側とで形状及び大きさが同一となるリブが形成されている、
筐体カバー。
続きを表示(約 1,000 文字)
【請求項2】
請求項1に記載の筐体カバーであって、
表面側と裏面側との同一の位置に形成される前記リブは、筐体カバーの周囲付近の箇所のみに形成されている、
筐体カバー。
【請求項3】
請求項2に記載の筐体カバーであって、
表面側と裏面側との同一の位置に前記リブが形成される筐体カバーの表面側の周囲付近の箇所における面は、他の箇所よりも高さが低く段差状に形成されている、
筐体カバー。
【請求項4】
請求項3に記載の筐体カバーであって、
筐体カバーの表面側に形成される前記リブは、当該リブ自体によって筐体カバーの周囲方向が囲まれないよう開口箇所を有して形成されている、
筐体カバー。
【請求項5】
請求項4に記載の筐体カバーであって、
筐体カバーの表面側に形成される前記リブは、所定の長さを有して形成されており、前記リブ同士が離間して形成され、当該リブ同士の間隔が前記開口箇所を形成している、
筐体カバー。
【請求項6】
請求項5に記載の筐体カバーであって、
筐体カバーの表面側に形成される前記リブは、端部が周囲方向に向かって形成されており、隣り合って形成された前記リブ同士の端部間が前記開口箇所を形成している、
筐体カバー。
【請求項7】
請求項6に記載の筐体カバーであって、
筐体カバーの表面側に形成される前記リブは、隣り合って形成された前記リブ同士の間隔が周囲方向に向かうにつれて狭くなるよう形成されている、
筐体カバー。
【請求項8】
請求項6に記載の筐体カバーであって、
筐体カバーの表面側の前記開口箇所よりもさらに周囲側の位置する面は、前記段差状に形成された面よりもさらに高さが低く形成されている、
筐体カバー。
【請求項9】
電子部品を収容する筐体本体と、
前記筐体本体の開口部を塞ぐ筐体カバーと、を備え、
前記筐体本体の開口部の周囲に対向する筐体カバーの裏面側の箇所に、前記筐体本体の開口部の周囲との隙間を塞ぐシール部材を備えており、
筐体カバーの少なくとも周囲付近の箇所における表面側と裏面側とで相互に対応する同一の位置に、表面側と裏面側とで形状及び大きさが同一となるリブが形成されている、
筐体。
発明の詳細な説明
【技術分野】
【0001】
本発明は、電子部品用の筐体に用いられる筐体カバーに関する。
続きを表示(約 1,600 文字)
【背景技術】
【0002】
電子部品が収容される筐体として、特許文献1に記載のものがある。特許文献1では、電子部品を収容する筐体には、電磁波シールド性を備え、放熱特性と機械的強度に優れ、かつ、軽量であることが求められているとし、金属部材を主要部分とした筐体において、金属部材を樹脂部材で強度補強する、ことが記載されている。これに加え、特許文献1では、反りを抑制すべく、筐体の表裏両面に樹脂部材のリブを形成することが記載されている。
【先行技術文献】
【特許文献】
【0003】
特許7212453号公報
【発明の概要】
【発明が解決しようとする課題】
【0004】
しかしながら、上述したような特許文献1に記載の筐体では、さらなるシール性について考慮されていない。つまり、特許文献1では、反りを抑制することが記載されているものの、表裏においてリブが非対称であるため、依然として成型時の反りが生じるおそれがある。その結果、電子部品を収容する筐体のさらなるシール性の向上を図ることができない、という問題が生じる。
【0005】
このため、本開示の目的は、電子部品用の筐体においてさらなるシール性の向上を図ることができる筐体カバーを提供することにある。
【課題を解決するための手段】
【0006】
本開示の一形態である電子部品用の筐体カバーは、
電子部品を収容する筐体本体の開口部を塞ぐ電子部品用の筐体カバーであって、
前記筐体本体の開口部の周囲に対向する筐体カバーの裏面側の箇所に、前記筐体本体の開口部の周囲との隙間を塞ぐシール部材を備えており、
筐体カバーの少なくとも周囲付近の箇所における表面側と裏面側とで相互に対応する同一の位置に、表面側と裏面側とで形状及び大きさが同一となるリブが形成されている、
という構成をとる。
また、本開示の一形態である電子部品用の筐体は、
電子部品を収容する筐体本体と、
前記筐体本体の開口部を塞ぐ筐体カバーと、を備え、
前記筐体本体の開口部の周囲に対向する筐体カバーの裏面側の箇所に、前記筐体本体の開口部の周囲との隙間を塞ぐシール部材を備えており、
筐体カバーの少なくとも周囲付近の箇所における表面側と裏面側とで相互に対応する同一の位置に、表面側と裏面側とで形状及び大きさが同一となるリブが形成されている、
という構成をとる。
【発明の効果】
【0007】
本開示は、以上のように構成されることにより、電子部品用の筐体においてさらなるシール性の向上を図ることができる筐体カバーを提供することができる。
【図面の簡単な説明】
【0008】
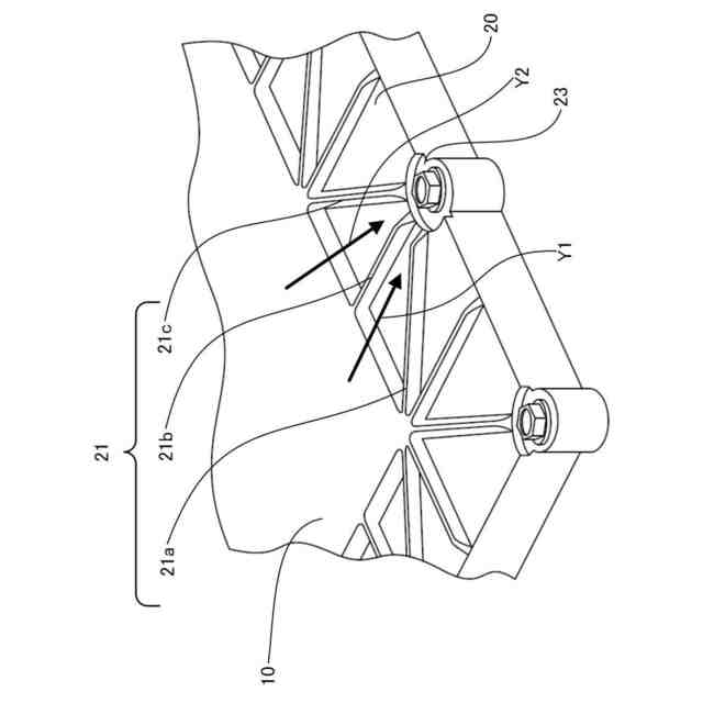
本開示の電子部品用の筐体の外観を示す図である。
図1に開示した電子部品用の筐体カバーを表面側から見た斜視図である。
図1に開示した電子部品用の筐体カバーを裏面側から見た斜視図である。
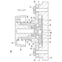
図1に開示した電子部品用の筐体カバーの一部の断面図である。
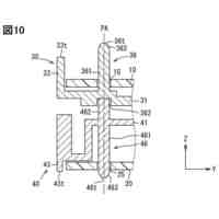
図1に開示した電子部品用の筐体カバーの一部の拡大図である。
【発明を実施するための形態】
【0009】
<実施形態1>
本開示の第1の実施形態を、図1乃至図5を参照して説明する。
【0010】
本実施形態における電子部品用の筐体は、電子部品を収容して車両に搭載されるものである。そして、筐体は、電子部品を収容する筐体本体1と、筐体本体1の開口部を塞ぐ筐体カバー10と、により構成される。以下、筐体カバー10について詳述する。
(【0011】以降は省略されています)
この特許をJ-PlatPat(特許庁公式サイト)で参照する
関連特許
東洋電装株式会社
照明装置
1か月前
東洋電装株式会社
スイッチ装置
1か月前
東洋電装株式会社
モータ制御装置
1か月前
東洋電装株式会社
ハンドルスイッチ装置
9日前
東洋電装株式会社
スイッチシステム、車両
7日前
東洋電装株式会社
電子部品用の筐体カバー
7日前
東洋電装株式会社
スイッチ装置および車両
1か月前
東洋電装株式会社
移動検出装置および鞍乗車両
1か月前
東洋電装株式会社
清掃管理システム、清掃管理サーバー及び清掃管理プログラム
1か月前
株式会社コロナ
電気機器
3か月前
個人
電子部品の実装方法
7日前
個人
非衝突型ガウス加速器
1か月前
日本精機株式会社
回路基板
29日前
株式会社遠藤照明
照明装置
3か月前
アイホン株式会社
電気機器
21日前
キヤノン株式会社
電子機器
21日前
キヤノン株式会社
電子機器
3か月前
日本放送協会
基板固定装置
27日前
イビデン株式会社
配線基板
今日
個人
節電材料
2か月前
アイホン株式会社
電気機器
1か月前
メクテック株式会社
配線基板
3か月前
メクテック株式会社
配線基板
1か月前
マクセル株式会社
配列用マスク
2か月前
東レ株式会社
霧化状活性液体供給装置
1か月前
株式会社デンソー
電子装置
今日
イビデン株式会社
プリント配線板
27日前
イビデン株式会社
プリント配線板
3か月前
トキコーポレーション株式会社
照明器具
3か月前
イビデン株式会社
配線基板
1か月前
イビデン株式会社
配線基板
1か月前
FDK株式会社
基板
6日前
サクサ株式会社
筐体の壁掛け構造
1か月前
イビデン株式会社
プリント配線板
2か月前
イビデン株式会社
プリント配線板
3か月前
新電元工業株式会社
充電装置
3か月前
続きを見る
他の特許を見る