TOP
|
特許
|
意匠
|
商標
特許ウォッチ
Twitter
他の特許を見る
10個以上の画像は省略されています。
公開番号
2025142981
公報種別
公開特許公報(A)
公開日
2025-10-01
出願番号
2024042639
出願日
2024-03-18
発明の名称
ワイパブレード
出願人
株式会社ミツバ
代理人
弁理士法人筒井国際特許事務所
主分類
B60S
1/46 20060101AFI20250924BHJP(車両一般)
要約
【課題】洗浄液の流路からの漏れを抑えて品質向上を図る。
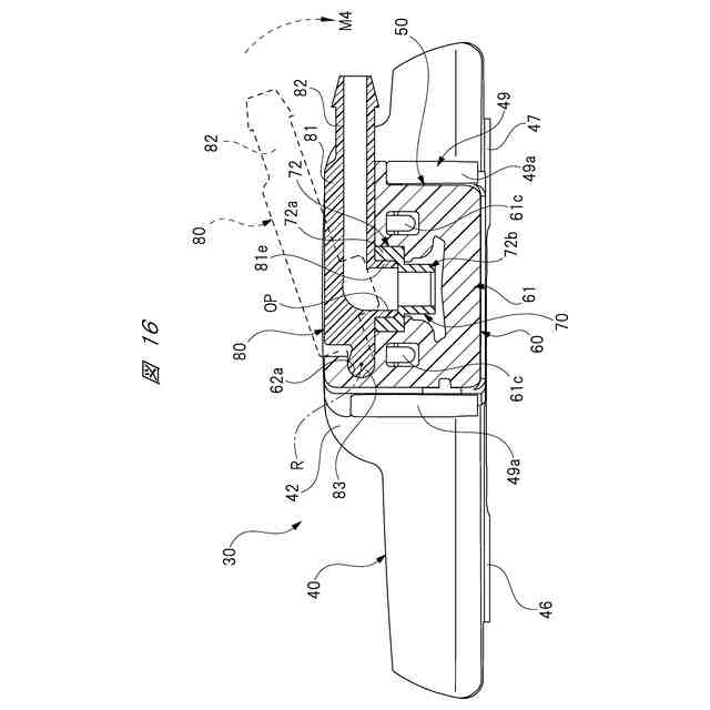
【解決手段】連結部材40の第2長辺壁部42に装着され、ウインドウガラスに向けてウォッシャ液を噴射するウォッシャユニット50を備え、ウォッシャユニット50は、カバー部材60と、第2長辺壁部42とカバー部材60との間に配置され、弾性変形可能なバルブ部材70と、カバー部材60とバルブ部材70との間に配置される流路と、カバー部材60に装着され、第2ウォッシャチューブからのウォッシャ液を流路に供給する配管接続部材80と、を有し、バルブ部材70は、流路の上流側に配置される開口部OPを備え、配管接続部材80は、ブレードラバーの長手方向に延び、第2ウォッシャチューブが接続されるチューブ接続部82と、チューブ接続部82の長手方向と交差する方向に延び、開口部OPに接続される差込部81eと、を有する。
【選択図】図16
特許請求の範囲
【請求項1】
駆動軸により揺動されるワイパアームに装着され、払拭面を払拭するワイパブレードであって、
前記ワイパアームに回動自在に装着される連結部材と、
前記連結部材に装着され、前記払拭面に摺接されるブレードラバーと、
前記ブレードラバーの払拭方向において、前記連結部材の少なくとも一方側の側壁部に装着され、前記払拭面に向けて洗浄液を噴射するウォッシャユニットと、
を備え、
前記ウォッシャユニットは、
前記側壁部に対して対向配置される第1装着部材と、
前記側壁部と前記第1装着部材との間に配置され、弾性変形可能な第2装着部材と、
前記第1装着部材と前記第2装着部材との間に配置され、前記洗浄液が流通する流路と、
前記第1装着部材に装着され、前記ワイパアームに沿わせて設けられた配管を流通する前記洗浄液を、前記流路に供給する第3装着部材と、
を有し、
前記第2装着部材は、前記流路の上流側に配置される流路入口部を備え、
前記第3装着部材は、前記ブレードラバーの長手方向に延び、前記配管が接続される配管接続部と、前記配管接続部の長手方向と交差する方向に延び、前記流路入口部に接続される流路接続部と、
を有する、
ワイパブレード。
続きを表示(約 1,100 文字)
【請求項2】
請求項1に記載のワイパブレードにおいて、
前記第3装着部材の長手方向における前記配管接続部側とは反対側に、前記第1装着部材に設けられた支持凹部に回動可能に支持される支持凸部が設けられ、
前記第3装着部材は、前記支持凸部を中心に前記第1装着部材に対して回動可能に連結されている、
ワイパブレード。
【請求項3】
前記流路接続部は、前記第3装着部材の長手方向における前記配管接続部と前記支持凸部との間に配置されている、
請求項2に記載のワイパブレード。
【請求項4】
請求項2または請求項3に記載のワイパブレードにおいて、
前記第3装着部材の長手方向における前記配管接続部と前記支持凸部との間に、前記第1装着部材に設けられた第1装着部材側固定部に固定される第3装着部材側固定部が設けられている、
ワイパブレード。
【請求項5】
前記第1装着部材側固定部は、前記ブレードラバーの払拭方向に移動可能な係合爪であり、前記第3装着部材側固定部は、前記係合爪が引っ掛けられる引っ掛け凹部である、
請求項4に記載のワイパブレード。
【請求項6】
前記流路接続部の先端側および前記流路入口部の入口側には、互いの接続を案内するテーパ部がそれぞれ設けられている、
請求項1に記載のワイパブレード。
【請求項7】
請求項1に記載のワイパブレードにおいて、
前記第2装着部材は、前記流路入口部の下流側に配置される弾性変形可能な弁体を備え、
前記弁体は、前記洗浄液の噴射時に開かれて、前記洗浄液の非噴射時に閉じられるスリットを有する、
ワイパブレード。
【請求項8】
請求項7に記載のワイパブレードにおいて、
前記第2装着部材は、前記側壁部と前記第1装着部材との間に配置され、かつ前記弁体が一体に設けられる本体部を備え、
前記弁体に設けられる前記スリットは、前記側壁部と前記第1装着部材との間で開閉可能となっており、
前記弁体の硬度が、前記本体部の硬度よりも低くなっている、
ワイパブレード。
【請求項9】
請求項7または請求項8に記載のワイパブレードにおいて、
前記スリットは、
前記ブレードラバーの長手方向において互いに対向する一対の第1対向壁と、
前記ブレードラバーの払拭方向において互いに対向する一対の第2対向壁と、
で囲まれて形成されており、
前記ブレードラバーの長手方向に沿う前記第1対向壁の肉厚が、前記ブレードラバーの払拭方向に沿う前記第2対向壁の肉厚よりも厚くなっている、
ワイパブレード。
発明の詳細な説明
【技術分野】
【0001】
本発明は、払拭面を払拭するワイパブレードに関する。
続きを表示(約 2,000 文字)
【背景技術】
【0002】
自動車等の車両には、ウインドウガラスの表面(払拭面)に付着した雨水等を払拭するワイパ装置が搭載されている。ワイパ装置は、払拭面に摺接されるワイパブレードを備え、ワイパブレードは、駆動軸により揺動されるワイパアームの先端部に装着されている。これにより、ワイパモータにより駆動軸を正逆回転させることで、ワイパブレードは払拭面に付着した雨水や埃を払拭する。
【0003】
例えば、特許文献1には、ウォッシャ液(洗浄液)を噴射するスプレーノズルを備えたワイパアームが記載されている。具体的には、洗浄液が流通する流路が表面に設けられた基部と、基部の表面を覆いかつホースが接続されるオス型チューブを有するカバーと、を備えたスプレーノズルが記載されている。そして、基部が装着されたカバーを、取り付けブラケットに対してブレードの長手方向にスライドさせることで、スプレーノズルをワイパアームに組み付ける。
【先行技術文献】
【特許文献】
【0004】
米国特許出願公開第2017/0232938号明細書
【発明の概要】
【発明が解決しようとする課題】
【0005】
特許文献1に記載された技術では、取り付けブラケットに対するスプレーノズルの装着方向と、基部に対するカバーの突き当て方向と、が互いに直交している。また、ホースのオス型チューブへの接続方向と、基部に対するカバーの突き当て方向と、においても互いに直交している。
【0006】
これにより、取り付けブラケットに対してスプレーノズルを装着した後に、ホースをオス型チューブに接続する際に、基部に対するカバーの突き当て具合が製品毎にばらついてしまい、製品によっては流路から洗浄液が漏れる虞もあった。
【0007】
本発明の目的は、洗浄液の流路からの漏れを抑えることができ品質向上を図ることが可能なワイパブレードを提供することにある。
【課題を解決するための手段】
【0008】
ワイパブレードの一態様では、駆動軸により揺動されるワイパアームに装着され、払拭面を払拭するワイパブレードであって、前記ワイパアームに回動自在に装着される連結部材と、前記連結部材に装着され、前記払拭面に摺接されるブレードラバーと、前記ブレードラバーの払拭方向において、前記連結部材の少なくとも一方側の側壁部に装着され、前記払拭面に向けて洗浄液を噴射するウォッシャユニットと、を備え、前記ウォッシャユニットは、前記側壁部に対して対向配置される第1装着部材と、前記側壁部と前記第1装着部材との間に配置され、弾性変形可能な第2装着部材と、前記第1装着部材と前記第2装着部材との間に配置され、前記洗浄液が流通する流路と、前記第1装着部材に装着され、前記ワイパアームに沿わせて設けられた配管を流通する前記洗浄液を、前記流路に供給する第3装着部材と、を有し、前記第2装着部材は、前記流路の上流側に配置される流路入口部を備え、前記第3装着部材は、前記ブレードラバーの長手方向に延び、前記配管が接続される配管接続部と、前記配管接続部の長手方向と交差する方向に延び、前記流路入口部に接続される流路接続部と、を有する。
【発明の効果】
【0009】
本発明によれば、洗浄液の流路からの漏れを抑えることができ品質向上を図ることが可能なワイパブレードを実現することができる。
【図面の簡単な説明】
【0010】
車両に搭載されるワイパ装置の斜視図である。
図1のA矢視図である。
ウォッシャユニットの拡大斜視図である。
ウォッシャユニットの内部を示す断面図である。
連結部材の詳細を示す図である。
カバー部材の内側を示す斜視図である。
バルブ部材の詳細を示す図である。
配管接続部材の詳細を示す斜視図である。
弁本体の動作を示す図4の破線円B部の拡大図である。
ウォッシャユニットの分解斜視図である。
ノズル組立体の組立手順を示す図である。
ノズル組立体をバルブ部材側から見た斜視図である。
ノズル組立体の連結部材への装着手順を示す図である。
ノズル組立体と連結部材との固定部を示す断面図である。
配管接続部材のノズル組立体への組付手順を示す斜視図である。
配管接続部材のノズル組立体への組付手順を示す断面図である。
バルブ部材の変形例を示す斜視図である。
連結部材の往路側および復路側にウォッシャユニットを備えた変形例を示す斜視図である。
【発明を実施するための形態】
(【0011】以降は省略されています)
この特許をJ-PlatPat(特許庁公式サイト)で参照する
関連特許
株式会社ミツバ
巻線装置
7日前
株式会社ミツバ
ワイパ装置
今日
株式会社ミツバ
ワイパ装置
今日
株式会社ミツバ
モータ制御装置
今日
株式会社ミツバ
モータ制御装置
今日
株式会社ミツバ
ワイパブレード
2日前
株式会社ミツバ
ワイパブレード
2日前
株式会社ミツバ
ワイパブレード
2日前
株式会社ミツバ
非容積型ポンプ
15日前
株式会社ミツバ
巻線装置、及び、巻線方法
7日前
株式会社ミツバ
巻線装置、及び、巻線方法
7日前
個人
タイヤレバー
2か月前
個人
前輪キャスター
1か月前
個人
上部一体型自動車
今日
個人
ホイルのボルト締結
3か月前
個人
タイヤ脱落防止構造
1か月前
個人
ルーフ付きトライク
1か月前
個人
車両通過構造物
2か月前
日本精機株式会社
表示装置
2か月前
個人
キャンピングトライク
3か月前
井関農機株式会社
作業車両
3か月前
日本精機株式会社
表示装置
2か月前
日本精機株式会社
表示装置
2か月前
個人
マスタシリンダ
7日前
日本精機株式会社
表示装置
1か月前
個人
キャンピングトレーラー
3か月前
個人
車両用スリップ防止装置
3か月前
個人
アクセルのソフトウェア
3か月前
個人
乗合路線バスの客室装置
2か月前
個人
音声ガイド、音声サービス
2か月前
個人
車載小物入れ兼雨傘収納具
3か月前
日本精機株式会社
車室演出装置
1か月前
個人
円湾曲ホイール及び球体輪
2か月前
日本精機株式会社
車載表示装置
15日前
株式会社豊田自動織機
産業車両
2か月前
株式会社ニフコ
照明装置
1か月前
続きを見る
他の特許を見る