TOP
|
特許
|
意匠
|
商標
特許ウォッチ
Twitter
他の特許を見る
10個以上の画像は省略されています。
公開番号
2025144625
公報種別
公開特許公報(A)
公開日
2025-10-03
出願番号
2024044364
出願日
2024-03-21
発明の名称
ワイパ装置
出願人
株式会社ミツバ
代理人
弁理士法人筒井国際特許事務所
主分類
B60S
1/40 20060101AFI20250926BHJP(車両一般)
要約
【課題】メンテナンス性を確保しつつ、ユーザーの意図に反してワイパブレードがワイパアームから外れることを防止する。
【解決手段】ワイパアーム30およびワイパブレード40は、払拭時に軸心CTを中心に回動角度β度で回動され、ワイパアーム30およびワイパブレード40は、回動角度β度を超えて一方向に回動した時に、互いに突き当てられる第1,第2先端側突当部53a,54aおよび第1,第2先端側傾斜面65a,66aと、回動角度β度を超えて他方向に回動した時に、互いに突き当てられる第1,第2基端側突当部53b,54bおよび第1,第2基端側傾斜面65b,66bと、を有する。
【選択図】図13
特許請求の範囲
【請求項1】
第1連結部を有するワイパアームと、前記第1連結部に連結される第2連結部を備えかつ払拭面を払拭するワイパブレードと、を有し、前記第1連結部および前記第2連結部を、前記ワイパブレードの払拭方向に延びる軸心を中心に互いに回動自在に連結してなるワイパ装置であって、
前記ワイパアームおよび前記ワイパブレードは、前記ワイパブレードの払拭動作時において、前記軸心を中心に互いに所定の角度範囲で回動され、
前記ワイパアームおよび前記ワイパブレードは、前記所定の角度範囲を超えて回動した時に、互いに突き当てられる第1突当部および第2突当部をそれぞれ有する、
ワイパ装置。
続きを表示(約 1,600 文字)
【請求項2】
請求項1に記載のワイパ装置において、
前記ワイパブレードには、前記ワイパブレードの長手方向に延び、かつ前記第2連結部および前記第2突当部が長手方向に並んで配置された連結部材が設けられ、
前記連結部材の長手方向において、前記第2突当部が配置される側とは反対側には、連結部材端部が設けられ、
前記軸心と前記連結部材端部とを結ぶ線分の長さが、前記軸心と前記第2突当部とを結ぶ線分の長さ以上である、
ワイパ装置。
【請求項3】
請求項1または請求項2に記載のワイパ装置において、
前記ワイパブレードの長手方向における前記第1連結部の両側に、前記第1突当部がそれぞれ設けられ、
前記ワイパブレードの長手方向における前記第2連結部の両側に、前記第2突当部がそれぞれ設けられる、
ワイパ装置。
【請求項4】
前記ワイパブレードに設けられる前記第2突当部が、前記軸心よりも前記払拭面側に配置されている、
請求項1または請求項2に記載のワイパ装置。
【請求項5】
請求項1または請求項2に記載のワイパ装置において、
前記ワイパアームには、
前記ワイパブレードの払拭方向に互いに対向配置された一対の外壁部と、
前記一対の外壁部の間に配置され、前記第1連結部を支持する一対の側壁部と、
が設けられ、
前記第1突当部は、前記一対の側壁部の前記払拭面を向く面に設けられ、かつ前記一対の外壁部の前記払拭面を向く面に対して平行となっている、
ワイパ装置。
【請求項6】
請求項5に記載のワイパ装置において、
前記ワイパブレードには、前記ワイパブレードの長手方向において前記第2連結部から離れるにしたがって前記払拭面に近付くよう傾斜された傾斜面が設けられ、
前記傾斜面が、前記第2突当部となっている、
ワイパ装置。
【請求項7】
前記ワイパアームおよび前記ワイパブレードが前記所定の角度範囲を超えて回動した時に、前記第1突当部は前記第2突当部に対して線接触される、
請求項6に記載のワイパ装置。
【請求項8】
請求項2に記載のワイパ装置において、
前記連結部材は、
前記払拭面側に配置され、かつ前記払拭面を払拭するブレードラバーを保持するブレード保持部と、
前記ブレード保持部の前記払拭面側とは反対側に配置され、かつ前記第2連結部を備えたアダプタ部と、
を有し、
前記ブレード保持部の長手方向両側には、前記ブレードラバーの前記払拭面側とは反対側を覆うラバーホルダの端部を覆うホルダ被覆部が設けられ、
前記ホルダ被覆部に、前記第2突当部が設けられている、
ワイパ装置。
【請求項9】
前記アダプタ部は、前記ワイパアームに設けられる一対の側壁部の内側において、前記ワイパブレードの払拭方向に傾斜可能となっており、
前記ブレード保持部は、前記ワイパブレードの払拭方向において、前記アダプタ部よりも幅広となっており、
前記第2突当部は、前記ワイパブレードの払拭方向において、前記アダプタ部から離れるにしたがって前記払拭面に近付くよう傾斜された傾斜面となっている、
請求項8に記載のワイパ装置。
【請求項10】
請求項1または請求項2に記載のワイパ装置において、
前記第1連結部は、前記ワイパブレードの払拭方向に延びる連結軸であり、
前記第2連結部は、前記ワイパブレードの長手方向に対向配置され、かつ内側に前記連結軸が差し込まれる可撓性を備えた一対の保持爪であり、
前記一対の保持爪の根元に、当該一対の保持爪をそれぞれ撓み易くする凹溝が設けられている、
ワイパ装置。
発明の詳細な説明
【技術分野】
【0001】
本発明は、ワイパアームおよびワイパブレードを備えたワイパ装置に関する。
続きを表示(約 1,700 文字)
【背景技術】
【0002】
特許文献1には、ワイパアームに連結軸部が設けられ、ワイパブレードに溝部が設けられたワイパ装置が記載されている。そして、特許文献1に記載のワイパ装置では、ワイパアームの連結軸部を、ワイパブレードの溝部に対し、スナップフィットにより回動自在に連結する連結構造を採用している。
【先行技術文献】
【特許文献】
【0003】
特開2022-089242号公報
【発明の概要】
【発明が解決しようとする課題】
【0004】
特許文献1に記載された技術では、ワイパブレードをワイパアームから取り外す時に、溝部を形成する一対の爪部を撓ませて連結軸部を溝部から引き抜くことになる。よって、爪部の剛性を弱めることで、ワイパブレードをワイパアームから容易に取り外し可能となる。その一方で、爪部の剛性を弱めると、例えば、車体に積もった雪を落とすべくユーザーがワイパアームを持ち上げる際に、ワイパブレードが凍結して払拭面に貼り付いていた場合、ユーザーの意図に反してワイパブレードがワイパアームから外れ易くなる。
【0005】
本発明の目的は、メンテナンス性を確保しつつ、ユーザーの意図に反してワイパブレードがワイパアームから外れることを防止可能なワイパ装置を提供することにある。
【課題を解決するための手段】
【0006】
ワイパ装置の一態様では、第1連結部を有するワイパアームと、前記第1連結部に連結される第2連結部を備えかつ払拭面を払拭するワイパブレードと、を有し、前記第1連結部および前記第2連結部を、前記ワイパブレードの払拭方向に延びる軸心を中心に互いに回動自在に連結してなるワイパ装置であって、前記ワイパアームおよび前記ワイパブレードは、前記ワイパブレードの払拭動作時において、前記軸心を中心に互いに所定の角度範囲で回動され、前記ワイパアームおよび前記ワイパブレードは、前記所定の角度範囲を超えて回動した時に、互いに突き当てられる第1突当部および第2突当部をそれぞれ有する。
【発明の効果】
【0007】
本発明によれば、メンテナンス性を確保しつつ、ユーザーの意図に反してワイパブレードがワイパアームから外れることを防止可能なワイパ装置を実現することができる。
【図面の簡単な説明】
【0008】
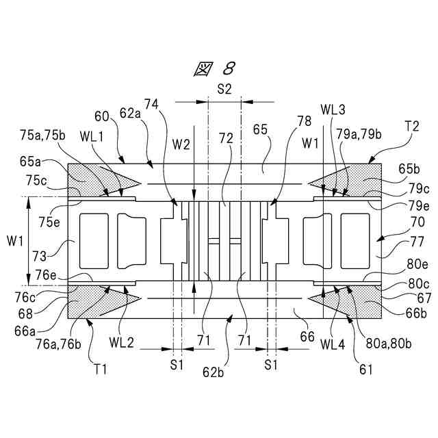
ワイパ装置を表側から見た斜視図である。
図1の破線円A部のワイパ装置の長手方向に沿う断面図である。
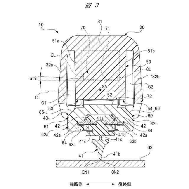
図2のB-B線に沿う断面図である。
図2のC-C線に沿う断面図である。
ワイパアームとワイパブレードとの連結手順を示す図である。
図5の破線円D部の拡大図である。
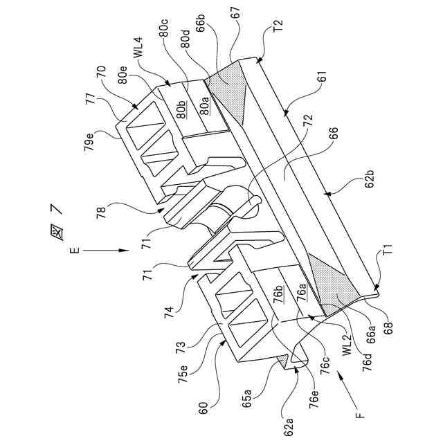
連結部材を単体で示す表側から見た斜視図である。
図7のE矢視図である。
図7のF矢視図である。
往路払拭時のワイパブレードの傾斜状態を示す図である。
復路払拭時のワイパブレードの傾斜状態を示す図である。
ワイパブレードの払拭時の連結部分の状態を示す図である。
メンテナンス時の連結部分の一の状態を示す図である。
メンテナンス時の連結部分の他の状態を示す図である。
【発明を実施するための形態】
【0009】
以下、本発明の一実施の形態について図面を用いて詳細に説明する。
【0010】
図1はワイパ装置を表側から見た斜視図を、図2は図1の破線円A部のワイパ装置の長手方向に沿う断面図を、図3は図2のB-B線に沿う断面図を、図4は図2のC-C線に沿う断面図を、図5はワイパアームとワイパブレードとの連結手順を示す図を、図6は図5の破線円D部の拡大図を、図7は連結部材を単体で示す表側から見た斜視図を、図8は図7のE矢視図を、図9は図7のF矢視図をそれぞれ示している。
(【0011】以降は省略されています)
この特許をJ-PlatPat(特許庁公式サイト)で参照する
関連特許
株式会社ミツバ
モータ
23日前
株式会社ミツバ
巻線装置
7日前
株式会社ミツバ
モータ装置
25日前
株式会社ミツバ
ワイパ装置
今日
株式会社ミツバ
ワイパ装置
今日
株式会社ミツバ
モータ制御装置
今日
株式会社ミツバ
ワイパブレード
2日前
株式会社ミツバ
ワイパブレード
2日前
株式会社ミツバ
ワイパブレード
2日前
株式会社ミツバ
モータ制御装置
今日
株式会社ミツバ
非容積型ポンプ
15日前
株式会社ミツバ
車両用灯火装置
1か月前
株式会社ミツバ
ブラシレスモータ
1か月前
株式会社ミツバ
電動車両及びハブモータ
2か月前
株式会社ミツバ
巻線装置、及び、巻線方法
7日前
株式会社ミツバ
巻線装置、及び、巻線方法
7日前
株式会社ミツバ
モータの制御装置、及び、その制御方法
1か月前
株式会社ミツバ
マグネットホルダ及び電動モータ用ロータ
1か月前
株式会社ミツバ
鞍乗型電動車両の制御システム、及び鞍乗型電動車両の制御方法
23日前
個人
カーテント
4か月前
個人
タイヤレバー
2か月前
個人
前輪キャスター
1か月前
個人
車窓用防虫網戸
4か月前
個人
警告装置
5か月前
個人
小型EVシステム
5か月前
個人
上部一体型自動車
今日
個人
ホイルのボルト締結
3か月前
個人
ルーフ付きトライク
1か月前
個人
タイヤ脱落防止構造
1か月前
個人
車輪清掃装置
4か月前
日本精機株式会社
表示装置
2か月前
井関農機株式会社
作業車両
3か月前
個人
車両通過構造物
2か月前
日本精機株式会社
表示装置
1か月前
日本精機株式会社
表示装置
2か月前
個人
キャンピングトライク
3か月前
続きを見る
他の特許を見る