TOP
|
特許
|
意匠
|
商標
特許ウォッチ
Twitter
他の特許を見る
10個以上の画像は省略されています。
公開番号
2025145815
公報種別
公開特許公報(A)
公開日
2025-10-03
出願番号
2024046251
出願日
2024-03-22
発明の名称
モータ制御装置
出願人
株式会社ミツバ
代理人
弁理士法人筒井国際特許事務所
主分類
E05F
15/659 20150101AFI20250926BHJP(錠;鍵;窓または戸の付属品;金庫)
要約
【課題】車両の開閉体がスムーズに作動するように、定常運転期間であってもトルク不足を抑制して駆動モータをより適切に制御できるモータ制御装置を提供する。
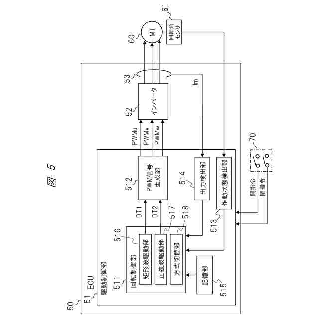
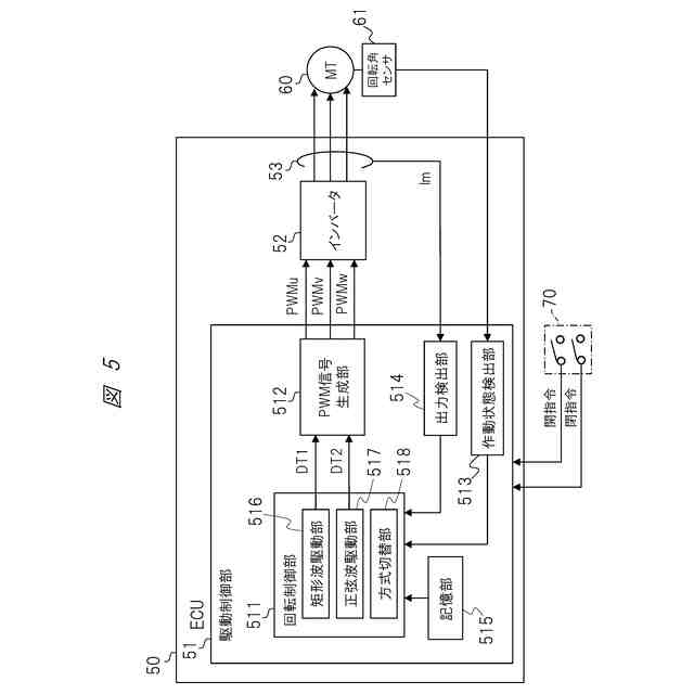
【解決手段】車両10の開閉体13に接続されて開閉体13を自動開閉させるための駆動モータ60を制御するモータ制御装置50であって、開閉体13の作動状態に応じた駆動モータ60の出力を検出する出力検出部514と、出力検出部514による出力結果から求められる判定値に基づいて、正弦波駆動方式または矩形駆動御方式への駆動モータ60の制御方式の切り替えを行う方式切替部518と、を有する。
【選択図】図5
特許請求の範囲
【請求項1】
車両の開閉体に接続されて前記開閉体を自動開閉させるための駆動モータを制御するモータ制御装置であって、
前記開閉体の作動状態に応じた前記駆動モータの出力を検出する出力検出部と、
前記出力検出部による出力結果から求められる判定値に基づいて、正弦波駆動方式または矩形波駆動方式への前記駆動モータの制御方式の切り替えを行う方式切替部と、を有する、
モータ制御装置。
続きを表示(約 1,000 文字)
【請求項2】
請求項1に記載のモータ制御装置において、
前記方式切替部は、前記駆動モータの始動運転期間後の定常運転期間中に、前記制御方式の切り替えを行う、
モータ制御装置。
【請求項3】
請求項1に記載のモータ制御装置において、
前記判定値は、前記駆動モータの出力デューティであり、
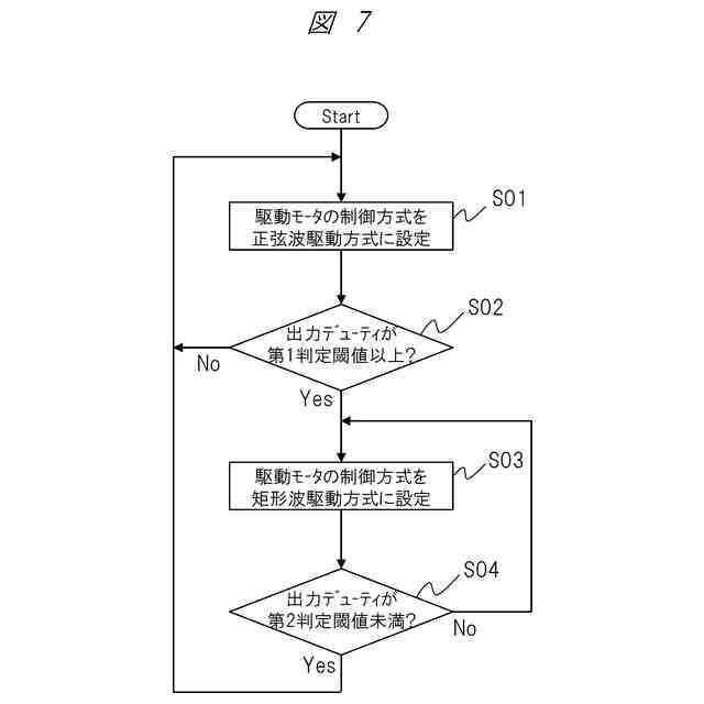
前記方式切替部は、前記正弦波駆動方式で前記駆動モータが制御されている間に、前記判定値が増加して予め設定される第1判定閾値以上になると、前記正弦波駆動方式から前記矩形波駆動方式への前記制御方式の切り替えを行う、
モータ制御装置。
【請求項4】
請求項3に記載のモータ制御装置において、
前記方式切替部は、前記正弦波駆動方式から前記矩形波駆動方式への前記制御方式の切り替え後、前記判定値が減少して前記第1判定閾値よりも小さい値である第2判定閾値未満になると、前記矩形波駆動方式から前記正弦波駆動方式への切り替えを行う、
モータ制御装置。
【請求項5】
請求項1に記載のモータ制御装置において、
前記判定値は、前記駆動モータの目標速度と制御速度との偏差であり、
前記方式切替部は、前記正弦波駆動方式で前記駆動モータが制御されている間に、前記駆動モータの制御速度が前記目標速度よりも遅い状態で、前記判定値が増大して予め設定される第1判定閾値以上になると、前記正弦波駆動方式から前記矩形波駆動方式への前記制御方式の切り替えを行う、
モータ制御装置。
【請求項6】
請求項1に記載のモータ制御装置において、
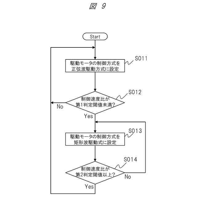
前記判定値は、前記駆動モータの目標速度に対する制御速度の比であり、
前記方式切替部は、前記正弦波駆動方式で前記駆動モータが制御されている間に、前記判定値が減少して予め設定される第1判定閾値未満になると、前記正弦波駆動方式から前記矩形波駆動方式への前記制御方式の切り替えを行う、
モータ制御装置。
【請求項7】
請求項1に記載のモータ制御装置において、
前記開閉体の作動状態を検出する作動状態検出部を有し、
前記作動状態検出部は、前記開閉体が当該開閉体の作動エリアに設定された複数の制御エリアのうちの何れエリアに位置するかを検出し、
前記方式切替部は、前記開閉体が予め設定された特定の制御エリアに位置する場合に、前記制御方式の切り替えを行う、
モータ制御装置。
発明の詳細な説明
【技術分野】
【0001】
本開示は、車両の開閉体を自動開閉させるための駆動モータを制御するモータ制御装置に関する。
続きを表示(約 1,200 文字)
【背景技術】
【0002】
従来、車両が備えるスライドドア等の開閉体として、駆動モータにより自動開閉可能に構成されているものがある。開閉体を自動開閉させるための駆動モータを制御するモータ制御装置には、正弦波信号を用いた正弦波駆動方式を採用するものと、矩形波信号を用た矩形波駆動方式を採用するものとがある。
【0003】
特許文献1には、モータの始動時にはモータを矩形波制御し、モータの定常運転では、モータの回転角に応じた駆動電力を最適な正弦波電力となるように制御することが記載されている。
【先行技術文献】
【特許文献】
【0004】
特許第6939447号公報
【発明の概要】
【発明が解決しようとする課題】
【0005】
上記のように特許文献1に係る発明では、スライドドアの作動開始時には、矩形波制駆動式(矩形波制御方式)で駆動モータを始動させ、定常運転時には正弦波駆動方式(正弦波制御方式)で駆動モータを駆動させている。これにより、スライドドア等の開閉体の作動開始時におけるトルク不足を抑えることができ、開閉体をスムーズに作動させ易くなる。
【0006】
また、定常運転時に正弦波駆動方式で駆動モータを駆動させることで、駆動モータの動作音を抑制できるといったメリットがある。ただし、駆動モータの定常運転期間であっても、開閉体の作動状況によっては駆動モータのトルク不足が生じる虞がある。
【0007】
しかしながら、特許文献1に係る発明では、駆動モータの定常運転期間におけるトルク不足は考慮されていない。このため、駆動モータの定常運転期間において、駆動モータのトルク不足に起因して開閉体がスムーズに作動しない状況となる虞はある。
【0008】
本開示の一つの目的は、車両の開閉体がスムーズに作動するように、定常運転期間であってもトルク不足を抑制して駆動モータをより適切に制御できるモータ制御装置を提供することである。
【課題を解決するための手段】
【0009】
本開示のモータ制御装置の一態様は、車両の開閉体に接続されて前記開閉体を自動開閉させるための駆動モータを制御するモータ制御装置であって、前記開閉体の作動状態に応じた前記駆動モータの出力を検出する出力検出部と、前記出力検出部による出力結果から求められる判定値に基づいて、正弦波駆動方式または矩形波駆動方式への前記駆動モータの制御方式の切り替えを行う方式切替部と、を有する。
【発明の効果】
【0010】
本開示のモータ制御装置によれば、定常運転期間であってもトルク不足を抑制して駆動モータをより適切に制御できる。したがって、車両の開閉体を、動作音を抑制しつつよりスムーズに作動させることができるようになる。
【図面の簡単な説明】
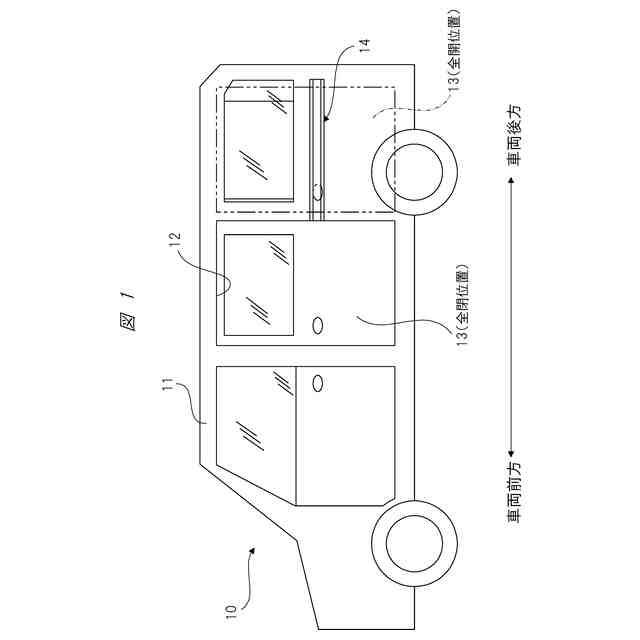
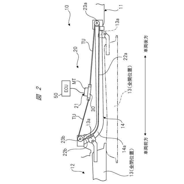
(【0011】以降は省略されています)
この特許をJ-PlatPat(特許庁公式サイト)で参照する
関連特許
株式会社ミツバ
モータ
23日前
株式会社ミツバ
巻線装置
7日前
株式会社ミツバ
ワイパ装置
2か月前
株式会社ミツバ
ワイパ装置
今日
株式会社ミツバ
ワイパ装置
今日
株式会社ミツバ
モータ装置
25日前
株式会社ミツバ
車両用灯火装置
1か月前
株式会社ミツバ
モータ制御装置
今日
株式会社ミツバ
モータ制御装置
今日
株式会社ミツバ
ワイパブレード
2日前
株式会社ミツバ
ワイパブレード
2日前
株式会社ミツバ
ワイパブレード
2日前
株式会社ミツバ
非容積型ポンプ
15日前
株式会社ミツバ
ブラシレスモータ
1か月前
株式会社ミツバ
電動車両及びハブモータ
2か月前
株式会社ミツバ
巻線装置、及び、巻線方法
7日前
株式会社ミツバ
巻線装置、及び、巻線方法
7日前
株式会社ミツバ
モータの制御装置、及び、その制御方法
1か月前
株式会社ミツバ
マグネットホルダ及び電動モータ用ロータ
1か月前
株式会社ミツバ
鞍乗型電動車両の制御システム、及び鞍乗型電動車両の制御方法
23日前
個人
物品保管箱
1か月前
個人
防犯用ドア装置
1か月前
個人
ピンシリンダー錠。
2か月前
リョービ株式会社
ヒンジ装置
4か月前
個人
二重ロック機能付小物入れ
1か月前
個人
顔認証による入室システム
2か月前
個人
ポスト機能付き手提げ金庫
1か月前
株式会社SKB
引き戸装置
4か月前
株式会社ニシムラ
ラッチ錠
3か月前
三協立山株式会社
開口部装置
1か月前
ミサワホーム株式会社
錠受具
2か月前
個人
無人貸金庫システム
7日前
リョービ株式会社
ドアクローザ
2か月前
リョービ株式会社
ドアクローザ
2か月前
株式会社アルファ
電気錠
2か月前
リョービ株式会社
ドアクローザ
4か月前
続きを見る
他の特許を見る