TOP
|
特許
|
意匠
|
商標
特許ウォッチ
Twitter
他の特許を見る
10個以上の画像は省略されています。
公開番号
2025143240
公報種別
公開特許公報(A)
公開日
2025-10-01
出願番号
2025043014
出願日
2025-03-18
発明の名称
表示パネル、表示パネルアセンブリ、及び表示パネルを含む電子装置
出願人
三星ディスプレイ株式會社
,
Samsung Display Co.,Ltd.
代理人
個人
主分類
G09F
9/30 20060101AFI20250924BHJP(教育;暗号方法;表示;広告;シール)
要約
【課題】信頼性が向上された表示パネルに関する技術を提供する。
【解決手段】本発明の表示パネルは、表示領域及び非表示領域を定義し、下部基板と、上部基板と、下部基板と上部基板との間に配置される充填剤とを含み、非表示領域には、第1方向に延長される第1縁領域、第1縁領域から第1方向と垂直の第2方向に離隔されて配置され、第1方向に延長される第2縁領域、第2方向に延長され、第1縁領域の一側と前記第2縁領域の一側を連結する第3縁領域、及び第3縁領域から第1方向に離隔されて配置され、第2方向に延長される第4縁領域が定義され、第1縁領域乃至第4縁領域のうち少なくとも一つの領域には上部基板と前記下部基板との間にシールが配置され、第1縁領域乃至第4縁領域のうち少なくとも一つの領域には充填剤が表示領域から延長されて配置される。
【選択図】図4
特許請求の範囲
【請求項1】
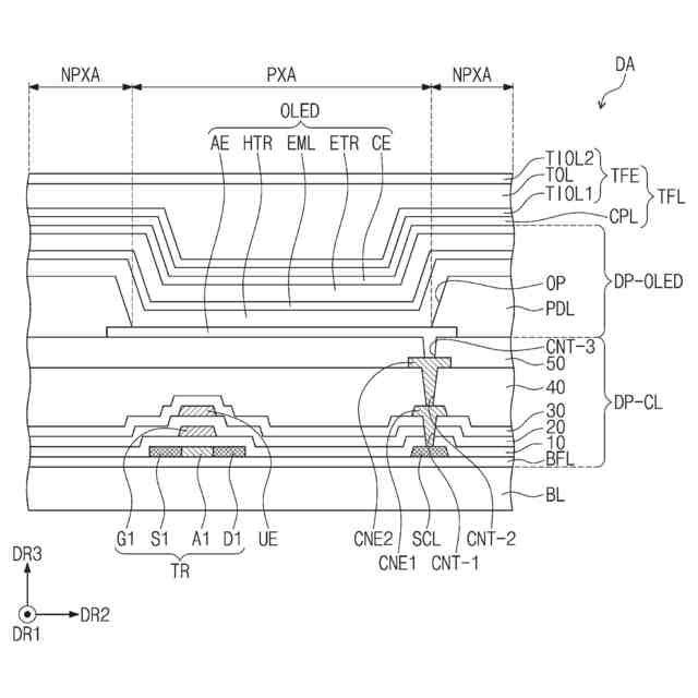
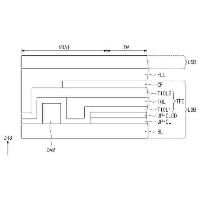
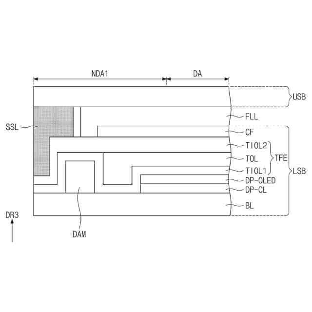
表示領域及び前記表示領域を囲む非表示領域が定義された表示パネルにおいて、
前記表示パネルは発光素子層を含む下部基板と、前記下部基板の上に配置される上部基板と、前記表示領域と重畳して前記下部基板と前記上部基板との間に配置される充填剤とを含み、
前記非表示領域には、
第1方向に延長される第1縁領域、
前記第1縁領域から前記第1方向と垂直の第2方向に離隔されて配置され、前記第1方向に延長される第2縁領域、
前記第2方向に延長され、前記第1縁領域の一側と前記第2縁領域の一側を連結する第3縁領域、及び
前記第3縁領域から前記第1方向に離隔されて配置され、前記第2方向に延長される第4縁領域が定義され、
前記第1縁領域乃至前記第4縁領域のうち少なくとも一つの領域には前記上部基板と前記下部基板との間にシールが配置され、
前記第1縁領域乃至前記第4縁領域のうち少なくとも一つの領域には前記充填剤が前記表示領域から延長されて配置される表示パネル。
続きを表示(約 1,400 文字)
【請求項2】
前記シールは前記上部基板と前記下部基板との間に直接配置され、前記上部基板と前記下部基板を結合する請求項1に記載の表示パネル。
【請求項3】
前記第1縁領域乃至前記第4縁領域の一つの領域には前記シールが配置され、
前記第1縁領域乃至前記第4縁領域のうち前記シールが配置されていない残りの3つの領域には前記充填剤が延長されて配置される請求項1に記載の表示パネル。
【請求項4】
前記第1縁領域乃至前記第4縁領域のうち2つの領域には前記シールが配置され、
前記第1縁領域乃至前記第4縁領域のうち前記シールが配置されていない残りの2つの領域には前記充填剤が延長されて配置される請求項1に記載の表示パネル。
【請求項5】
前記第1縁領域乃至前記第4縁領域のうち3つの領域には前記シールが配置され、
前記第1縁領域乃至前記第4縁領域のうち前記シールが配置されていない残りの一つの領域には前記充填剤が延長されて配置される請求項1に記載の表示パネル。
【請求項6】
前記非表示領域は前記表示領域と離隔され、前記第1縁領域に隣接したパッド領域を更に含む請求項1に記載の表示パネル。
【請求項7】
前記下部基板は、
前記は発光素子層の上に配置される封止層を更に含み、
前記封止層は前記発光素子層の上に配置される第1無機封止層と、前記第1無機封止層の上に配置される有機封止層と、前記有機封止層の上に配置される第2無機封止層とを含み、
前記シールは前記第1無機封止層及び前記第2無機封止層と重畳し、前記有機封止層とは重畳しない請求項1に記載の表示パネル。
【請求項8】
表示領域及び前記表示領域を囲む非表示領域が定義された複数の単位表示パネルを含む表示パネルアセンブリにおいて、
前記表示パネルアセンブリは発光素子を含む下部母基板と、前記下部母基板の上に配置される上部母基板と、前記表示領域と重畳して前記下部母基板と前記上部母基板との間に配置される充填剤とを含み、
前記非表示領域には、
第1方向に延長される第1縁領域、
前記第1縁領域から前記第1方向と垂直の第2方向に離隔されて配置され、前記第1方向に延長される第2縁領域、
前記第2方向に延長され、前記第1縁領域の一側と前記第2縁領域の一側を連結する第3縁領域、及び
前記第3縁領域から前記第1方向に離隔されて配置され、前記第2方向に延長される第4縁領域が定義され、
前記第1縁領域乃至前記第4縁領域のうち少なくとも一つの領域には前記上部母基板と前記下部母基板との間にシールが配置され、
前記第1縁領域乃至前記第4縁領域のうち少なくとも一つの領域には前記充填剤が前記表示領域から延長されて配置される表示パネルアセンブリ。
【請求項9】
前記複数の単位表示パネルをそれぞれ囲むカッティング領域を更に含む請求項8に記載の表示パネルアセンブリ。
【請求項10】
前記シールは前記上部母基板と前記下部母基板との間に直接配置され、前記上部母基板と前記下部母基板を結合する請求項8に記載の表示パネルアセンブリ。
(【請求項11】以降は省略されています)
発明の詳細な説明
【技術分野】
【0001】
本発明は表示パネル及び複数の単位表示パネルを製造するための表示パネルアセンブリに関する。
続きを表示(約 1,100 文字)
【背景技術】
【0002】
テレビ、携帯電話、タブレット、ナビゲーション、ゲーム機などのような電子装置は画像を表示する表示パネルを含み得る。表示パネルは発光素子を含む下部基板と上部基板を含み得る。
【0003】
複数の単位表示パネルを製造するための表示パネルアセンブリは、下部母基板と、上部母基板と、下部母基板と上部母基板を合着するためのシールと、充填剤と、を含み得る。
【先行技術文献】
【特許文献】
【0004】
中国実用新案第208352346号明細書
【発明の概要】
【発明が解決しようとする課題】
【0005】
本発明の目的は信頼性が向上された表示パネルを提供することである。
【0006】
本発明の他の目的は、工程性が向上された表示パネルアセンブリを提供することである。
【課題を解決するための手段】
【0007】
本発明の一実施例の表示パネルは、表示領域及び前記表示領域を囲む非表示領域が定義された表示パネルにおいて、前記表示パネルは発光素子層を含む下部基板と、前記下部基板の上に配置される上部基板と、前記表示領域と重畳して前記下部基板と前記上部基板との間に配置される充填剤とを含み、前記非表示領域には、第1方向に延長される第1縁領域、前記第1縁領域から前記第1方向と垂直の第2方向に離隔されて配置され、前記第1方向に延長される第2縁領域、前記第2方向に延長され、前記第1縁領域の一側と前記第2縁領域の一側を連結する第3縁領域、及び前記第3縁領域から前記第1方向に離隔されて配置され、前記第2方向に延長される第4縁領域が定義され、前記第1縁領域乃至前記第4縁領域のうち少なくとも一つの領域には前記上部基板と前記下部基板との間にシールが配置され、前記第1縁領域乃至前記第4縁領域のうち少なくとも一つの領域には前記充填剤が前記表示領域から延長されて配置される。
【0008】
前記シールは前記上部基板と前記下部基板との間に直接配置され、前記上部基板と前記下部基板を結合し得る。
【0009】
前記第1縁領域乃至前記第4縁領域のうち一つの領域には前記シールが配置され、前記第1縁領域乃至前記第4縁領域のうち前記シールが配置されていない残りの3つの領域には前記充填剤が延長されて配置され得る。
【0010】
前記第1縁領域乃至前記第4縁領域のうち2つの領域には前記シールが配置され、前記第1縁領域乃至前記第4縁領域のうち前記シールが配置されていない残りの2つの領域には前記充填剤が延長されて配置され得る。
(【0011】以降は省略されています)
この特許をJ-PlatPat(特許庁公式サイト)で参照する
関連特許
個人
回転式カード学習具
1か月前
日本精機株式会社
表示装置
3か月前
日本精機株式会社
表示装置
1か月前
日本精機株式会社
表示装置
11日前
個人
時刻表示機能つき手帳
2か月前
個人
計算用教具
7日前
中国電力株式会社
標示旗
17日前
日本精機株式会社
車両用表示装置
1か月前
日本精機株式会社
車両用表示装置
1か月前
日本精機株式会社
車両用表示装置
1か月前
個人
モデルで薔薇の花嫁様を描く為
28日前
日本精機株式会社
車両用センサ装置
7日前
トヨタ自動車株式会社
評価方法
2か月前
シャープ株式会社
表示装置
3か月前
シャープ株式会社
表示装置
18日前
株式会社一弘社
情報表示板
1か月前
個人
音楽教材
1か月前
パイオニア株式会社
表示装置
3か月前
株式会社ウメラボ
学習支援システム
3日前
個人
口唇閉鎖の訓練具
2か月前
株式会社半導体エネルギー研究所
半導体装置
2か月前
ニチレイマグネット株式会社
磁着式電飾装置
17日前
株式会社リコー
画像投射システム
18日前
株式会社ノジマ
応対体験システム
2か月前
株式会社サンゲツ
見本帳
1か月前
シチズンファインデバイス株式会社
液晶表示装置
26日前
株式会社バンダイ
情報処理装置およびプログラム
2か月前
個人
サインポスト
2か月前
BEST株式会社
吊り下げ表示部材
1か月前
シチズンファインデバイス株式会社
液晶表示装置
1か月前
学校法人関西医科大学
腹腔鏡手術訓練装置
17日前
シャープ株式会社
表示装置
1か月前
個人
ピアノの指トレーニング器具及び練習方法
2か月前
シャープ株式会社
表示装置
1か月前
朝日インテック株式会社
心臓モデル装置
3か月前
セイコーエプソン株式会社
表示方法
26日前
続きを見る
他の特許を見る