TOP
|
特許
|
意匠
|
商標
特許ウォッチ
Twitter
他の特許を見る
公開番号
2025145306
公報種別
公開特許公報(A)
公開日
2025-10-03
出願番号
2024045413
出願日
2024-03-21
発明の名称
電源管理回路、メモリシステム及び電源管理方法
出願人
キオクシア株式会社
代理人
弁理士法人酒井国際特許事務所
主分類
H02J
7/00 20060101AFI20250926BHJP(電力の発電,変換,配電)
要約
【課題】複数の蓄電素子の制御を適切に管理できる電源管理回路を提供する。
【解決手段】一つの実施形態によれば、測定回路と昇降圧回路と複数の端子とを有する電源管理回路が提供される。測定回路は、複数のスイッチに対応する複数の蓄電素子のそれぞれに、対応するスイッチを介して接続可能である。測定回路は、複数の蓄電素子のうち対応するスイッチを介して接続された蓄電素子の容量に関するパラメータを測定する。昇降圧回路は、複数の蓄電素子のそれぞれに、対応するスイッチを介して接続可能である。昇降圧回路は、複数の蓄電素子のうち対応するスイッチを介して接続された蓄電素子の電圧を昇圧又は降圧可能である。複数の端子は、複数のスイッチの制御端子にそれぞれ接続されるように構成される。
【選択図】図1
特許請求の範囲
【請求項1】
複数のスイッチに対応する複数の蓄電素子のそれぞれに、対応するスイッチを介して接続可能であり、前記複数の蓄電素子のうち前記対応するスイッチを介して接続された蓄電素子の容量に関するパラメータを測定する測定回路と、
前記複数の蓄電素子のそれぞれに、前記対応するスイッチを介して接続可能であり、前記複数の蓄電素子のうち前記対応するスイッチを介して接続された蓄電素子の電圧を昇圧又は降圧可能である昇降圧回路と、
前記複数のスイッチの制御端子にそれぞれ接続されるように構成された複数の端子と、
を備える、
電源管理回路。
続きを表示(約 940 文字)
【請求項2】
前記測定回路は、前記複数のスイッチのうち1以上のスイッチをオンさせた状態で前記1以上のスイッチに対応する1以上の蓄電素子の容量に関するパラメータを測定する
請求項1に記載の電源管理回路。
【請求項3】
前記昇降圧回路は、前記複数のスイッチのうち一部のスイッチをオンさせた状態で前記一部のスイッチに対応する一部の蓄電素子を充放電する
請求項1に記載の電源管理回路。
【請求項4】
接続可能な複数の蓄電素子のうちそれぞれに対応する蓄電素子に接続されるように構成された複数のスイッチと、
前記複数のスイッチが接続され、前記複数のスイッチのうち対応するスイッチを介して接続された前記対応する蓄電素子の容量を測定する測定回路と、
前記複数のスイッチが接続され、前記対応するスイッチを介して接続された前記対応する蓄電素子の電圧を昇圧又は降圧可能である昇降圧回路と、
前記複数のスイッチの制御端子にそれぞれ接続されるように構成された複数の端子と、
を備える
電源管理回路。
【請求項5】
前記測定回路は、前記複数のスイッチのうち1以上のスイッチをオンさせた状態で前記1以上のスイッチに対応する1以上の蓄電素子の容量に関するパラメータを測定する
請求項4に記載の電源管理回路。
【請求項6】
前記昇降圧回路は、前記複数のスイッチのうち一部のスイッチをオンさせた状態で前記一部のスイッチに対応する一部の蓄電素子を充放電する
請求項4に記載の電源管理回路。
【請求項7】
請求項1から6のいずれか1項に記載の電源管理回路と、
前記電源管理回路に接続されたメモリと、
を備えたメモリシステム。
【請求項8】
接続可能な複数の蓄電素子のうち対応するスイッチを介して接続された蓄電素子の容量に関するパラメータを測定することと、
前記測定の結果に応じて、前記複数の蓄電素子のうち前記対応するスイッチを介して接続された蓄電素子の電圧を昇圧又は降圧することと、
を含む電源管理方法。
発明の詳細な説明
【技術分野】
【0001】
本実施形態は、電源管理回路、メモリシステム及び電源管理方法に関する。
続きを表示(約 1,700 文字)
【背景技術】
【0002】
接続された蓄電装置に対する充電及び放電を制御する電源管理回路が知られている。このような電源管理回路は、揮発性メモリを有するメモリシステムで使用され得る。このようなメモリシステムは、外部電源が供給されている期間に蓄電装置を充電する。また、メモリシステムは、外部電源の遮断時には、蓄電装置の放電により得られる電荷を使用して動作することができる。複数の蓄電装置を利用する場合、複数の蓄電装置の制御を適切に管理することが望まれる。
【先行技術文献】
【特許文献】
【0003】
米国特許出願公開第2014/0258755号明細書
米国特許出願公開第2016/0071609号明細書
米国特許出願公開第2016/0329734号明細書
【発明の概要】
【発明が解決しようとする課題】
【0004】
一つの実施形態は、複数の蓄電素子の制御を適切に管理できる電源管理回路、メモリシステム及び電源管理方法を提供することを目的とする。
【課題を解決するための手段】
【0005】
一つの実施形態によれば、測定回路と昇降圧回路と複数の端子とを有する電源管理回路が提供される。測定回路は、複数のスイッチに対応する複数の蓄電素子のそれぞれに、対応するスイッチを介して接続可能である。測定回路は、複数の蓄電素子のうち対応するスイッチを介して接続された蓄電素子の容量に関するパラメータを測定する。昇降圧回路は、複数の蓄電素子のそれぞれに、対応するスイッチを介して接続可能である。昇降圧回路は、複数の蓄電素子のうち対応するスイッチを介して接続された蓄電素子の電圧を昇圧又は降圧可能である。複数の端子は、複数のスイッチの制御端子にそれぞれ接続されるように構成される。
【図面の簡単な説明】
【0006】
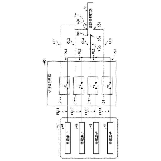
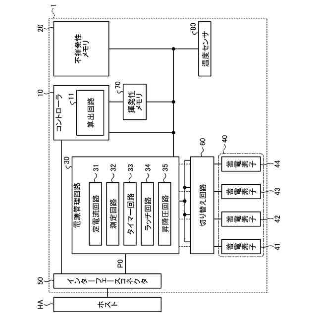
実施形態にかかるメモリシステムの構成を示すブロック図。
実施形態にかかる切り替え回路の構成を示す回路図。
実施形態にかかる切り替え回路の構成の一例を示す回路図。
実施形態にかかる容量測定時の切り替え回路の動作を示す回路図。
実施形態にかかる切り替え回路及び電源管理回路の動作を示す波形図。
実施形態にかかる放電時の切り替え回路の動作を示す回路図。
実施形態の変形例にかかるメモリシステムの構成を示すブロック図。
【発明を実施するための形態】
【0007】
以下に添付図面を参照して、実施形態にかかる電源管理回路、メモリシステム及び電源管理方法を詳細に説明する。なお、この実施形態により本発明が限定されるものではない。
【0008】
(実施形態)
実施形態にかかるメモリシステムは、電源管理回路を有する。メモリシステムは、電源管理回路で複数の蓄電素子へ充電し、メモリシステムに対する電源断時に複数の蓄電素子の電荷を使用可能である。以下に説明する実施形態では、複数の蓄電素子の制御を適切に管理するための工夫が施される。
【0009】
メモリシステム1は、図1に示すように構成され得る。図1は、メモリシステム1の構成を示すブロック図である。
【0010】
メモリシステム1は、通信媒体を介してホストHAに通信可能に接続され、ホストHAに対する記憶媒体として機能し得る。メモリシステム1は、基板及び基板に搭載された複数の電子部品を含んで構成され得る。メモリシステム1は、例えば、SSD(Solid State Drive)であってもよいし、UFS(Universal Flash Storage)デバイスであってもよい。通信媒体は、シリアルケーブルなどの有線通信路であってもよい。ホストHAは、例えば、パーソナルコンピュータ、サーバ、ストレージボックスなどの情報処理装置、携帯電話、撮像装置であってもよいし、タブレットコンピュータやスマートフォンなどの携帯端末であってもよいし、ゲーム機器であってもよいし、カーナビゲーションシステムなどの車載端末であってもよい。
(【0011】以降は省略されています)
この特許をJ-PlatPat(特許庁公式サイト)で参照する
関連特許
キオクシア株式会社
記憶装置
4日前
キオクシア株式会社
記憶装置
10日前
キオクシア株式会社
記憶装置
2日前
キオクシア株式会社
記憶装置
6日前
キオクシア株式会社
記憶装置
4日前
キオクシア株式会社
半導体装置
4日前
キオクシア株式会社
半導体装置
3日前
キオクシア株式会社
半導体装置
3日前
キオクシア株式会社
半導体装置
2日前
キオクシア株式会社
半導体装置
10日前
キオクシア株式会社
磁気記憶装置
4日前
キオクシア株式会社
磁気記憶装置
6日前
キオクシア株式会社
磁気記憶装置
6日前
キオクシア株式会社
磁気記憶装置
4日前
キオクシア株式会社
通信システム
4日前
キオクシア株式会社
基板ユニット
6日前
キオクシア株式会社
情報処理装置
18日前
キオクシア株式会社
磁気記憶装置
3日前
キオクシア株式会社
半導体記憶装置
4日前
キオクシア株式会社
半導体記憶装置
4日前
キオクシア株式会社
半導体記憶装置
3日前
キオクシア株式会社
半導体記憶装置
4日前
キオクシア株式会社
メモリデバイス
4日前
キオクシア株式会社
半導体記憶装置
6日前
キオクシア株式会社
半導体記憶装置
6日前
キオクシア株式会社
半導体記憶装置
6日前
キオクシア株式会社
半導体記憶装置
6日前
キオクシア株式会社
半導体記憶装置
3日前
キオクシア株式会社
メモリデバイス
9日前
キオクシア株式会社
半導体記憶装置
16日前
キオクシア株式会社
半導体記憶装置
16日前
キオクシア株式会社
メモリシステム
16日前
キオクシア株式会社
半導体記憶装置
17日前
キオクシア株式会社
メモリデバイス
18日前
キオクシア株式会社
半導体記憶装置
18日前
キオクシア株式会社
半導体記憶装置
26日前
続きを見る
他の特許を見る