TOP
|
特許
|
意匠
|
商標
特許ウォッチ
Twitter
他の特許を見る
10個以上の画像は省略されています。
公開番号
2025145717
公報種別
公開特許公報(A)
公開日
2025-10-03
出願番号
2024046042
出願日
2024-03-22
発明の名称
液体吐出装置、ヘッド制御装置及び液体吐出装置の制御方法
出願人
株式会社リコー
代理人
個人
,
個人
主分類
B41J
2/015 20060101AFI20250926BHJP(印刷;線画機;タイプライター;スタンプ)
要約
【課題】大規模なメモリアクセス機構を使用せずに、記憶部から波形情報を順次読み出す。
【解決手段】吐出ヘッドに印加する駆動電圧用の電圧データを生成するヘッド制御装置は、記憶部のエントリのアドレスを保持するアドレスカウンタと、エントリから読み出される繰り返し回数及び電圧の変化量を保持する繰り返し回数カウンタ及び電圧値保持部と、電圧値保持部に保持された電圧の変化量を現在の駆動電圧に対応する電圧データに加算して新たな電圧データを生成するデータ生成部と、を有し、繰り返し回数分の新たな電圧データがデータ生成部により生成された場合、アドレスカウンタを更新し、次のエントリから読み出される繰り返し回数及び電圧の変化量を繰り返し回数カウンタ及び電圧値保持部にそれぞれ格納する動作を、全てのエントリから繰り返し回数及び電圧の変化量を読み出すまで繰り返す。
【選択図】図5
特許請求の範囲
【請求項1】
駆動電圧に応じて液体を吐出する吐出ヘッドと、前記吐出ヘッドに印加する駆動電圧用の電圧データを生成するヘッド制御装置と、を有する液体吐出装置であって、
前記ヘッド制御装置は、
前記電圧データの生成に使用する繰り返し回数と電圧の変化量とを保持する複数のエントリを有する記憶部と、
前記エントリのアドレスを保持するアドレスカウンタと、
前記アドレスカウンタに保持されたアドレスに応じて前記エントリから読み出される前記繰り返し回数及び前記電圧の変化量をそれぞれ保持する繰り返し回数カウンタ及び電圧値保持部と、
前記電圧値保持部に保持された前記電圧の変化量を現在の駆動電圧に対応する電圧データに加算して新たな電圧データを生成するデータ生成部と、を有し、
前記ヘッド制御装置は、繰り返し回数分の前記新たな電圧データが前記データ生成部により生成された場合、前記アドレスカウンタを更新し、更新した前記アドレスカウンタのアドレスが示す前記エントリから読み出される前記繰り返し回数及び前記電圧の変化量を前記繰り返し回数カウンタ及び前記電圧値保持部にそれぞれ格納する動作を、前記複数のエントリから前記繰り返し回数及び前記電圧の変化量を読み出すまで繰り返すこと、
を特徴とする液体吐出装置。
続きを表示(約 1,900 文字)
【請求項2】
前記ヘッド制御装置は、前記新たな電圧データが生成される毎に前記繰り返し回数カウンタをデクリメントし、前記繰り返し回数カウンタが初期値に戻ったとき、前記アドレスカウンタを更新し、
前記データ生成部は、前記繰り返し回数カウンタが初期値に戻るまで前記繰り返し回数カウンタのデクリメント毎に新たな電圧データを生成すること
を特徴とする請求項1に記載の液体吐出装置。
【請求項3】
前記記憶部の最初の前記エントリには、前記繰り返し回数及び前記電圧の変化量の代わりに、スタートコード及び第1ベース電圧値が保持され、
前記データ生成部は、前記記憶部から前記スタートコード及び前記第1ベース電圧値が読み出された場合、次の前記エントリから読み出される前記電圧の変化量に前記第1ベース電圧値を加算して前記新たな電圧データを生成すること
を特徴とする請求項1又は請求項2に記載の液体吐出装置。
【請求項4】
前記記憶部の最後の前記エントリには、前記繰り返し回数及び前記電圧の変化量の代わりに、エンドコード及び第2ベース電圧値が保持され、
前記データ生成部は、前記記憶部から前記エンドコード及び前記第2ベース電圧値が読み出された場合、前記第2ベース電圧値に対応する電圧データを前記新たな電圧データとして生成すること
を特徴とする請求項1又は請求項2に記載の液体吐出装置。
【請求項5】
前記ヘッド制御装置と、前記ヘッド制御装置に動作を指示するプロセッサと、前記プロセッサにより制御される1以上の制御部とが搭載される制御基板を有し、
前記プロセッサは、前記制御基板の起動時に前記記憶部の前記複数のエントリの各々に前記繰り返し回数及び前記電圧の変化量を書き込み、前記制御基板の起動後に前記制御部の制御を開始すること
を特徴とする請求項1又は請求項2に記載の液体吐出装置。
【請求項6】
駆動電圧に応じて液体を吐出する吐出ヘッドに印加する駆動電圧用の電圧データを生成するヘッド制御装置であって、
前記電圧データの生成に使用する繰り返し回数と電圧の変化量とを保持する複数のエントリを有する記憶部と、
前記エントリのアドレスを保持するアドレスカウンタと、
前記アドレスカウンタに保持されたアドレスに応じて前記エントリから読み出される前記繰り返し回数及び前記電圧の変化量をそれぞれ保持する繰り返し回数カウンタ及び電圧値保持部と、
前記電圧値保持部に保持された前記電圧の変化量を現在の駆動電圧に対応する電圧データに加算して新たな電圧データを生成するデータ生成部と、を有し、
繰り返し回数分の前記新たな電圧データが前記データ生成部により生成された場合、前記アドレスカウンタを更新し、更新した前記アドレスカウンタのアドレスが示す前記エントリから読み出される前記繰り返し回数及び前記電圧の変化量を前記繰り返し回数カウンタ及び前記電圧値保持部にそれぞれ格納する動作を、前記複数のエントリから前記繰り返し回数及び前記電圧の変化量を読み出すまで繰り返すこと、
を特徴とするヘッド制御装置。
【請求項7】
駆動電圧に応じて液体を吐出する吐出ヘッドと、前記吐出ヘッドに印加する駆動電圧用の電圧データを生成するヘッド制御装置と、を有し、前記ヘッド制御装置が、前記電圧データの生成に使用する繰り返し回数と電圧の変化量とを保持する複数のエントリを有する記憶部と、前記エントリのアドレスを保持するアドレスカウンタと、前記アドレスカウンタに保持されたアドレスに応じて前記エントリから読み出される前記繰り返し回数及び前記電圧の変化量をそれぞれ保持する繰り返し回数カウンタ及び電圧値保持部と、データ生成部と、を有する液体吐出装置の制御方法であって、
前記データ生成部が、前記電圧値保持部に保持された前記電圧の変化量を現在の駆動電圧に対応する電圧データに加算して新たな電圧データを生成し、
前記ヘッド制御装置が、
繰り返し回数分の前記新たな電圧データが前記データ生成部により生成された場合、前記アドレスカウンタを更新し、
更新した前記アドレスカウンタのアドレスが示す前記エントリから読み出される前記繰り返し回数及び前記電圧の変化量を前記繰り返し回数カウンタ及び前記電圧値保持部にそれぞれ格納する動作を、前記複数のエントリから前記繰り返し回数及び前記電圧の変化量を読み出すまで繰り返すこと、
を特徴とする液体吐出装置の制御方法。
発明の詳細な説明
【技術分野】
【0001】
本発明は、液体吐出装置、ヘッド制御装置及び液体吐出装置の制御方法に関する。
続きを表示(約 2,300 文字)
【背景技術】
【0002】
インクジェットプリンタ等の液体吐出装置は、ピエゾ素子等が搭載された吐出ヘッドに駆動信号を印加することで液体を吐出する。この種の液体吐出装置は、液体吐出装置の全体の動作を制御するCPU(Central Processing Unit)と、CPUが実行するプログラムを記憶する記憶部と、駆動信号を生成する駆動信号生成部とを有する。記憶部には、駆動信号の単位時間あたりの駆動信号の電圧変化値(増加値、減少値又は維持)と電圧変化値の繰り返し回数とが記憶される。
【0003】
CPUは、駆動信号生成部からの要求に基づいて記憶部に記憶されたデータを駆動信号生成部に出力し、記憶部に記憶されたデータに基づいて所定の頻度でチェンジ信号を駆動信号生成部に出力する。駆動信号生成部は、CPUから受信するデータとチェンジ信号とに基づいて、電圧値が増加、減少又は維持される駆動信号を生成し、生成した駆動信号を吐出ヘッドに出力する(例えば、特許文献1参照)。
【0004】
また、例えば、液体吐出装置は、印字シーケンス制御部と、外部メモリと、DMAC(Direct Memory Access Controller)と、複数の内部メモリを含む駆動波形生成部と、駆動波形生成部から出力される駆動信号に基づいて液体を吐出する吐出ヘッドとを有する。例えば、DMAC及び駆動波形生成部は、ASIC(Application Specific Integrated Circuit)に搭載される。
【0005】
DMACは、印字シーケンス制御部からの転送要求に基づいて複数の内部メモリのうち基本波形データを出力済の内部メモリに外部メモリから基本波形データを順次転送する。駆動波形生成部は、未出力の基本波形データを保持する内部メモリを選択し、選択した内部メモリに保持された基本波形データを吐出ヘッドに出力する(例えば、特許文献2参照)。
【発明の概要】
【発明が解決しようとする課題】
【0006】
しかしながら、内部メモリに複数の駆動信号の電圧変化値と電圧変化値の繰り返し回数とが記憶される場合に、CPUやDMACなどの大規模なメモリアクセス機構を使用せずに、内部メモリに記憶された基本波形データに含まれる波形情報を使用して内部メモリから基本波形データを順次読み出す手法は提案されていない。
【0007】
開示の技術は、上記の課題に鑑みてなされたものであり、大規模なメモリアクセス機構を使用せずに、記憶部から波形情報を順次読み出すことを目的とする。
【課題を解決するための手段】
【0008】
上記技術的課題を解決するため、本発明の一形態の液体吐出装置は、駆動電圧に応じて液体を吐出する吐出ヘッドと、前記吐出ヘッドに印加する駆動電圧用の電圧データを生成するヘッド制御装置と、を有する液体吐出装置であって、前記ヘッド制御装置は、前記電圧データの生成に使用する繰り返し回数と電圧の変化量とを保持する複数のエントリを有する記憶部と、前記エントリのアドレスを保持するアドレスカウンタと、前記アドレスカウンタに保持されたアドレスに応じて前記エントリから読み出される前記繰り返し回数及び前記電圧の変化量をそれぞれ保持する繰り返し回数カウンタ及び電圧値保持部と、前記電圧値保持部に保持された前記電圧の変化量を現在の駆動電圧に対応する電圧データに加算して新たな電圧データを生成するデータ生成部と、を有し、前記ヘッド制御装置は、繰り返し回数分の前記新たな電圧データが前記データ生成部により生成された場合、前記アドレスカウンタを更新し、更新した前記アドレスカウンタのアドレスが示す次の前記エントリから読み出される前記繰り返し回数及び前記電圧の変化量を前記繰り返し回数カウンタ及び前記電圧値保持部にそれぞれ格納する動作を前記複数の前記エントリから前記繰り返し回数及び前記電圧の変化量を読み出すまで繰り返すこと、を特徴とする。
【発明の効果】
【0009】
大規模なメモリアクセス機構を使用せずに、記憶部から波形情報を順次読み出すことができる。
【図面の簡単な説明】
【0010】
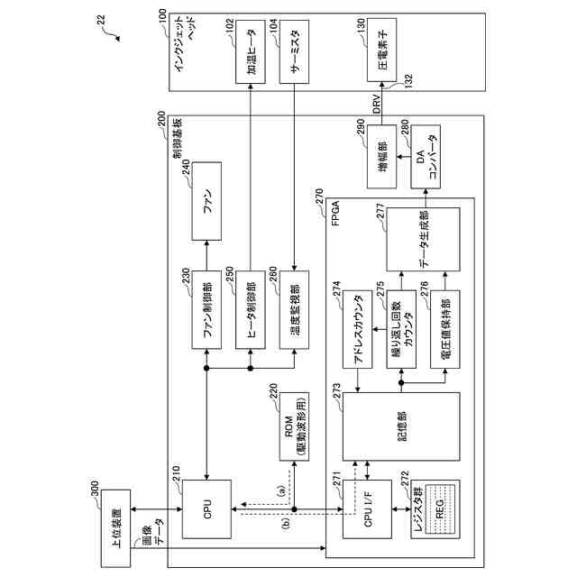
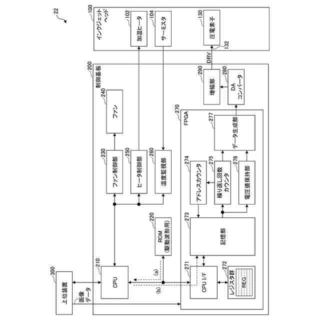
本発明の液体吐出装置の第1の実施形態を示すブロック図である。
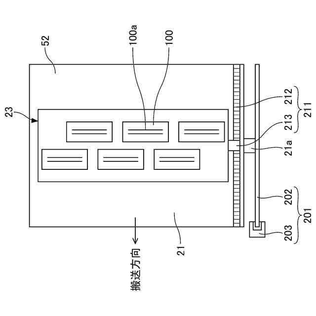
図1の液体吐出ユニットの構成の一例を示す平面図である。
図1の搬送ドラムの一例を示す平面図である。
図2のインクジェットヘッドの構造の一例を示す断面図である。
図2のインクジェットヘッドと、インクジェットヘッドに接続される制御基板とのハードウェア構成の一例を示すブロック図である。
図5の記憶部の波形情報記憶領域に保持される基本波形データの一例を示す図である。
図1の画像形成装置の電源オン時に図5のCPUが実行するタスクの一例を示すフロー図である。
図5の記憶部に保持された基本波形データに基づいてインクジェットヘッドに印加される駆動信号の電圧波形の一例を示す波形図である。
図5のFPGAにインクジェットヘッドの駆動制御を実施させるCPUの動作の一例を示すフロー図である。
図9のステップS21によるCPUからのプリント動作の指示に基づいてFPGAが実施するインクジェットヘッドの駆動制御の一例を示すフロー図である。
【発明を実施するための形態】
(【0011】以降は省略されています)
この特許をJ-PlatPat(特許庁公式サイト)で参照する
関連特許
株式会社リコー
画像形成装置
4日前
株式会社リコー
感熱記録媒体
5日前
株式会社リコー
画像形成システム
4日前
株式会社リコー
生体情報測定装置
5日前
株式会社リコー
液体を吐出する装置
5日前
株式会社リコー
電極及びその製造方法
6日前
株式会社リコー
印刷装置および印刷システム
4日前
株式会社リコー
液体吐出装置及び液体吐出方法
4日前
株式会社リコー
システム、方法およびプログラム
4日前
株式会社リコー
ベルト装置、及び、画像形成装置
4日前
株式会社リコー
パーソナライズビデオメカニズム
6日前
株式会社リコー
媒体処理装置及び画像形成システム
4日前
株式会社リコー
媒体処理装置及び画像形成システム
6日前
株式会社リコー
mRNA発現量の免疫学的評価方法
5日前
株式会社リコー
媒体処理装置及び画像形成システム
4日前
株式会社リコー
媒体処理装置及び画像形成システム
4日前
株式会社リコー
媒体処理装置及び画像形成システム
5日前
株式会社リコー
液体吐出ヘッドおよび液体吐出装置
5日前
株式会社リコー
媒体処理装置及び画像形成システム
4日前
株式会社リコー
原稿処理装置、及び原稿処理システム
5日前
株式会社リコー
シート給紙装置、および画像形成装置
4日前
株式会社リコー
処理剤液塗布装置および画像形成装置
4日前
株式会社リコー
液滴形成装置及びゲル粒子の製造方法
6日前
株式会社リコー
液体吐出ヘッド及び液体を吐出する装置
5日前
株式会社リコー
画像形成装置及び転写残トナーの回収方法
5日前
株式会社リコー
画像形成装置及び転写残トナーの回収方法
5日前
株式会社リコー
画像形成装置、制御方法、およびプログラム
6日前
株式会社リコー
投受光装置、測距システムおよびプログラム
5日前
株式会社リコー
画像形成装置、情報処理方法およびプログラム
4日前
株式会社リコー
面発光レーザ、レーザ装置、検出装置及び移動体
4日前
株式会社リコー
用紙処理装置、用紙処理方法、およびプログラム
4日前
株式会社リコー
画像形成装置、画像形成方法、およびプログラム
4日前
株式会社リコー
画像処理装置、画像処理方法、およびプログラム
4日前
株式会社リコー
検出システム、検出装置、検出方法及びプログラム
5日前
株式会社リコー
液体吐出ヘッド、ヘッドモジュール、液体吐出装置
4日前
株式会社リコー
液滴吐出ヘッド、ヘッドユニット及び液滴吐出装置
4日前
続きを見る
他の特許を見る