TOP
|
特許
|
意匠
|
商標
特許ウォッチ
Twitter
他の特許を見る
公開番号
2025146294
公報種別
公開特許公報(A)
公開日
2025-10-03
出願番号
2024046985
出願日
2024-03-22
発明の名称
荷電粒子線装置の校正基板、および荷電粒子線装置
出願人
HOYA株式会社
代理人
弁理士法人信友国際特許事務所
主分類
H01J
37/20 20060101AFI20250926BHJP(基本的電気素子)
要約
【課題】露光マスクを作製または分析するための荷電粒子線装置用として好適な校正基板を提供する。
【解決手段】基板と、前記基板上に設けられパターンと、を有し、前記パターンは、上層と、前記上層の下に設けられ、遷移金属を含有する下層と、を含むことを特徴とする荷電粒子線装置の校正基板である。
【選択図】図1
特許請求の範囲
【請求項1】
基板と、
前記基板上に設けられパターンと、を有し、
前記パターンは、上層と、前記上層の下に設けられ、遷移金属を含有する下層と、
を含むことを特徴とする荷電粒子線装置の校正基板。
続きを表示(約 860 文字)
【請求項2】
前記基板は、第1主面と、前記第1主面に対向する第2主面と、前記第1主面および前記第2主面に接する側面とを有し、
前記下層は、前記第1主面上にのみ設けられる
ことを特徴とする請求項1に記載の荷電粒子線装置の校正基板。
【請求項3】
前記上層と前記下層とは、互いにエッチング選択性を有する
ことを特徴とする請求項1または2に記載の荷電粒子線装置の校正基板。
【請求項4】
前記下層は、クロム、タンタルおよびモリブデンのうち少なくとも一つを含む
ことを特徴とする請求項1または2に記載の荷電粒子線装置の校正基板。
【請求項5】
前記上層は、遷移金属およびシリコンのうち少なくとも1つを含有する
ことを特徴とする請求項1または2に記載の荷電粒子線装置の校正基板。
【請求項6】
前記上層は、モリブデンを含む
ことを特徴とする請求項1または2に記載の荷電粒子線装置の校正基板。
【請求項7】
前記上層をエッチングするときの、前記上層の前記下層に対するエッチング選択比が2以上である
ことを特徴とする請求項1または2に記載の荷電粒子線装置の校正基板。
【請求項8】
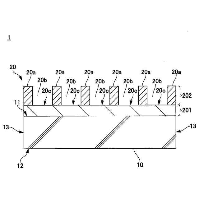
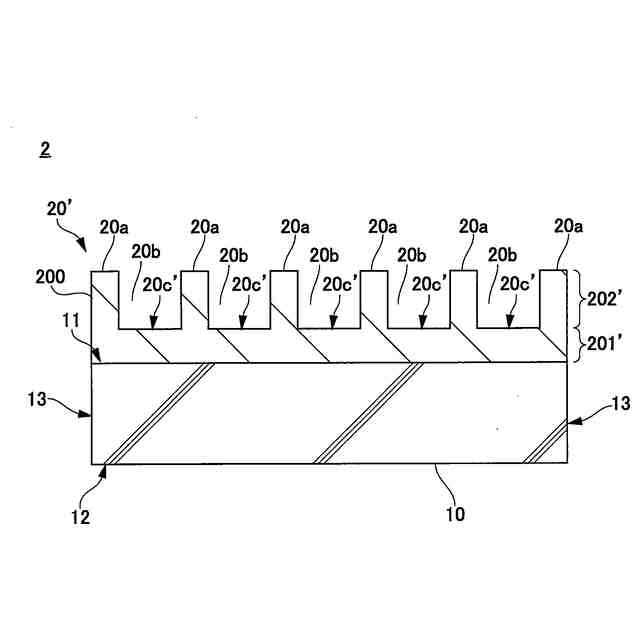
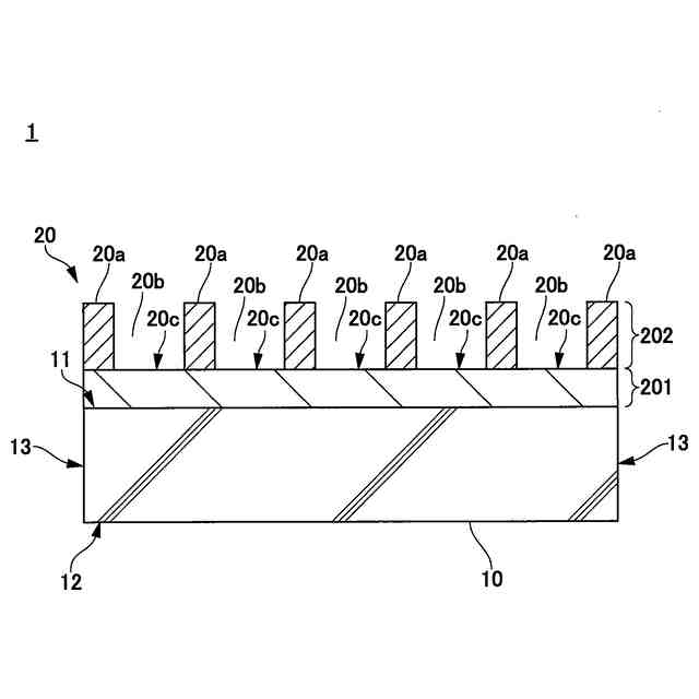
前記パターンは凹部を有し、前記凹部の底面は前記下層の表面が露出してなる
ことを特徴とする請求項1または2に記載の荷電粒子線装置の校正基板。
【請求項9】
前記パターンは凸部を有し、
前記凸部は、前記下層に接する下面と、前記下面に対向する上面と、前記上面および前記下面に接する側面と、を有し
前記上面および前記側面は露出した前記上層からなる
ことを特徴とする請求項1または2に記載の荷電粒子線装置の校正基板。
【請求項10】
請求項1または2に記載の荷電粒子線装置の校正基板を備えることを特徴とする、
荷電粒子線装置。
発明の詳細な説明
【技術分野】
【0001】
本発明は、荷電粒子線装置の校正基板、および荷電粒子線装置に関する。
続きを表示(約 1,500 文字)
【背景技術】
【0002】
電子顕微鏡や電子線描画装置などの荷電粒子線を用いた装置は、ビーム径の校正や正確な画像測定のために、寸法校正用のパターンを有する校正基板が用いられている。このような校正基板に関し、下記特許文献1には、リソグラフィー手法を用いて矩形状パターンを形成し、そのパターンピッチを標準マイクロスケールで校正した測長SEMで標準値を付与するとともに不確かさを付記したものが記載されている。
【0003】
ところで、上述した荷電粒子線装置においては、試料表面が絶縁性である場合、試料表面が帯電して正確な画像測定や描画が実施できないと言った問題が発生する。そこで、試料表面が絶縁性である場合、試料表面に導電性の蒸着材料をコーティングすることで、荷電粒子線による帯電を防止している(下記特許文献2参照)。
【0004】
また上述した荷電粒子線装置においては、試料の帯電や試料のダメージを防止しつつ、電子線の加速エネルギーを高めた高分解能での観察を可能とする技術として、試料に負電圧を印加して減速電界を形成するリターディング技術がある。リターディング技術の実施においては、試料表面が絶縁性である場合、試料支持台となる静電チャックの内部電極間に電位差を生じさせることで、試料支持台に設けた接触端子と試料との間の導通を図り、これによって試料表面の帯電を防止する技術が開示されている(下記特許文献3参照)。
【先行技術文献】
【特許文献】
【0005】
特開2003-279321号公報
特開2010-197272号公報
WO2010/097858A1
【発明の概要】
【発明が解決しようとする課題】
【0006】
ここで、荷電粒子線装置の校正基板は、荷電粒子線で加工または観察する試料と同様に扱われる。このため、例えば露光マスクの作製に用いられる荷電粒子線装置の校正基板は、試料に相当する露光マスクと同様の材料を用いたものが好ましく、多くは非導電性の基板が用いられる。
【0007】
ところが、校正基板に対しては、先の特許文献2に示されるように、帯電防止のために導電性の蒸着材料をコーティングすると、これによってパターンの寸法が変化するだけではなく、パターンの凸部の角において他の部分よりも蒸着膜厚が大きくなる。したがって、このような校正基板を用いて精度のよい画像測定やビーム径の校正を実施することはできない。また先の特許文献3に示されるように、試料支持台の静電チャックに電位差を生じさせる技術では、装置構成に手を加える必要があるため、汎用性に欠けると言った問題がある。
【0008】
そこで本発明は、露光マスクを作製または分析するための荷電粒子線装置用として好適な校正基板、および正確な校正に基づいた露光マスクの高精度な分析またはパターン精度の高い露光マスクの作製が可能な荷電粒子線装置を提供することを目的とする。
【課題を解決するための手段】
【0009】
上記課題を解決するため、本発明は以下の構成を有する。
【0010】
(構成1)
基板と、
前記基板上に設けられパターンと、を有し、
前記パターンは、上層と、前記上層の下に設けられ、遷移金属を含有する下層と、
を含むことを特徴とする荷電粒子線装置の校正基板。
(【0011】以降は省略されています)
この特許をJ-PlatPat(特許庁公式サイト)で参照する
関連特許
HOYA株式会社
光学ガラスおよび光学素子
8日前
HOYA株式会社
銀含有偏光ガラスおよび光アイソレータ
4日前
HOYA株式会社
銀含有偏光ガラスおよび光アイソレータ
4日前
HOYA株式会社
光学フィルタ及びそれを備える光脱毛装置
27日前
HOYA株式会社
荷電粒子線装置の校正基板、および荷電粒子線装置
4日前
HOYA株式会社
マスクブランク、転写用マスク、及び表示装置の製造方法
4日前
HOYA株式会社
光学ガラスおよび光学素子
20日前
HOYA株式会社
光学ガラスおよび光学素子
20日前
HOYA株式会社
導電膜付き基板、多層反射膜付き基板、マスクブランク、反射型マスク、および半導体装置の製造方法
1日前
HOYA株式会社
反射型マスクブランク、反射型マスク及びその製造方法、並びに半導体装置の製造方法
2か月前
HOYA株式会社
磁気記録媒体基板用または磁気記録再生装置用ガラススペーサ用のガラス、磁気記録媒体基板、磁気記録媒体、磁気記録再生装置用ガラススペーサおよび磁気記録再生装置
6日前
個人
安全なNAS電池
1か月前
東レ株式会社
多孔質炭素シート
27日前
日本発條株式会社
積層体
8日前
個人
フリー型プラグ安全カバー
1か月前
エイブリック株式会社
半導体装置
29日前
ローム株式会社
半導体装置
6日前
ローム株式会社
半導体装置
4日前
ローム株式会社
半導体装置
6日前
キヤノン株式会社
電子機器
27日前
エイブリック株式会社
半導体装置
29日前
個人
防雪防塵カバー
8日前
ローム株式会社
半導体装置
27日前
ローム株式会社
半導体装置
6日前
ニチコン株式会社
コンデンサ
20日前
株式会社ティラド
面接触型熱交換器
19日前
オムロン株式会社
電磁継電器
1か月前
太陽誘電株式会社
全固体電池
4日前
個人
半導体パッケージ用ガラス基板
7日前
株式会社ホロン
冷陰極電子源
4日前
株式会社GSユアサ
蓄電装置
1か月前
沖電気工業株式会社
アンテナ
1か月前
株式会社GSユアサ
蓄電装置
8日前
株式会社GSユアサ
蓄電装置
4日前
ニチコン株式会社
コンデンサ
20日前
東レ株式会社
ガス拡散層の製造方法
27日前
続きを見る
他の特許を見る