TOP
|
特許
|
意匠
|
商標
特許ウォッチ
Twitter
他の特許を見る
10個以上の画像は省略されています。
公開番号
2025135610
公報種別
公開特許公報(A)
公開日
2025-09-18
出願番号
2025095156,2024547353
出願日
2025-06-06,2023-09-13
発明の名称
電子機器、電子機器の制御方法、及びプログラム
出願人
京セラ株式会社
代理人
個人
,
個人
,
個人
主分類
G01S
13/34 20060101AFI20250910BHJP(測定;試験)
要約
【課題】電波の送受信により、人体などの心拍数を良好な精度で高ロバストに検出し得る電子機器、電子機器の制御方法、及びプログラムを提供する。
【解決手段】電子機器は、送信波を送信する送信部と、送信波の物標からの反射波を受信する受信部と、送信波及び受信波のビート信号をフーリエ変換した後の変換信号に基づいて、物標の距離、方向、及び速度を検出する信号処理部と、を備える。信号処理部は、変換信号から物標の心拍に伴う心音振動に相当する信号成分を、複数の距離レンジを中心とする、複数の窓関数により抽出し、心音振動に相当する信号成分にエンベロープ処理を行ったエンベロープ信号に対して周波数解析を行い、周波数解析の結果に対して統計結果の算出処理を行い、算出結果に基づいて物標の心拍の周波数の時系列データを出力する。
【選択図】図2
特許請求の範囲
【請求項1】
送信波を送信する送信部と、
前記送信波の物標からの反射波を受信する受信部と、
前記送信波及び前記受信波のビート信号をフーリエ変換した後の変換信号に基づいて、前記物標の距離、方向、及び速度を検出する信号処理部と、
を備える電子機器であって、
前記信号処理部は、
前記変換信号から前記物標の心拍に伴う心音振動に相当する信号成分を、複数の距離レンジを中心とする、複数の窓関数により抽出し、
前記心音振動に相当する信号成分にエンベロープ処理を行ったエンベロープ信号に対して周波数解析を行い、
前記周波数解析の結果に対して統計結果の算出処理を行い、
前記算出結果に基づいて、前記物標の心拍の周波数の時系列データを出力する、電子機器。
続きを表示(約 940 文字)
【請求項2】
前記信号処理部は、前記周波数解析として超分解能周波数解析を行う、請求項1に記載の電子機器。
【請求項3】
前記信号処理部は、前記周波数解析として部分空間法に基づく解析を行う、請求項1に記載の電子機器。
【請求項4】
前記信号処理部は、前記周波数解析としてMUSIC法に基づく解析を行う、請求項3に記載の電子機器。
【請求項5】
送信部から送信波を送信するステップと、
前記送信波の物標からの反射波を受信部において受信するステップと、
前記送信波及び前記受信波のビート信号をフーリエ変換した後の変換信号に基づいて、前記物標の距離、方向、及び速度を検出するステップと、
前記変換信号から前記物標の心拍に伴う心音振動に相当する信号成分を、複数の距離レンジを中心とする、複数の窓関数により抽出するステップと、
前記心音振動に相当する信号成分にエンベロープ処理を行ったエンベロープ信号に対して周波数解析を行うステップと、
前記周波数解析の結果に対して統計結果の算出処理を行うステップと、
前記算出結果に基づいて、前記物標の心拍の周波数の時系列データを出力するステップと、
を含む電子機器の制御方法。
【請求項6】
電子機器に、
送信部から送信波を送信するステップと、
前記送信波の物標からの反射波を受信部において受信するステップと、
前記送信波及び前記受信波のビート信号をフーリエ変換した後の変換信号に基づいて、前記物標の距離、方向、及び速度を検出するステップと、
前記変換信号から前記物標の心拍に伴う心音振動に相当する信号成分を、複数の距離レンジを中心とする、複数の窓関数により抽出するステップと、
前記心音振動に相当する信号成分にエンベロープ処理を行ったエンベロープ信号に対して周波数解析を行うステップと、
前記周波数解析の結果に対して統計結果の算出処理を行うステップと、
前記算出結果に基づいて、前記物標の心拍の周波数の時系列データを出力するステップと、
を実行させるプログラム。
発明の詳細な説明
【関連出願の相互参照】
【0001】
本出願は、2022年9月16日に日本国に特許出願された特願2022-148633の優先権を主張するものであり、この先の出願の開示全体を、ここに参照のために取り込む。
続きを表示(約 3,200 文字)
【技術分野】
【0002】
本開示は、電子機器、電子機器の制御方法、及びプログラムに関する。
【背景技術】
【0003】
例えば自動車に関連する産業などの分野において、自車両と所定の物体との間の距離などを測定する技術が重要視されている。特に、近年、ミリ波のような電波を送信し、障害物などの物体に反射した反射波を受信することで、物体との間の距離などを測定するレーダ(RADAR(Radio Detecting and Ranging))の技術が、種々研究されている。このような距離などを測定する技術の重要性は、運転者の運転をアシストする技術、及び、運転の一部又は全部を自動化する自動運転に関連する技術の発展に伴い、今後ますます高まると予想される。
【0004】
また、送信された電波が所定の物体に反射した反射波を受信することで、当該物体の存在などを検出する技術について、種々の提案がされている。例えば特許文献1は、マイクロ波を利用することで、人の存在及び人の生体情報を検出し得る装置を提案している。また、例えば特許文献2は、マイクロ波レーダの反射信号に基づいて、生体の呼吸又は心拍の周波数のようなバイタルサインを検出する装置を提案している。
【先行技術文献】
【特許文献】
【0005】
特開2002-71825号公報
特開2021-32880号公報
【発明の概要】
【0006】
一実施形態に係る電子機器は、
送信波を送信する送信部と、
前記送信波の物標からの反射波を受信する受信部と、
前記送信波及び前記受信波のビート信号をフーリエ変換した後の変換信号に基づいて、前記物標の距離、方向、及び速度を検出する信号処理部と、
を備える。
前記信号処理部は、
前記変換信号から前記物標の心拍に伴う心音振動に相当する信号成分を、複数の距離レンジを中心とする、複数の窓関数により抽出し、
前記心音振動に相当する信号成分にエンベロープ処理を行ったエンベロープ信号に対して周波数解析を行い、
前記周波数解析の結果に対して統計結果の算出処理を行い、
前記算出結果に基づいて、前記物標の心拍の周波数の時系列データを出力する。
【0007】
一実施形態に係る電子機器の制御方法は、
送信部から送信波を送信するステップと、
前記送信波の物標からの反射波を受信部において受信するステップと、
前記送信波及び前記受信波のビート信号をフーリエ変換した後の変換信号に基づいて、前記物標の距離、方向、及び速度を検出するステップと、
前記変換信号から前記物標の心拍に伴う心音振動に相当する信号成分を、複数の距離レンジを中心とする、複数の窓関数により抽出するステップと、
前記心音振動に相当する信号成分にエンベロープ処理を行ったエンベロープ信号に対して周波数解析を行うステップと、
前記周波数解析の結果に対して統計結果の算出処理を行うステップと、
前記算出結果に基づいて、前記物標の心拍の周波数の時系列データを出力するステップと、
を含む。
【0008】
一実施形態に係るプログラムは、
電子機器に、
送信部から送信波を送信するステップと、
前記送信波の物標からの反射波を受信部において受信するステップと、
前記送信波及び前記受信波のビート信号をフーリエ変換した後の変換信号に基づいて、前記物標の距離、方向、及び速度を検出するステップと、
前記変換信号から前記物標の心拍に伴う心音振動に相当する信号成分を、複数の距離レンジを中心とする、複数の窓関数により抽出するステップと、
前記心音振動に相当する信号成分にエンベロープ処理を行ったエンベロープ信号に対して周波数解析を行うステップと、
前記周波数解析の結果に対して統計結果の算出処理を行うステップと、
前記算出結果に基づいて、前記物標の心拍の周波数の時系列データを出力するステップと、
を実行させる。
【図面の簡単な説明】
【0009】
一実施形態に係る電子機器の使用態様を説明する図である。
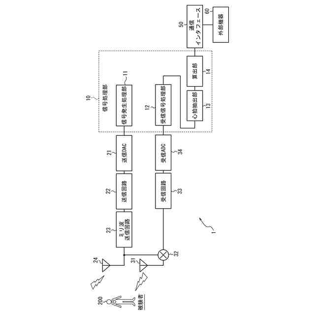
一実施形態に係る電子機器の構成を概略的に示す機能ブロック図である。
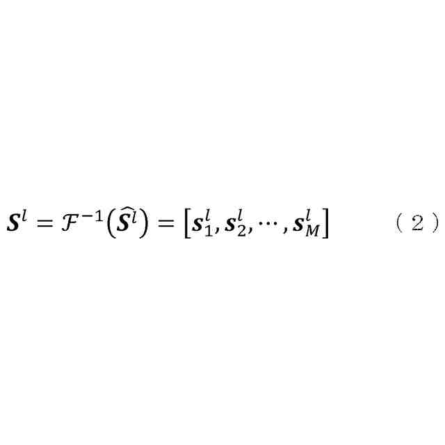
一実施形態に係る電子機器が処理する信号の構成を説明する図である。
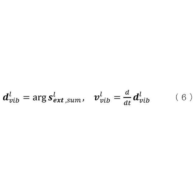
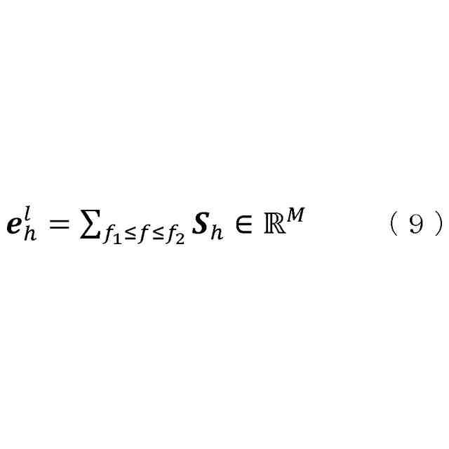
一実施形態に係る電子機器による信号の処理を説明する図である。
一実施形態に係る電子機器による信号の処理を説明する図である。
一実施形態に係る電子機器による信号の処理を説明する図である。
一実施形態に係る電子機器のアンテナアレイにおけるアンテナの配置の例及び動作原理を概略的に示す図である。
一実施形態に係る電子機器のアンテナアレイにおけるアンテナの配置の例を示す図である。
一実施形態に係る電子機器による信号の処理の例を示す図である。
一実施形態に係る電子機器による信号の処理の例を示す図である。
一実施形態に係る電子機器の動作の比較例を説明するフローチャートである。
一実施形態に係る電子機器の動作を説明するフローチャートである。
一実施形態に係る電子機器の動作を説明するフローチャートである。
一実施形態に係る電子機器によるマルチウインドウ処理を説明する図である。
一実施形態に係る電子機器による特異値分解における目的信号及びノイズ信号を表すそれぞれのランクの関係を示す図である。
一実施形態に係る電子機器による離散ウェーブレット変換による多重解像度解析を概念的に示す図である。
一実施形態に係る電子機器による、最良の心音の包絡線を分類識別する処理を概念的に説明する図である。
一実施形態に係る電子機器において、連続ウェーブレット変換により1次元化処理を施した結果を示す図である
一実施形態に係る電子機器によって心音の包絡線の周波数を分析するための時間窓の配置を示す図である。
一実施形態に係る電子機器による心音の包絡線のMUSICスペクトラムを示す図である。
一実施形態に係る電子機器による心拍の周波数ベクトルの選択について説明する図である。
一実施形態に係る電子機器によって得られる心音の時系列波形を示す図である。
一実施形態に係る電子機器によって得られる心音の時系列波形を示す図である。
一実施形態に係る電子機器によって得られる心拍数の時系列波形の例を示す図である。
一実施形態に係る電子機器のアンテナアレイにおけるアンテナの配置の例を示す図である。
【発明を実施するための形態】
【0010】
人体などの心拍のような微弱な振動を、例えばミリ波のような電波の送受信により検出することにより、その人体の心拍数を良好な制度で高ロバストに検出できれば、多種多様な分野において役立つことが期待できる。本開示の目的は、電波の送受信により、人体などの心拍数を良好な精度で高ロバストに検出し得る電子機器、電子機器の制御方法、及びプログラムを提供することにある。一実施形態によれば、電波の送受信により、人体などの心拍数を良好な精度で高ロバストに検出し得る電子機器、電子機器の制御方法、及びプログラムを提供することができる。以下、一実施形態について、図面を参照して詳細に説明する。
(【0011】以降は省略されています)
この特許をJ-PlatPat(特許庁公式サイト)で参照する
関連特許
京セラ株式会社
刃物
1か月前
京セラ株式会社
二次電池
21日前
京セラ株式会社
弾性波装置
5日前
京セラ株式会社
太陽電池モジュール
14日前
京セラ株式会社
発光装置および照明装置
2日前
京セラ株式会社
波長変換素子および発光装置
1か月前
京セラ株式会社
骨モデルおよび表示システム
29日前
京セラ株式会社
半導体装置及びその製造方法
21日前
京セラ株式会社
液体吐出ヘッドおよび記録装置
20日前
京セラ株式会社
電源制御装置及び電源制御方法
21日前
京セラ株式会社
電源制御装置及び電源制御方法
21日前
京セラ株式会社
電源制御装置及び電源制御方法
21日前
京セラ株式会社
電子機器及び電子機器の制御方法
1か月前
京セラ株式会社
弾性波装置、分波器及び通信装置
2か月前
京セラ株式会社
液滴吐出ヘッドおよび液滴吐出装置
26日前
京セラ株式会社
電子機器、制御方法、及びプログラム
2か月前
京セラ株式会社
電磁波抑制樹脂組成物及びその硬化物
1か月前
京セラ株式会社
電子機器、制御方法、及びプログラム
2か月前
京セラ株式会社
回路基板、半導体装置および実装構造体
2か月前
京セラ株式会社
配線基板およびそれを用いた実装構造体
1か月前
京セラ株式会社
電子部品搭載用基板及び電子モジュール
1か月前
京セラ株式会社
異常検知装置、プログラム及び異常検知方法
1か月前
京セラ株式会社
異常検知装置、プログラム及び異常検知方法
1か月前
京セラ株式会社
異常検知装置、プログラム及び異常検知方法
1か月前
京セラ株式会社
情報処理装置及び学習モデル用データ生成方法
21日前
京セラ株式会社
多層基板、フィルタモジュール、および通信装置
2日前
京セラ株式会社
情報処理方法、情報処理装置、及び情報処理システム
1か月前
京セラ株式会社
切削インサート、切削工具及び切削加工物の製造方法
20日前
京セラ株式会社
表示システム、表示制御装置及び表示制御プログラム
21日前
京セラ株式会社
表示システム、表示制御装置及び表示制御プログラム
21日前
国立研究開発法人産業技術総合研究所
光電子集積回路
29日前
京セラ株式会社
脈波検出装置、脈波検出システム、および脈波検出方法
1か月前
京セラ株式会社
膜付部材
1か月前
株式会社サーモグラフィティクス
伝熱部材および電子装置
1か月前
京セラ株式会社
疾患予測システム
20日前
京セラ株式会社
無線路側機、通信方法、通信システム、プログラム、及び車載通信機
1か月前
続きを見る
他の特許を見る