TOP
|
特許
|
意匠
|
商標
特許ウォッチ
Twitter
他の特許を見る
10個以上の画像は省略されています。
公開番号
2025147673
公報種別
公開特許公報(A)
公開日
2025-10-07
出願番号
2024048033
出願日
2024-03-25
発明の名称
パケット転送装置、パケット転送方法、及びパケット転送システム
出願人
株式会社国際電気
代理人
藤央弁理士法人
主分類
H04L
45/243 20220101AFI20250930BHJP(電気通信技術)
要約
【課題】信頼性を維持した通信を継続する。
【解決手段】対向するパケット転送装置の間に設けられた独立した複数の通信経路を経由してパケットを転送するパケット転送装置であって、パケットの順序及び同一情報を有するパケットを判定可能な識別子をパケットに付加する付加部と、パケットの宛先を判定する宛先判定部と、識別子が付加されたパケットを複製する複製部と、複製されたパケットを複数の通信経路にそれぞれ送信する冗長パケット送信部と、識別子を参照して同一情報を有するパケットを判定する重複判定部とを備え、宛先判定部は、受信パケットの宛先へのルート情報を持っているかを判定し、ユーザパケット送信部は、宛先へのルート情報を持っていると判定されたパケットを特定のネットワーク機器に転送し、冗長パケット送信部は、宛先へのルート情報を持っていないと判定されたパケットを通信可能な全てのパケット転送装置に転送する。
【選択図】図1
特許請求の範囲
【請求項1】
対向するパケット転送装置の間に設けられた独立した複数の通信経路を経由してパケットを転送するパケット転送装置であって、
他のネットワーク機器からのパケットを受信するユーザパケット受信部と、
他のネットワーク機器へのパケットを送信するユーザパケット送信部と、
パケットの順序及び同一情報を有するパケットを判定可能な識別子をパケットに付加する付加部と、
前記パケットの宛先を判定する宛先判定部と、
前記識別子が付加されたパケットを複製する複製部と、
前記複製されたパケットを前記複数の通信経路にそれぞれ送信する冗長パケット送信部と、
前記識別子を参照して同一情報を有するパケットを判定する重複判定部とを備え、
前記宛先判定部は、受信パケットの宛先へのルート情報を持っているかを判定し、
前記ユーザパケット送信部は、宛先へのルート情報を持っていると判定されたパケットを特定のネットワーク機器に転送し、
前記冗長パケット送信部は、宛先へのルート情報を持っていないと判定されたパケットを通信可能な全てのパケット転送装置に転送することを特徴とするパケット転送装置。
続きを表示(約 2,000 文字)
【請求項2】
請求項1に記載のパケット転送装置であって、
生存ホップ数を変更する生存ホップ数変更部と、
前記生存ホップ数を参照し、受信したパケットを破棄するかを判定する生存ホップ数判定部とを備え、
前記付加部は、パケットの順序、同一情報を有するパケットを判定可能な識別子、及び前記生存ホップ数をパケットに付加し、
前記生存ホップ数変更部は、他のパケット転送装置に転送するパケットの生存ホップ数を変更することを特徴とするパケット転送装置。
【請求項3】
請求項1に記載のパケット転送装置であって、
システム内のパケット転送装置の情報を保存する装置情報保存部を備えることを特徴とするパケット転送装置。
【請求項4】
請求項3に記載のパケット転送装置であって、
前記複製部は、前記装置情報保存部を参照して、前記パケット転送装置の宛先を前記複製されたパケットに設定することを特徴とするパケット転送装置。
【請求項5】
請求項3に記載のパケット転送装置であって、
前記装置情報保存部は、前記パケット転送装置に接続されるユーザネットワークの宛先を保存し、
前記付加部は、パケットの順序及び同一情報に加えて、受信したパケットの宛先と前記装置情報保存部を参照して宛先装置IDを識別子に付加し、
前記複製部は、前記装置情報保存部を参照して、前記パケット転送装置の宛先を前記複製されたパケットに設定し、
前記宛先判定部は、前記受信したパケットの宛先装置IDが自身の装置IDか否かを判定し、
前記ユーザパケット送信部は、前記受信したパケットの宛先装置IDが自身の装置IDと判定されたパケットを特定のネットワーク機器に転送することを特徴とするパケット転送装置。
【請求項6】
パケット転送装置がパケットを転送するパケット転送方法であって、
対向するパケット転送装置との間に独立した複数の通信経路が設けられており、
前記パケット転送方法は、
送信側のパケット転送装置が、パケットの順序及び同一情報を有するパケットを判定可能な識別子を付加し、
前記送信側のパケット転送装置が、前記パケットの宛先を判定し、
前記送信側のパケット転送装置が、前記識別子が付加されたパケットを複製し、
前記送信側のパケット転送装置が、前記複製されたパケットを前記複数の通信経路にそれぞれ送信し、
受信側のパケット転送装置が、前記パケットの宛先を判定し、前記識別子を参照して同一情報を有するパケットを判定するものであって、
前記宛先を判定する手順において、前記送信側のパケット転送装置が、受信したパケットの宛先へのルート情報を持っているかを判定し、
前記パケットを送信する手順において、前記送信側のパケット転送装置が、宛先へのルート情報を持っていると判定されたパケットを特定のネットワーク機器に転送し、宛先へのルート情報を持っていないと判定されたパケットを通信可能な全てのパケット転送装置に転送することを特徴とするパケット転送方法。
【請求項7】
パケットを転送するパケット転送システムであって、
パケットを送信する第1のパケット転送装置と、
前記第1のパケット転送装置からパケットを受信する第2のパケット転送装置とを備え、
前記第1のパケット転送装置と前記第2のパケット転送装置との間に独立した複数の通信経路が設けられており、
前記第1のパケット転送装置は、
パケットの順序及び同一情報を有するパケットを判定可能な識別子をパケットに付加する付加部と、
前記識別子が付加されたパケットを複製する複製部と、
前記複製されたパケットを前記複数の通信経路にそれぞれ送信する冗長パケット送信部と、
前記パケットの宛先を判定する宛先判定部とを有し、
前記第2のパケット転送装置は、
他のネットワーク機器へのパケットを送信するユーザパケット送信部と、
複製されたパケットを前記複数の通信経路にそれぞれ送信する冗長パケット送信部と、
前記識別子を参照して同一情報を有するパケットを判定する重複判定部とを有し、
前記宛先判定部は、受信したパケットの宛先へのルート情報を持っているかを判定し、
前記ユーザパケット送信部は、宛先へのルート情報を持っていると判定されたパケットを特定のネットワーク機器に転送し、
前記冗長パケット送信部は、宛先へのルート情報を持っていないと判定されたパケットを通信可能な全てのパケット転送装置に転送することを特徴とするパケット転送システム。
発明の詳細な説明
【技術分野】
【0001】
本発明は、パケット転送装置に関するものである。
続きを表示(約 1,600 文字)
【背景技術】
【0002】
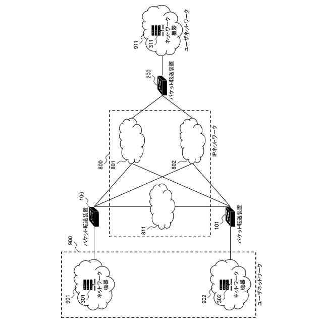
移動局と無線通信する際、建物や他の移動局等により電波が遮蔽されることで無線通信のエリア内であっても通信が途切れることがある。これを補う方法として複数の独立した通信経路のそれぞれに同一情報を有する複製された1以上のパケットを送信する方法がある。このような機能を有するパケット転送装置では、一つの通信経路に同一情報を有する複数のパケットを送信する方法と、複数の通信経路に同一情報を有する複数のパケットを送信する方法の二つを用いて、通信経路に障害が発生した場合やパケットロス率が高い場合でも通信を継続する。
【0003】
また、基地局と通信できない移動局が通信を継続する方法として、移動局同士の機器間通信を用いて移動局がパケットを中継する方法が提案されている(特許文献1)。
【0004】
特許文献1(特開2009-302688号公報)には、携帯基地局との接続状況を確認し、前記携帯基地局と接続状態であれば、前記携帯基地局と情報交換する携帯電話機能部と、前記携帯電話機能部により受信された情報及び生成された情報を蓄積する蓄積部と、前記携帯電話機能部から前記携帯基地局との接続状況を示す接続情報を取得し、前記携帯基地局と非接続状態であれば、制御信号を生成する通信制御部と、前記制御信号に応じて起動し、起動後、第1の携帯端末とのセッションを構築し、前記第1の携帯端末から受信した情報、及び生成した情報を前記蓄積部に蓄積し、第2の携帯端末とのセッションを構築した場合に前記蓄積部に蓄積した情報を送信し、前記第2の携帯端末から受信した情報を前記蓄積部に蓄積する蓄積型マルチホップ通信機能部とを具備する携帯端末が記載されている。
【0005】
また、特許文献2(特開2023-145059号公報)には、パケットを転送するパケット転送装置であって、対向するパケット転送装置との間に独立した複数の通信経路が設けられており、前記パケット転送装置は、パケットの順序及び同一情報を有するパケットを判定可能な識別子を付加する付加部と、前記識別子が付加されたパケットを複製する複製部と、前記複製されたパケットを前記複数の通信経路にそれぞれ送信するパケット送信部と、前記識別子を参照して同一情報を有するパケットを判定する重複判定部とを備え、前記複製部は、前記対向するパケット転送装置との間の通信環境に基づいて、前記対向するパケット転送装置との間で送信されるパケットの数を制御することを特徴とするパケット転送装置が記載されている。
【先行技術文献】
【特許文献】
【0006】
特開2009-302688号公報
特開2023-145059号公報
【発明の概要】
【発明が解決しようとする課題】
【0007】
前述した背景技術では、複数の通信経路のいずれかが正常であれば通信を継続できる。例えば、特許文献1に記載された技術では、基地局と通信が可能な移動局がパケットを受信し、このパケットを機器間通信網に送信することで基地局と通信出来ない移動局にパケットを転送できる。
【0008】
しかし、複数の無線通信のエリアを重畳した場合でも、エリア内の移動体により電波が遮蔽されて、全ての無線通信が途切れることがある。また、特許文献1では、基地局との切断を契機にパケット中継機能が起動するため、一時的に通信断が発生する。
【0009】
また、特許文献2に記載されたパケット転送装置は複製したパケットを転送するので、ネットワークに負荷がかかる。
【0010】
本発明は、無線基地局から通信不可能な移動局でも通信断を発生させずに、信頼性を維持した通信を継続でき、ネットワークへの負荷を低減する技術の提供を目的とする。
【課題を解決するための手段】
(【0011】以降は省略されています)
この特許をJ-PlatPat(特許庁公式サイト)で参照する
関連特許
株式会社国際電気
カメラシステム
7日前
株式会社国際電気
給油監視システム
18日前
株式会社国際電気
タスク管理システム
11日前
株式会社国際電気
放送システム及び放送方法
15日前
株式会社国際電気
映像システム、及び解析装置
7日前
株式会社国際電気
監視システム及びその制御方法
11日前
株式会社国際電気
物体検出装置、及び物体検出方法
11日前
株式会社国際電気通信基礎技術研究所
通信装置、受信方法、及びプログラム
15日前
株式会社国際電気
光波長選択制限装置、及び映像システム
7日前
株式会社国際電気通信基礎技術研究所
親局装置、端末装置、無線通信方法、及びプログラム
15日前
株式会社国際電気通信基礎技術研究所
基地局およびコンピュータに実行させるためのプログラム
11日前
株式会社国際電気
パケット転送装置、パケット転送方法、及びパケット転送システム
7日前
株式会社国際電気通信基礎技術研究所
通信システム、集約端末装置、サーバーおよびコンピュータに実行させるためのプログラム
12日前
株式会社国際電気通信基礎技術研究所
通信方式、通信システム、マスター基地局およびコンピュータに実行させるためのプログラム
11日前
株式会社国際電気通信基礎技術研究所
推定装置、それを備える無線通信システム、それを備える推定システムおよびコンピュータに実行させるためのプログラム
14日前
株式会社国際電気
情報処理装置、踏切内危険検知システム、放置物検知システム、列車側方監視システム、道路監視システム、及び情報処理方法
12日前
個人
店内配信予約システム
3か月前
キーコム株式会社
光伝送線路
今日
WHISMR合同会社
収音装置
1か月前
サクサ株式会社
中継装置
3か月前
サクサ株式会社
中継装置
6日前
サクサ株式会社
中継装置
5日前
キヤノン株式会社
撮像装置
1か月前
アイホン株式会社
電気機器
27日前
キヤノン株式会社
電子機器
2か月前
個人
ワイヤレスイヤホン対応耳掛け
25日前
キヤノン電子株式会社
画像読取装置
1か月前
キヤノン電子株式会社
モバイル装置
3か月前
サクサ株式会社
無線通信装置
5日前
株式会社リコー
画像形成装置
2か月前
サクサ株式会社
無線通信装置
5日前
株式会社リコー
画像形成装置
1か月前
サクサ株式会社
無線システム
4日前
株式会社リコー
画像形成装置
1か月前
日本精機株式会社
画像投映システム
3か月前
ブラザー工業株式会社
読取装置
2か月前
続きを見る
他の特許を見る