TOP
|
特許
|
意匠
|
商標
特許ウォッチ
Twitter
他の特許を見る
公開番号
2025149220
公報種別
公開特許公報(A)
公開日
2025-10-08
出願番号
2024049723
出願日
2024-03-26
発明の名称
箱状体、及び、電気接続箱
出願人
矢崎総業株式会社
代理人
弁理士法人栄光事務所
主分類
H02G
3/16 20060101AFI20251001BHJP(電力の発電,変換,配電)
要約
【課題】内部スペースを有効活用して小型化可能な箱状体を提供すること。
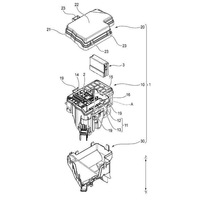
【解決手段】箱状体1は、筒状の周壁11を有するケース10と、ケース10の開口端を覆うように周壁11に取り付けられるカバー20と、を備える。ケース10は、周壁11の内部空間に収容されることになる電子部品3を嵌め込み可能な部品嵌込部15と、周壁11の開口端側の縁部に設けられ且つ縁部の一部が切り欠かれた凹形状を有する窪み部17と、を有する。カバー20は、ケース10に取り付けられたとき、窪み部17が外部に露出しないように窪み部17を覆う。ケース10の周壁11は、内側壁12及び外側壁13を含む多層壁構造を有し、窪み部17は、内側壁12に設けられる。
【選択図】図2
特許請求の範囲
【請求項1】
筒状の周壁を有するケースと、前記ケースの開口端を覆うように前記周壁に取り付けられるカバーと、を備える、箱状体であって、
前記ケースは、
前記周壁の内部空間に収容されることになる電子部品を嵌め込み可能な部品嵌込部と、前記周壁の前記開口端側の縁部に設けられ且つ前記縁部の一部が切り欠かれた凹形状を有する窪み部と、を有し、
前記カバーは、
前記ケースに当該カバーが取り付けられたとき、前記窪み部が外部に露出しないように前記窪み部を覆う、
箱状体。
続きを表示(約 380 文字)
【請求項2】
請求項1に記載の箱状体において、
前記ケースは、
前記周壁の厚さ方向から見たときに前記窪み部と向かい合うように前記部品嵌込部から延出する突起部を、有する、
箱状体。
【請求項3】
請求項1に記載の箱状体において、
前記ケースの前記周壁は、
内側壁及び外側壁を含む多層壁構造を有し、
前記窪み部は、
前記内側壁に設けられる、
箱状体。
【請求項4】
請求項1~請求項3の何れか一項に記載の箱状体と、前記ケースの前記部品嵌込部から前記部品嵌込部の外に引き出されるコネクタ付き電線と、を備える電気接続箱であって、
前記コネクタ付き電線は、
前記ケースの前記窪み部に配置されることにより、前記ケースに係止される、
電気接続箱。
発明の詳細な説明
【技術分野】
【0001】
本発明は、筒状の周壁を有するケースと、ケースの開口端を覆うように周壁に取り付けられるカバーと、を備える箱状体、及び、電気接続箱に関する。
続きを表示(約 2,000 文字)
【背景技術】
【0002】
従来から、車両に搭載される電気接続箱(例えば、リレーボックス)等のように、複数の部材を互いに組み付けて構成される箱状体が提案されている。例えば、従来の電気接続箱の一つは、電子部品などを嵌め込む部品嵌込部を有する本体ケースと、本体ケースに組み付けられるカバーと、を有している(例えば、特許文献1を参照。)。
【先行技術文献】
【特許文献】
【0003】
特開2020-182314号公報
【発明の概要】
【発明が解決しようとする課題】
【0004】
ところで、電気接続箱が搭載される車両の仕様等に起因し、電気接続箱の製造段階では敢えて本体ケースの一部の部品嵌込部には電子部品を収容せず、一部の部品嵌込部をブランク箇所にする場合がある。このブランク箇所には、例えば、電気接続箱を車両に搭載する段階又はその準備段階で、車両の仕様に対応した電子部品(例えば、負荷駆動用の半導体パワーインテグレーション。いわゆるP/I)を、後付けで収容する。この場合、後付けされる電子部品に接続されることになるコネクタ付き電線は、通常、その電子部品の収容の前段階(即ち、電気接続箱の製造段階)で、あらかじめ電気接続箱に設けておくことになる。一例として、電気接続箱に専用のコネクタ仮係止部を設け、電気接続箱の製造段階で、このコネクタ仮係止部に後付け用のコネクタ付き電線を一時的に係止させておくことになる。しかし、このようにコネクタ付き電線を電気接続箱に仮係止する場合、専用のコネクタ仮係止部を本体ケースに設ける分だけ、本来の電子部品の収容に用い得る本体ケースの内部スペースが小さくなる、又は、本体ケースが大型化することになる。電気接続箱の内部スペースを有効活用する観点でも、電気接続箱の小型化の観点でも、後付け用のコネクタ付き電線を電気接続箱へ仮保持するための構造について、改善の余地がある。なお、上記説明から理解されるように、電気接続箱に限らず、電子部品を内蔵する箱状体において、同様の改善の余地がある。
【0005】
本発明の目的の一つは、内部スペースを有効活用して小型化可能な箱状体及び電気接続箱の提供である。
【課題を解決するための手段】
【0006】
前述した目的を達成するために、本発明に係る箱状体及び電気接続箱は、以下を特徴としている。
【0007】
筒状の周壁を有するケースと、前記ケースの開口端を覆うように前記周壁に取り付けられるカバーと、を備える、箱状体であって、
前記ケースは、
前記周壁の内部空間に収容されることになる電子部品を嵌め込み可能な部品嵌込部と、前記周壁の前記開口端側の縁部に設けられ且つ前記縁部の一部が切り欠かれた凹形状を有する窪み部と、を有し、
前記カバーは、
前記ケースに当該カバーが取り付けられたとき、前記窪み部が外部に露出しないように前記窪み部を覆う、
箱状体であること。
【0008】
上述した箱状体と、前記ケースの前記部品嵌込部から前記部品嵌込部の外に引き出されるコネクタ付き電線と、を備える電気接続箱であって、
前記コネクタ付き電線は、
前記ケースの前記窪み部と前記突起部とに挟まれることにより、前記ケースに係止される、
電気接続箱であること。
【発明の効果】
【0009】
本発明の箱状体及び電気接続箱によれば、ケースには、電子部品を嵌め込み可能な部品嵌込部と、ケースの周壁の開口端側の縁部に設けられ且つ縁部の一部が切り欠かれた凹形状を有する窪み部と、が設けられる。よって、例えば、後付け用のコネクタ付き電線の電線部分を、ケースの窪み部に圧入することで、コネクタ付き電線を箱状体に仮保持することができる。このような窪み部による保持構造は、箱状体の周壁を利用している分、従来の専用のコネクタ仮係止部よりも専有スペースが小さい。更に、箱状体の周壁に窪み部を設けても、カバーをケースに取り付けることで、窪み部はカバーに覆われて外部に露出しない。よって、防水等の周壁の本来の機能を損なうこともない。更に、コネクタ付き電線のコネクタ部分を周壁の外側に出すことで、箱状体の周壁の内側を撮影した画像を用いて箱状体や電気接続箱の品質検査を行う際、後付け用のコネクタ付き電線が品質検査の妨げになりにくい。したがって、本発明の箱状体及び電気接続箱は、内部スペースを有効活用することで、小型化が可能である。
【0010】
以上、本発明について簡潔に説明した。更に、以下に説明される発明を実施するための形態を添付の図面を参照して通読することにより、本発明の詳細は更に明確化されるであろう。
【図面の簡単な説明】
(【0011】以降は省略されています)
この特許をJ-PlatPat(特許庁公式サイト)で参照する
関連特許
矢崎総業株式会社
端子
1か月前
矢崎総業株式会社
端子
1か月前
矢崎総業株式会社
バスバ
2か月前
矢崎総業株式会社
箱状体
3日前
矢崎総業株式会社
箱状体
3日前
矢崎総業株式会社
雌端子
1か月前
矢崎総業株式会社
箱状体
1か月前
矢崎総業株式会社
箱状体
1か月前
矢崎総業株式会社
照明灯
1か月前
矢崎総業株式会社
コネクタ
1日前
矢崎総業株式会社
コネクタ
1か月前
矢崎総業株式会社
コネクタ
1か月前
矢崎総業株式会社
コネクタ
10日前
矢崎総業株式会社
コネクタ
10日前
矢崎総業株式会社
コネクタ
1か月前
矢崎総業株式会社
コネクタ
12日前
矢崎総業株式会社
コネクタ
2日前
矢崎総業株式会社
コネクタ
1か月前
矢崎総業株式会社
コネクタ
1か月前
矢崎総業株式会社
コネクタ
1か月前
矢崎総業株式会社
コネクタ
1か月前
矢崎総業株式会社
コネクタ
24日前
矢崎総業株式会社
コネクタ
24日前
矢崎総業株式会社
コネクタ
15日前
矢崎総業株式会社
コネクタ
1か月前
矢崎総業株式会社
コネクタ
1か月前
矢崎総業株式会社
止水部材
8日前
矢崎総業株式会社
コネクタ
1か月前
矢崎総業株式会社
コネクタ
1か月前
矢崎総業株式会社
照明装置
1か月前
矢崎総業株式会社
配索構造
1か月前
矢崎総業株式会社
コネクタ
3日前
矢崎総業株式会社
コネクタ
3日前
矢崎総業株式会社
コネクタ
4日前
矢崎総業株式会社
コネクタ
4日前
矢崎総業株式会社
コネクタ
22日前
続きを見る
他の特許を見る