TOP
|
特許
|
意匠
|
商標
特許ウォッチ
Twitter
他の特許を見る
公開番号
2025151374
公報種別
公開特許公報(A)
公開日
2025-10-09
出願番号
2024052768
出願日
2024-03-28
発明の名称
耐炎化繊維束および炭素繊維束の製造方法
出願人
東レ株式会社
代理人
主分類
D01F
9/22 20060101AFI20251002BHJP(天然または人造の糸または繊維;紡績)
要約
【課題】炉外に折り返しローラーを持つ耐炎化炉のシール性の低下、エネルギー効率の低下の問題および、加熱気体吹き出しによる作業環境低下の問題のいずれも解決した、耐炎化炉およびその耐炎化炉を使用した耐炎化繊維束の製造方法ならびに炭素繊維束の製造方法を提供する。
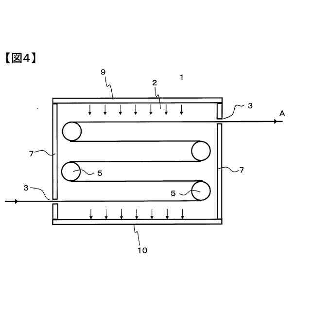
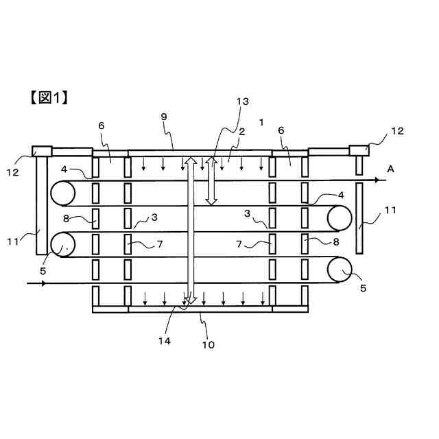
【解決手段】ポリアクリロニトリル系繊維束を水平方向に複数本平行に走行させ、一定温度の熱風が供給される耐炎化処理室とその熱風を循環する循環部を有し、耐炎化処理室の両端に前記ポリアクリロニトリル系繊維束を出入りさせる複数のスリットおよび折り返しローラーが設置されており、前記折り返しローラーの外側で耐炎化処理上部に囲い部を設けてなる耐炎化炉を用いて、耐炎化処理室を複数回通過せしめて耐炎化処理して耐炎化繊維束を得る耐炎化繊維束の製造方法。
【選択図】図1
特許請求の範囲
【請求項1】
ポリアクリロニトリル系繊維束を水平方向に複数本平行に走行させ、一定温度の熱風が供給される耐炎化処理室とその熱風を循環する循環部を有し、耐炎化処理室の両端に前記ポリアクリロニトリル系繊維束を出入りさせる複数のスリットおよび折り返しローラーが設置されており、前記折り返しローラーの外側で耐炎化処理上部に設けられた耐炎化処理上部囲い部を設けてなる耐炎化炉を用いて、耐炎化処理室を複数回通過せしめて耐炎化処理して耐炎化繊維束を得る耐炎化繊維束の製造方法。
続きを表示(約 380 文字)
【請求項2】
折り返しローラーの表面温度が60~200℃であることを特徴とする請求項1に記載の耐炎化繊維束の製造方法。
【請求項3】
耐炎化処理上部囲い部が開閉可能なカーテン構造を有するシート状の耐熱構造物からなり、その耐熱構造物の耐熱温度が300℃以上であることを特徴とする請求項1に記載の耐炎化繊維束の製造方法。
【請求項4】
請求項1記載の耐炎化の循環熱風が耐炎化炉の上方から下方に向けて、耐炎化処理室内を走行するポリアクリロニトリル系繊維束に供給されることを特徴とする請求項1に記載の耐炎化繊維束の製造方法。
【請求項5】
請求項1~4のいずれかに記載の方法で得られた耐炎化繊維束を300~1000℃で予備炭化した後、1000~2500℃で炭化することを特徴とする炭素繊維束の製造方法。
発明の詳細な説明
【技術分野】
【0001】
本発明は、耐炎化繊維束を製造するための耐炎化炉、およびそれを用いた耐炎化繊維束ならびに炭素繊維束の製造方法に関する。
続きを表示(約 1,900 文字)
【背景技術】
【0002】
一般にポリアクリロニトリル系繊維を原料とする炭素繊維束の製造方法は、ポリアクリロニトリル系重合体の単繊維を1000~80000本束ねたポリアクリロニトリル系繊維束を、200~300℃の温度で耐炎化処理して耐炎化繊維束を得て、次いで300~2000℃の温度で耐炎化繊維束を炭素化して得られる。
【0003】
炭素繊維束の原料であるポリアクリロニトリル系繊維束の耐炎化処理方法は、200~300℃の酸化性気体が循環する耐炎化処理室の入口と出口の両側面に複数のガイドローラーを配し、ポリアクリロニトリル系繊維束を折り返しローラーで折り返しながら複数回加熱給気される耐炎化処理室内を走行させて処理するのが一般的である。
【0004】
炉外に折り返しローラーを持つタイプの耐炎化炉では、糸切れが生じ、繊維束の一部が折り返しローラーに巻き付くトラブルが生じたとしても、駆動を止めることなく容易に処理を行うことができるという利点を有する。
【0005】
しかしながら、耐炎化処理室の両側面に繊維束の出入のための複数の開口部を有することになるため、開口部から炉内の加熱気体の耐炎化炉外への漏れ出しおよび外気の耐炎化炉内への漏れ込みが起こる。特にこの漏れ出しおよび漏れ込みは炉内の上下方向の圧力差が大きくなる大型の耐炎化炉で顕著である。漏れ出しおよび漏れ込みは耐炎化処理室内の温度バラツキを引き起こし、製品の品質を低下させる。また低温である外気が炉内に流入することで、耐炎化処理室内の加熱気体の温度も下がるため、循環加熱気体を加温するためのヒーターの消費電力を増やし、エネルギー効率の低下を引き起こす。さらに、ポリアクリロニトリル系繊維束の耐炎化処理では、シアン等の分解ガスが耐炎化炉の内部で発生するため、作業環境的にも炉内の気体を雰囲気へ漏れ出させず、別途燃焼処理を行ってから外部に排出する対策を取ることが不可欠である。
【0006】
そこで上記問題を解決すべく、耐炎化処理室の両側面の開口部の外側にシール室を設けることが不可欠であり、これによりスペースが余分に必要となる。シール室内に気体を循環させる方法、シール室を多段にする方法など、シール室のシール性を増すための技術が多数考案されているが、耐炎化炉の両側面に開口部が複数存在する以上、外気流入および炉内ガスの漏れ出しを完全に防ぐことは極めて困難である。
【0007】
特許文献1、2、3のように炉内にローラーを持つタイプの耐炎化炉では、上記のような外気の流入や炉内ガスの漏れ出しが皆無であるため、エネルギー効率も高いこと、環境配慮的な問題がないこと、シール室が不要となるため省スペースとなることという利点を有するが、糸切れ等のトラブルが発生した際はその処理が困難となるという欠点を有する。
【先行技術文献】
【特許文献】
【0008】
特開2012-153987号公報
特開2018-111891号公報
特開2008-138325号公報
【発明の概要】
【発明が解決しようとする課題】
【0009】
本発明の目的は、上記従来技術の問題点を解決しようとするものであり、ポリアクリロニトリル系繊維束を耐炎化する耐炎化炉、および耐炎化繊維束の製造方法ならびに炭素繊維束の製造方法において、耐炎化炉外に折り返しローラーを持つ耐炎化炉のシール性の低下、エネルギー効率の低下の問題および、加熱気体吹き出しによる作業環境低下の問題のいずれも解決できる、耐炎化炉およびその耐炎化炉を使用した耐炎化繊維束の製造方法ならびに炭素繊維束の製造方法を提供することにある。
【課題を解決するための手段】
【0010】
上記目的を達成するため、本発明の耐炎化繊維束の製造方法は、次の構成を有する。すなわち、ポリアクリロニトリル系繊維束を水平方向に複数本平行に走行させ、一定温度の熱風が供給される耐炎化処理室とその熱風を循環する循環部を有し、耐炎化処理室の両端に前記ポリアクリロニトリル系繊維束を出入りさせる複数のスリットおよび折り返しローラーが設置されており、前記折り返しローラーの外側で耐炎化処理上部に設けられた耐炎化処理上部囲い部を設けてなる耐炎化炉を用いて、耐炎化処理室を複数回通過せしめて耐炎化処理して耐炎化繊維束を得る耐炎化繊維束の製造方法である。
(【0011】以降は省略されています)
この特許をJ-PlatPat(特許庁公式サイト)で参照する
関連特許
東レ株式会社
浄水器
22日前
東レ株式会社
防護服
4日前
東レ株式会社
複合半透膜
1か月前
東レ株式会社
積層多孔質膜
2か月前
東レ株式会社
積層フィルム
3日前
東レ株式会社
積層フィルム
1か月前
東レ株式会社
風車ブレード
1か月前
東レ株式会社
光透過性表皮材
3日前
東レ株式会社
加飾用フィルム
8日前
東レ株式会社
黒色樹脂組成物
8日前
東レ株式会社
多孔質炭素シート
1か月前
東レ株式会社
多層積層フィルム
24日前
東レ株式会社
不織布の製造装置
2日前
東レ株式会社
テーパ付き円筒部材
3日前
東レ株式会社
太陽電池モジュール
3日前
東レ株式会社
サンドイッチ構造体
1か月前
東レ株式会社
熱硬化性樹脂組成物
1か月前
東レ株式会社
遮熱性アクリル繊維
9日前
東レ株式会社
溶融紡糸口金パック
9日前
東レ株式会社
繊維断面の検査方法
9日前
東レ株式会社
中空糸膜モジュール
8日前
東レ株式会社
ポリエステルフィルム
16日前
東レ株式会社
複合成形体の製造方法
22日前
東レ株式会社
ガス拡散層の製造方法
1か月前
東レ株式会社
引抜成形品の製造方法
1か月前
東レ株式会社
プラスチック光ファイバ
1か月前
東レ株式会社
織物およびシート表皮材
1か月前
東レ株式会社
ポリプロピレンフィルム
8日前
東レ株式会社
霧化状活性液体供給装置
1か月前
東レ株式会社
炭素繊維シートの製造方法
1か月前
東レ株式会社
織物および織物プリプレグ
1か月前
東レ株式会社
ゴム補強用合成繊維コード
16日前
東レ株式会社
透明ディスプレイシステム
1か月前
東レ株式会社
ゴム補強用合成繊維コード
16日前
東レ株式会社
繊維強化プラスチック構造体
1か月前
東レ株式会社
糸送り装置および糸送り方法
4日前
続きを見る
他の特許を見る