TOP
|
特許
|
意匠
|
商標
特許ウォッチ
Twitter
他の特許を見る
10個以上の画像は省略されています。
公開番号
2025157430
公報種別
公開特許公報(A)
公開日
2025-10-15
出願番号
2025120735,2024503270
出願日
2025-07-17,2023-02-24
発明の名称
通信方法、制御端末、ネットワークノード、チップセット、プログラム、及びシステム
出願人
京セラ株式会社
代理人
弁理士法人キュリーズ
主分類
H04W
16/26 20090101AFI20251007BHJP(電気通信技術)
要約
【課題】中継装置を用いて基地局の効率的なカバレッジ拡張を行う通信方法、制御端末、ネットワーク、ノードチップセット、プログラム及びシステムを提供する。
【解決手段】移動通信システムにおいて、基地局200とユーザ装置との間で電波の中継を行う中継装置を制御する制御端末100Bで実行する通信方法は、前記制御端末と無線で接続する前記基地局から、前記中継装置の動作状態を指定する制御信号をレイヤ1又はレイヤ2のシグナリングとして受信するステップと、前記制御信号で指定された前記動作状態を適用するように前記中継装置を制御するステップと、を有する。前記受信するステップは、前記制御信号で指定された前記動作状態を適用する時間区間よりも前の時間区間で前記制御信号を受信するステップを含む。
【選択図】図15
特許請求の範囲
【請求項1】
ネットワークノードとユーザ装置との間で電波の中継を行う中継装置を制御する制御端末で実行する通信方法であって、
前記制御端末と無線で接続する前記ネットワークノードから、前記中継装置の2つ以上の動作状態を1つの識別子と対応付ける対応付け情報を、レイヤ2のシグナリングよりも上位のレイヤの上位レイヤシグナリングにより受信することと、
前記ネットワークノードから、前記1つの識別子を含む制御信号を前記レイヤ2のシグナリングとして受信することと、を有し、
前記2つ以上の動作状態のうちの1つの動作状態は、前記中継装置のビーム状態である
通信方法。
続きを表示(約 1,400 文字)
【請求項2】
ネットワークノードとユーザ装置との間で電波の中継を行う中継装置を制御する制御端末であって、
前記制御端末と無線で接続する前記ネットワークノードから、前記中継装置の2つ以上の動作状態を1つの識別子と対応付ける対応付け情報を、レイヤ2のシグナリングよりも上位のレイヤの上位レイヤシグナリングにより受信し、
前記ネットワークノードから、前記1つの識別子を含む制御信号を前記レイヤ2のシグナリングにより受信する受信部と、を備え、
前記2つ以上の動作状態のうちの1つの動作状態は、前記中継装置のビーム状態である
制御端末。
【請求項3】
ネットワークノードとユーザ装置との間で電波の中継を行う中継装置を制御する制御端末と無線で接続する前記ネットワークノードであって、
前記中継装置の2つ以上の動作状態を1つの識別子と対応付ける対応付け情報を、レイヤ2のシグナリングよりも上位のレイヤの上位レイヤシグナリングにより送信し、
前記1つの識別子を含む制御信号を前記レイヤ2のシグナリングとして送信する送信部を備え、
前記2つ以上の動作状態のうちの1つの動作状態は、前記中継装置のビーム状態である
ネットワークノード。
【請求項4】
ネットワークノードとユーザ装置との間で電波の中継を行う中継装置を制御する制御端末のためのチップセットであって、
前記制御端末と無線で接続する前記ネットワークノードから、前記中継装置の2つ以上の動作状態を1つの識別子と対応付ける対応付け情報を、レイヤ2のシグナリングよりも上位のレイヤの上位レイヤシグナリングにより受信する処理と、
前記ネットワークノードから、前記1つの識別子を含む制御信号を前記レイヤ2のシグナリングにより受信する処理と、を実行し、
前記2つ以上の動作状態のうちの1つの動作状態は、前記中継装置のビーム状態である
チップセット。
【請求項5】
ネットワークノードとユーザ装置との間で電波の中継を行う中継装置を制御する制御端末に、
前記制御端末と無線で接続する前記ネットワークノードから、前記中継装置の2つ以上の動作状態を1つの識別子と対応付ける対応付け情報を、レイヤ2のシグナリングよりも上位のレイヤの上位レイヤシグナリングにより受信する処理と、
前記ネットワークノードから、前記1つの識別子を含む制御信号を前記レイヤ2のシグナリングにより受信する処理と、
を実行させ、
前記2つ以上の動作状態のうちの1つの動作状態は、前記中継装置のビーム状態である
プログラム。
【請求項6】
ネットワークノードとユーザ装置との間で電波の中継を行う中継装置を制御する制御端末を備えるシステムであって、
前記制御端末は、
前記制御端末と無線で接続する前記ネットワークノードから、前記中継装置の2つ以上の動作状態を1つの識別子と対応付ける対応付け情報を、レイヤ2のシグナリングよりも上位のレイヤの上位レイヤシグナリングにより受信し、
前記ネットワークノードから、前記1つの識別子を含む制御信号を前記レイヤ2のシグナリングとして受信し、
前記2つ以上の動作状態のうちの1つの動作状態は、前記中継装置のビーム状態である
システム。
発明の詳細な説明
【技術分野】
【0001】
本開示は、移動通信システムで用いる通信方法、制御端末、ネットワークノード、チップセット、プログラム、及びシステムに関する。
続きを表示(約 2,400 文字)
【背景技術】
【0002】
近年、第5世代(5G)の移動通信システムが注目されている。5Gシステムの無線アクセス技術であるNR(New Radio)は、第4世代の無線アクセス技術であるLTE(Long Term Evolution)に比べて、高周波数帯による広帯域伝送が可能である。
【0003】
ミリ波帯又はテラヘルツ波帯といった高周波数帯の電波は、高い直進性を有するため、基地局のカバレッジの縮小が課題となる。このような課題を解決するために、基地局とユーザ装置との間で電波を中継する中継装置の一種であって、ネットワークから制御可能なリピータ装置が注目されている(例えば、非特許文献1参照)。このようなリピータ装置は、例えば、基地局から受信する電波を増幅するとともに指向性送信により送信することで、干渉の発生を抑制しつつ基地局のカバレッジを拡張できる。
【先行技術文献】
【非特許文献】
【0004】
3GPP寄書:RP-213700、“New SI: Study on NR Network-controlled Repeaters”
【発明の概要】
【0005】
第1の態様に係る通信方法は、基地局とユーザ装置との間で電波の中継を行う中継装置を制御する制御端末で実行する方法である。前記通信方法は、前記制御端末と無線で接続する前記基地局から、前記中継装置の動作状態を指定する制御信号をレイヤ1又はレイヤ2のシグナリングとして受信するステップと、前記制御信号で指定された前記動作状態を適用するように前記中継装置を制御するステップと、を有する。前記受信するステップは、前記制御信号で指定された前記動作状態を適用する時間区間よりも前の時間区間で前記制御信号を受信するステップを含む。
【0006】
第2の態様に係る制御端末は、基地局とユーザ装置との間で電波の中継を行う中継装置を制御する装置である。前記制御端末は、前記制御端末と無線で接続する前記基地局から、前記中継装置の動作状態を指定する制御信号をレイヤ1又はレイヤ2のシグナリングにより受信する受信部と、前記制御信号で指定された前記動作状態を適用するように前記中継装置を制御する制御部と、を有する。前記受信部は、前記制御信号で指定された前記動作状態を適用する時間区間よりも前の時間区間で前記制御信号を受信する。
【0007】
第3の態様に係る基地局は、基地局とユーザ装置との間で電波の中継を行う中継装置を制御する制御端末と無線で接続する前記基地局である。前記基地局は、前記中継装置の動作状態を指定する制御信号をレイヤ1又はレイヤ2のシグナリングとして送信する送信部を備える。前記送信部は、前記制御信号で指定された前記動作状態を適用する時間区間よりも前の時間区間で前記制御信号を送信する。
【図面の簡単な説明】
【0008】
実施形態に係る移動通信システムの構成を示す図である。
データを取り扱うユーザプレーンの無線インターフェイスのプロトコルスタックの構成を示す図である。
シグナリング(制御信号)を取り扱う制御プレーンの無線インターフェイスのプロトコルスタックの構成を示す図である。
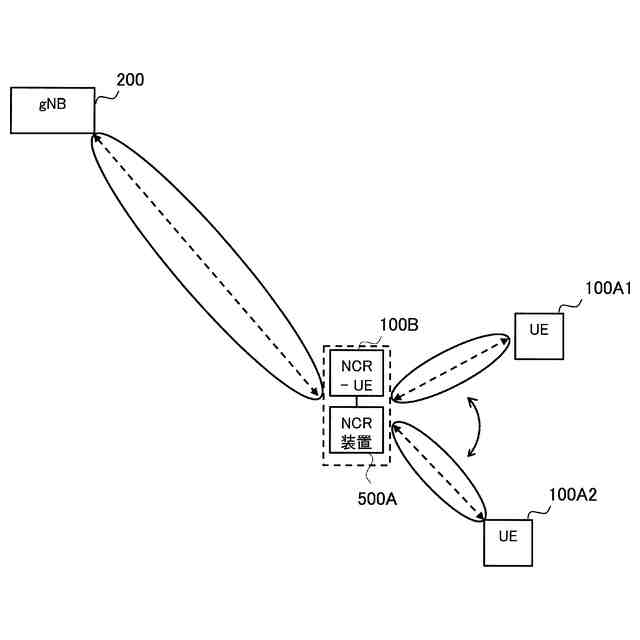
実施形態に係るNCR装置(中継装置)の適用シナリオを示す図である。
実施形態に係るNCR装置の適用シナリオを示す図である。
実施形態に係るNCR装置及びNCR-UE(制御端末)を有する移動通信システムにおけるプロトコルスタックの構成例を示す図である。
実施形態に係るNCR-UE及びNCR装置の構成例を示す図である。
実施形態に係るgNB(基地局)の構成例を示す図である。
実施形態に係るgNBからNCR-UEへの下りリンクシグナリングの一例を示す図である。
実施形態に係るNCR制御信号の一例を示す図である。
実施形態に係るNCR-UEからgNBへの上りリンクシグナリングの一例を示す図である。
実施形態に係るNCR能力情報の一例を示す図である。
実施形態に係る移動通信システムの動作の一例を示す図である。
実施形態に係るNCR制御信号タイミング及びNCR制御適用タイミングの一例を示す図である。
実施形態に係るNCR制御信号タイミング及びNCR制御適用タイミングに関する動作例を示す図である。
実施形態に係る制御IDに関する動作例を示す図である。
実施形態に係る制御IDに関する動作例を示す図である。
実施形態に係るRNTIに関する動作例を示す図である。
実施形態の変更例に係るRIS装置(中継装置)の適用シナリオを示す図である。
実施形態の変更例に係るRIS装置の適用シナリオを示す図である。
実施形態の変更例に係るRIS装置の適用シナリオを示す図である。
実施形態に係るRIS-UE(制御端末)及びRIS装置の構成を示す図である。
実施形態の変更例に係る動作を示す図である。
実施形態の変更例に係るRIS制御信号の一例を示す図である。
【発明を実施するための形態】
【0009】
リピータ装置等の中継装置をネットワークから制御する場合において、具体的にどのようにして中継装置を制御するかについての制御技術は未だ確立しておらず、中継装置を用いて効率的なカバレッジ拡張を行うことは現状では難しい。
【0010】
そこで、本開示は、基地局とユーザ装置との間で電波を中継する中継装置を適切に制御することを目的とする。
(【0011】以降は省略されています)
この特許をJ-PlatPat(特許庁公式サイト)で参照する
関連特許
京セラ株式会社
刃物
1か月前
京セラ株式会社
蓄電装置
11日前
京セラ株式会社
二次電池
1か月前
京セラ株式会社
弾性波装置
24日前
京セラ株式会社
粒子分離装置
11日前
京セラ株式会社
センサシステム
17日前
京セラ株式会社
静圧気体軸受装置
10日前
京セラ株式会社
太陽電池モジュール
1か月前
京セラ株式会社
配線基板及び電子装置
17日前
京セラ株式会社
走査装置及び制御装置
10日前
京セラ株式会社
配線基板及び電子装置
17日前
京セラ株式会社
走査装置及び制御装置
10日前
京セラ株式会社
コネクタ及び取付方法
12日前
京セラ株式会社
流路デバイスの準備方法
12日前
京セラ株式会社
太陽電池付きカーポート
10日前
京セラ株式会社
太陽電池付きカーポート
10日前
京セラ株式会社
発光装置および照明装置
21日前
京セラ株式会社
受電装置及び光給電システム
12日前
京セラ株式会社
半導体装置及びその製造方法
1か月前
京セラ株式会社
取付部材及びヘッド取付方法
18日前
京セラ株式会社
骨モデルおよび表示システム
1か月前
京セラ株式会社
電源制御装置及び電源制御方法
1か月前
京セラ株式会社
電源制御装置及び電源制御方法
1か月前
京セラ株式会社
液体吐出ヘッドおよび記録装置
1か月前
京セラ株式会社
電源制御装置及び電源制御方法
1か月前
京セラ株式会社
フィルタデバイスおよび通信装置
17日前
京セラ株式会社
光センサおよび光センサの製造方法
6日前
京セラ株式会社
液滴吐出ヘッドおよび液滴吐出装置
1か月前
京セラ株式会社
電子部品搭載用基板及び電子モジュール
1か月前
京セラ株式会社
揺動装置、電磁波照射装置、及び制御装置
10日前
京セラ株式会社
光通信装置、光通信システム及び光照射素子
13日前
京セラ株式会社
異常検知装置、プログラム及び異常検知方法
2か月前
京セラ株式会社
ホルダ、切削工具、及び切削加工物の製造方法
11日前
京セラ株式会社
情報処理装置及び学習モデル用データ生成方法
1か月前
京セラ株式会社
ノード、方法、プログラム及び分散台帳システム
12日前
京セラ株式会社
多層基板、フィルタモジュール、および通信装置
21日前
続きを見る
他の特許を見る