TOP
|
特許
|
意匠
|
商標
特許ウォッチ
Twitter
他の特許を見る
公開番号
2025164087
公報種別
公開特許公報(A)
公開日
2025-10-30
出願番号
2024067850
出願日
2024-04-18
発明の名称
手摺り装置
出願人
株式会社 シコク
代理人
個人
主分類
E04F
11/18 20060101AFI20251023BHJP(建築物)
要約
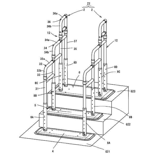
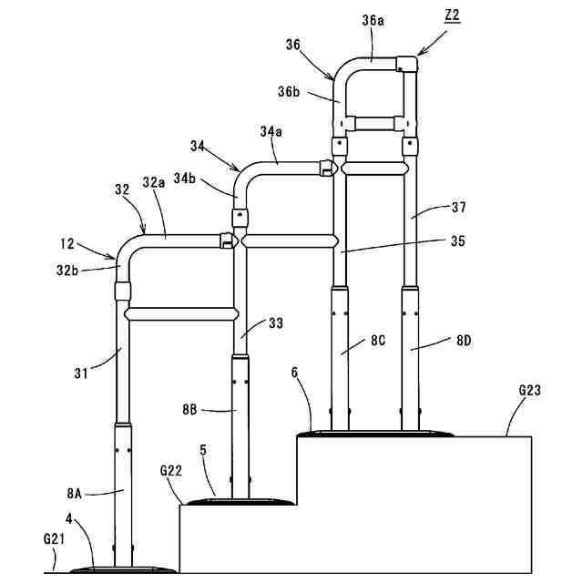
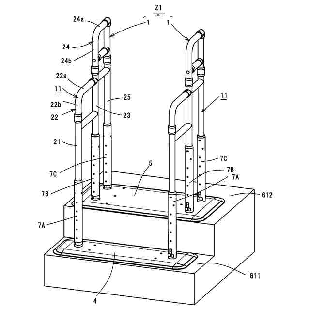
【課題】手摺り部分の把持性を高めて、安全な歩行支援を実現する手摺り装置を提供する。
【解決手段】段差部の低位面側と高位面側に跨って設置される手摺り装置において、段差面のそれぞれに対応するように高さの異なる複数の手摺りを設けるとともに、該複数の手摺のうち、少なくともいずれか一つの手摺りを略水平方向に延出する形体とした。係る構成によれば、手摺り装置に沿って段差部を上がる場合も、降りる場合も、その略水平方向に延出する手摺り部分においては、手に滑りを生じることなく的確に該手摺りを把持して姿勢を保持し段差方向に安全に移動することができるとともに、該手摺りを的確に把持し得ることで該手摺り部分に体重をかけて横方向へのふらつきを防止することもでき、これらの相乗効果によって、より安全性の高い段差部の移動が担保される。
【選択図】図1
特許請求の範囲
【請求項1】
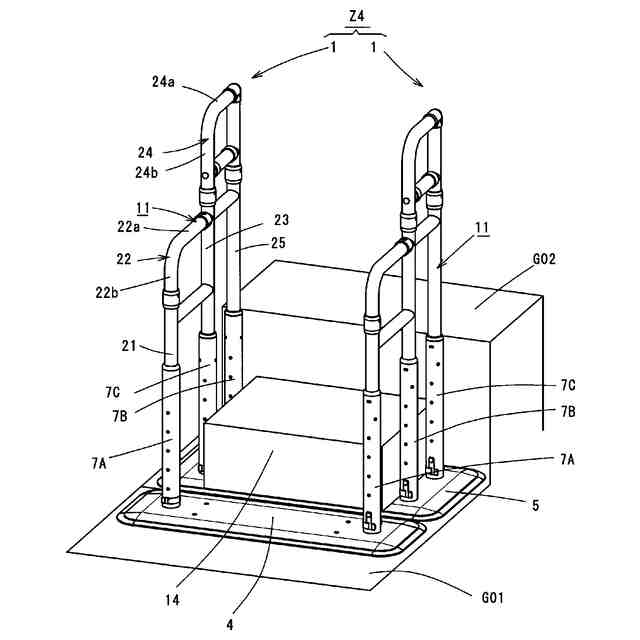
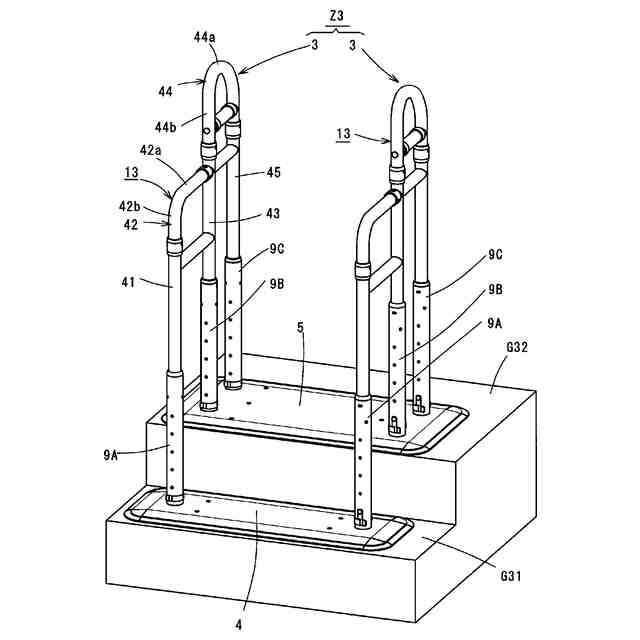
段差部の低位面側と高位面側に跨って設置される左右一対の手摺りユニットで構成される手摺り装置であって、
上記各手摺りユニットは段差面のそれぞれに対応するように高さの異なる複数の手摺り部が設けられるとともに、該複数の手摺り部のうち、少なくともいずれか一つの手摺り部が略水平方向に延出する形体であることを特徴とする手摺り装置。
続きを表示(約 380 文字)
【請求項2】
請求項1において、
上記各手摺りユニットは、段差部の各段にそれぞれ配置した複数のベース体にそれぞれ立設された複数の支柱に対して高さ調整可能に取り付けられていることを特徴とする手摺り装置。
【請求項3】
請求項1において、
上記手摺りユニットは、同一面上に設置された複数のベース体にそれぞれ立設された複数の支柱に対して、高さ調整可能に取り付けられていることを特徴とする手摺り装置。
【請求項4】
請求項1,2又は3において、
上記左右一対の手摺りユニットのうち、一方の手摺りユニットを支持する支柱が備えられた上記各ベース体と、他方の手摺りユニット支持する支柱が備えられた上記各ベース体が、上記各手摺りユニットの離間方向に連続した一体構成とされていることを特徴とする手摺り装置。
発明の詳細な説明
【技術分野】
【0001】
本願発明は、段差部分に設置される手摺り装置に関するものである。
続きを表示(約 1,100 文字)
【背景技術】
【0002】
段差部分に設置される手摺り装置としては、例えば、特許文献1~特許文献3に示すものが知られている。
【0003】
特許文献1に示される手摺り装置は、玄関の土間と框との段差部分に設置され土間と框上面との間を移動する人の動作を支援するもので、手摺り部分は低位面である土間側から高位面である框上面側に向けて上昇傾斜する傾斜体とされている。
【0004】
特許文献2に示される手摺り装置は、玄関土間と框上面との段差部分に設置され、玄関土間と框上面との間に架設された歩行面上を移動する歩行者の行動を支援するものであって、該歩行者が把持する手摺り部分は低位面である土間側から高位面である框上面側に向けて上昇傾斜する傾斜体とされている。
【0005】
特許文献3に示される手摺り装置は、多段の階段の低位段部と高位段部の間跨って設置されてこの多段の階段を移動する歩行者の行動を支援するものであって、該歩行者が把持する手摺り部分は低位段から高位段に向けて上昇傾斜する傾斜体とされている。
【先行技術文献】
【特許文献】
【0006】
特開2005-89974号公報
特開2016-94759号公報
特開2021-17783号公報
【発明の概要】
【発明が解決しようとする課題】
【0007】
ところで、上掲各手摺り装置では、手摺り部分は段差部分の傾斜に沿った傾斜体とされていることから、歩行者の姿勢の高さ変化と手摺り部の高さ変化が対応するため一見好適であると考えられ勝ちだが、現実的には、手摺り部が傾斜していると、これ掴んで移動する場合に手が滑り易く、該手摺りを的確に掴んで移動するとか、該手摺り部に体重を預けて姿勢保持することが比較的難しく、安全な歩行支援という点において改善の余地があった。
【0008】
そこで本願発明は、手摺り部分の把持性を高めて、安全な歩行支援を実現し得るようにした手摺り装置を提供することを目的としてなされたものである。
【課題を解決するための手段】
【0009】
本願発明ではかかる課題を解決するための具体的手段として次のような構成を採用している。
【0010】
本願の第1の発明では、段差部の低位面側と高位面側に跨って設置される左右一対の手摺りユニットで構成される手摺り装置において、上記各手摺りユニットは段差面のそれぞれに対応するように高さの異なる複数の手摺り部を設けるとともに、該複数の手摺り部のうち、少なくともいずれか一つの手摺り部が略水平方向に延出する形体であることを特徴としている。
(【0011】以降は省略されています)
この特許をJ-PlatPat(特許庁公式サイト)で参照する
関連特許
株式会社 シコク
手摺り装置
2日前
個人
接合構造
26日前
個人
タッチミー
25日前
個人
屋台
1か月前
個人
野良猫ハウス
1か月前
個人
安心補助てすり
9日前
個人
フェンス
2か月前
個人
転落防止用手摺
1か月前
個人
地下型マンション
4か月前
個人
ベンリナアングル
25日前
個人
筋交自動設定装置
1か月前
個人
居住車両用駐車場
2か月前
ニチハ株式会社
建築板
2か月前
積水樹脂株式会社
柵体
1か月前
個人
鋼管結合資材
4か月前
株式会社タナクロ
テント
4か月前
個人
熱抵抗多層断熱建材
2か月前
個人
柵
2か月前
個人
補強部材
2か月前
個人
身体用シェルター
1か月前
個人
循環流水式屋根融雪装置
4か月前
鹿島建設株式会社
壁体
2か月前
個人
身体用シェルター
1か月前
成友建設株式会社
建物
1か月前
株式会社シンケン
住宅
10日前
個人
防災建築物
15日前
三協立山株式会社
構造体
1か月前
三協立山株式会社
構造体
1か月前
三協立山株式会社
構造体
1か月前
三協立山株式会社
構造体
4か月前
三洋工業株式会社
床構造
10日前
株式会社熊谷組
床構成材
23日前
個人
可搬型供養墓
1か月前
インターマン株式会社
天井構造
2か月前
株式会社熊谷組
木質材料
1か月前
株式会社大林組
接合構造
5日前
続きを見る
他の特許を見る