TOP
|
特許
|
意匠
|
商標
特許ウォッチ
Twitter
他の特許を見る
公開番号
2025060283
公報種別
公開特許公報(A)
公開日
2025-04-10
出願番号
2023170940
出願日
2023-09-29
発明の名称
作業機械
出願人
日立建機株式会社
代理人
弁理士法人サンネクスト国際特許事務所
主分類
E02F
9/20 20060101AFI20250403BHJP(水工;基礎;土砂の移送)
要約
【課題】燃料電池の経年劣化を抑制しつつ、コスト増加を抑えることが可能な燃料電池システムを有する作業機械を実現する。
【解決手段】車体コントローラ45は、電動機30の駆動に必要な第1の所要電力を演算し、この第1の所要電力に基づいて、燃料電池110に対する要求電力を演算する。そして、この要求電力に基づいて、燃料電池110の発電電力の変動量が所定の制限値以下となるように燃料電池の目標電力を演算する。このとき、燃料電池に対する要求電力の時間変化率が所定値以上である場合に、燃料電池110の発電電力の変動量に対する制限値を緩和する。
【選択図】図2
特許請求の範囲
【請求項1】
燃料電池と、
電力を充放電可能な蓄電装置と、
前記燃料電池および前記蓄電装置からそれぞれ供給される電力を用いて駆動する電動機と、
前記燃料電池が発電すべき目標電力を演算し、前記目標電力に基づいて前記燃料電池を制御する制御装置と、を備えた作業機械において、
前記制御装置は、
前記電動機の駆動に必要な第1の所要電力を演算し、
前記第1の所要電力に基づいて、前記燃料電池に対する要求電力を演算し、
前記要求電力に基づいて、前記燃料電池の発電電力の変動量が所定の制限値以下となるように前記目標電力を演算し、
前記要求電力の時間変化率が所定値以上である場合に、前記制限値を緩和する
ことを特徴とする作業機械。
続きを表示(約 700 文字)
【請求項2】
請求項1に記載の作業機械において、
前記制御装置は、前記蓄電装置の電圧に基づいて、前記蓄電装置の電圧が所定の目標電圧よりも高い場合は、前記蓄電装置の電圧が高くなるほど所定時間内での前記燃料電池の発電電力の減少量に対する前記制限値が緩和され、前記蓄電装置の電圧が前記目標電圧よりも低い場合は、前記蓄電装置の電圧が低くなるほど所定時間内での前記燃料電池の発電電力の増加量に対する前記制限値が緩和されるように、前記制限値を設定する
ことを特徴とする作業機械。
【請求項3】
請求項1に記載の作業機械において、
前記制御装置は、前記制限値を緩和した状態を所定の継続時間の間維持する
ことを特徴とする作業機械。
【請求項4】
請求項1に記載の作業機械において、
前記制御装置は、
前記作業機械が備える補機の駆動に必要な第2の所要電力を演算し、
前記第1の所要電力および前記第2の所要電力に基づいて、前記要求電力を演算し、
前記蓄電装置の電圧が所定の電圧閾値以上の場合、前記第2の所要電力を減少させて前記要求電力を演算する
ことを特徴とする作業機械。
【請求項5】
請求項1に記載の作業機械において、
前記制御装置は、現在の前記燃料電池の発電電力が所定の第一閾値以下であり、かつ、所定の演算周期ごとに演算された前記要求電力が前記第一閾値以下の値から前記第一閾値よりも大きい所定の第二閾値以上へと変化した場合に、前記制限値を緩和する
ことを特徴とする作業機械。
発明の詳細な説明
【技術分野】
【0001】
本発明は、作業機械に関する。
続きを表示(約 1,400 文字)
【背景技術】
【0002】
近年、地球温暖化対策のために、温室効果ガスを排出しない作業機械として、燃料電池システムを有する作業機械が知られている。こうした作業機械において、燃料電池には発電電力の変動が急峻であると経年劣化が促進される特性があるため、発電電力の変動をなるべく抑える必要がある。
【0003】
上記のような課題に対して、特許文献1の技術が知られている。特許文献1には、負荷が燃料電池に対して要求する要求電力の変動よりも、燃料電池が発電すべき目標電力の変動を小さくする変動抑制処理を行うことで、燃料電池の経年劣化を抑制する燃料電池システムが開示されている。
【先行技術文献】
【特許文献】
【0004】
特開2020-149882号公報
【発明の概要】
【発明が解決しようとする課題】
【0005】
特許文献1の燃料電池システムでは、変動抑制処理によって生じる要求電力と目標電力の差分を、2次電池の充放電により賄っている。したがって、作業機械の負荷変動に対して十分な蓄電量を有する2次電池を用いなければならず、負荷変動が大きい場合には大容量の2次電池が必要となり、2次電池に費やすコストが増加するという課題があった。
【0006】
本発明は、上記の点に鑑みてなされたものであり、その目的とするところは、燃料電池の経年劣化を抑制しつつ、コスト増加を抑えることが可能な燃料電池システムを有する作業機械を実現することにある。
【課題を解決するための手段】
【0007】
本発明による作業機械は、燃料電池と、電力を充放電可能な蓄電装置と、前記燃料電池および前記蓄電装置からそれぞれ供給される電力を用いて駆動する電動機と、前記燃料電池が発電すべき目標電力を演算し、前記目標電力に基づいて前記燃料電池を制御する制御装置と、を備えた作業機械において、前記制御装置は、前記電動機の駆動に必要な第1の所要電力を演算し、前記第1の所要電力に基づいて、前記燃料電池に対する要求電力を演算し、前記要求電力に基づいて、前記燃料電池の発電電力の変動量が所定の制限値以下となるように前記目標電力を演算し、前記要求電力の時間変化率が所定値以上である場合に、前記制限値を緩和する。
【発明の効果】
【0008】
本発明によれば、燃料電池の経年劣化を抑制しつつ、コスト増加を抑えることが可能な燃料電池システムを有する作業機械を実現することができる。
【0009】
なお、本発明に関連する更なる特徴は、本明細書の記述、添付図面から明らかになるものである。また、上記した以外の、課題、構成及び効果は、以下の実施形態の説明により明らかにされる。
【図面の簡単な説明】
【0010】
本発明の一実施形態に係る作業機械の一例である油圧ショベルの外観図。
本発明の一実施形態に係る作業機械における燃料電池システムの概略構成図。
車体コントローラの演算処理の内容を示す制御ブロック図。
要求電力制限演算部の制御ブロック図。
補機所要電力演算部の制御ブロック図。
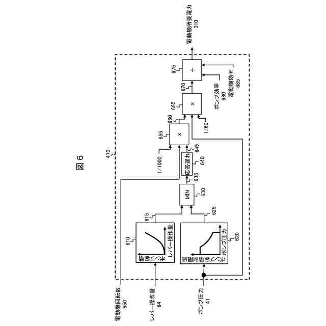
電動機所要電力演算部の制御ブロック図。
本発明の一実施形態に係る作業機械における燃料電池システムの制御の一例を示すタイムチャート。
【発明を実施するための形態】
(【0011】以降は省略されています)
この特許をJ-PlatPat(特許庁公式サイト)で参照する
関連特許
日立建機株式会社
建設機械
3日前
日立建機株式会社
作業機械
1か月前
日立建機株式会社
作業機械
4日前
日立建機株式会社
作業機械
7日前
日立建機株式会社
建設機械
7日前
日立建機株式会社
油圧機器
3日前
日立建機株式会社
作業機械
17日前
日立建機株式会社
作業機械
25日前
日立建機株式会社
作業機械
1か月前
日立建機株式会社
建設機械
3日前
日立建機株式会社
建設機械
1か月前
日立建機株式会社
作業機械
2か月前
日立建機株式会社
建設機械
2か月前
日立建機株式会社
建設機械
2か月前
日立建機株式会社
作業機械
2か月前
日立建機株式会社
作業機械
3か月前
日立建機株式会社
建設機械
3か月前
日立建機株式会社
作業機械
4日前
日立建機株式会社
作業機械
11日前
日立建機株式会社
作業機械
3か月前
日立建機株式会社
作業機械
3日前
日立建機株式会社
作業機械
3日前
日立建機株式会社
作業機械
3日前
日立建機株式会社
作業車両
3日前
日立建機株式会社
建設機械
3日前
日立建機株式会社
作業機械
3日前
日立建機株式会社
動力伝達装置
3日前
日立建機株式会社
電子機器装置
2か月前
日立建機株式会社
情報処理装置
2か月前
日立建機株式会社
液冷式抵抗器
3日前
日立建機株式会社
油圧システム
7日前
日立建機株式会社
電動式作業機械
3日前
日立建機株式会社
ダンプトラック
3日前
日立建機株式会社
ダンプトラック
2か月前
日立建機株式会社
電動式建設機械
2か月前
日立建機株式会社
電動式作業機械
2か月前
続きを見る
他の特許を見る