TOP
|
特許
|
意匠
|
商標
特許ウォッチ
Twitter
他の特許を見る
公開番号
2025128351
公報種別
公開特許公報(A)
公開日
2025-09-02
出願番号
2025100929,2024016167
出願日
2025-06-17,2019-12-19
発明の名称
システムおよびプログラム
出願人
株式会社ユピテル
代理人
主分類
G08B
25/04 20060101AFI20250826BHJP(信号)
要約
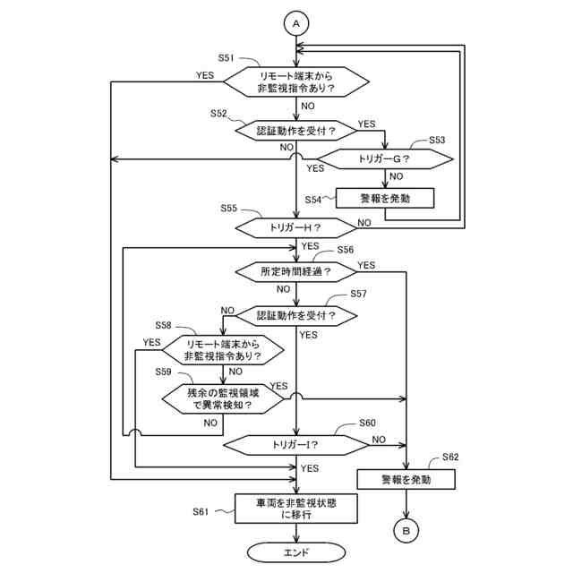
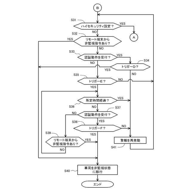
【課題】従来とは異なる車両のセキュリティに関する技術を提供する。
【解決手段】システムは、警報手段と制御手段とを備える。警報手段は、車両1が監視状態であるときに異常が検知されると警報を発動する機能を有する。制御手段は、当該車両1が監視状態であるときに第1トリガーがあると当該警報手段による警報の発動を一時的に抑制し、正規の認証動作が受け付けられたことを示す第2トリガーがあると、当該車両1を非監視状態に維持させる。
【選択図】図1
特許請求の範囲
【請求項1】
車両が監視状態であるときに異常が検知されると警報を発動する機能を有する警報手段と、
前記車両が監視状態であるときに第1トリガーがあると前記警報手段による警報の発動を一時的に抑制し、正規の認証動作が受け付けられたことを示す第2トリガーがあると、前記車両を非監視状態に維持させる制御手段と、
を備えることを特徴とするシステム。
続きを表示(約 1,200 文字)
【請求項2】
前記制御手段は、前記正規の認証動作が受け付けられなかった場合、前記車両を非監視状態に維持させず、前記警報手段による警報の発動の一時的な抑制を解除する
ことを特徴とする請求項1に記載のシステム。
【請求項3】
前記正規の認証動作は、入力手段に対して正規の認証情報を入力する入力動作である
ことを特徴とする請求項1または請求項2に記載のシステム。
【請求項4】
前記正規の認証動作は、第1の入力手段に対して正規の認証情報を入力する第1の入力動作と、前記車両に本来的に備わる第2の入力手段に対して行われる第2の入力動作とを含む
ことを特徴とする請求項1~請求項3のいずれか1項に記載のシステム。
【請求項5】
前記第2の入力手段は、前記車両の原動機の動作に関わる入力を受け付ける手段である
ことを特徴とする請求項4に記載のシステム。
【請求項6】
前記制御手段は、前記第1トリガーがあったときから所定期間が経過する前は、第1認証動作を前記正規の認証動作とし、当該所定期間が経過した後は、前記第1認証動作を前記正規の認証動作とすることを禁止する
ことを特徴とする請求項1~請求項5のいずれか1項に記載のシステム。
【請求項7】
前記所定期間が経過した場合、
前記警報手段は、警報を発動し、
前記制御手段は、前記正規の認証動作とする前記第1認証動作において必要なユーザの手順よりも増加させた第2認証動作を前記正規の認証動作とする
ことを特徴とする請求項6に記載のシステム。
【請求項8】
前記第1トリガーは、前記車両のロックが解除されているときに所定の動作が受け付けられたことを示す
ことを特徴とする請求項1~請求項7のいずれか1項に記載のシステム。
【請求項9】
前記制御手段は、前記車両に付属する電子キーとは異なる遠隔操作端末から、前記電子キーが送信するものとは異なるデータ部を有する所定の信号、または前記電子キーが無線通信に用いる周波数とは異なる周波数の所定の信号が受信されると、前記車両を非監視状態に維持させる
ことを特徴とする請求項1~請求項8のいずれか1項に記載のシステム。
【請求項10】
前記第1トリガーを検出可能な検出手段、
をさらに備え、
前記制御手段は、前記第1トリガーがあった旨の情報が前記検出手段から取得されると、前記警報手段による警報の発動を一時的に抑制するとともに、前記車両を非監視状態に維持させるか否かを判断する判断機能を有する
ことを特徴とする請求項1~請求項9のいずれか1項に記載のシステム。
(【請求項11】以降は省略されています)
発明の詳細な説明
【技術分野】
【0001】
例えば、システムおよびプログラム等に関する。
続きを表示(約 1,700 文字)
【背景技術】
【0002】
車両の正規のユーザ(例えば、車両の所有者または利用者等)以外の第三者によって、当該車両やその付属物が盗まれたり利用されたりする等の不正が行われることが、社会的な問題となっている。車両のセキュリティ技術に関して、例えば、特許文献1には、車両において或るパターンの振動が生じる等の異常を検知すると、車両のホーンや灯火器等を動作させて警告を発する異常検知装置が記載されている。
【先行技術文献】
【特許文献】
【0003】
特開2010-208380号公報
【発明の概要】
【発明が解決しようとする課題】
【0004】
特許文献1に記載の技術のように、車両において異常を検知すると警報を発動することで、車両の盗難等の不正が行われるのを抑止する効果が期待できる。しかしながら、正規のユーザが車両を利用しようとしているときにまで警報が発動してしまっては、これは誤った警報となってしまい、当該正規のユーザにとっては望ましくない。
【0005】
本発明は、従来とは異なる車両のセキュリティに関する技術を提供することを目的の一つとする。本発明は、例えば、誤った警報の発動を抑制しつつもセキュリティ性に優れたシステムおよびプログラム等を提供することを目的の一つとする。
【0006】
本発明の目的はこれに限定されず、本明細書および図面等に開示される構成の部分から奏する効果を得ることを目的とする構成についても分割出願・補正等により権利取得する意思を有する。例えば本明細書において「~できる」と記載した箇所を「~が課題である」と読み替えた課題が本明細書には開示されている。課題はそれぞれ独立したものとして記載しているものであり、各々の課題を解決するための構成についても単独で分割出願・補正等により権利取得する意思を有する。課題が明細書の記載から黙示的に把握されるものであっても、本出願人は本明細書に記載の構成の一部を補正または分割出願にて特許請求の範囲とする意思を有する。またこれら独立の課題を組み合わせた課題を解決する構成についても開示しているものであり、権利取得する意思を有する。
【課題を解決するための手段】
【0007】
本発明の目的は、例えば、以下の(1)~(16)の形態により達成することができる。
【0008】
(1)車両が監視状態であるときに異常が検知されると警報を発動する機能を有する警報手段と、前記車両が監視状態であるときに第1トリガーがあると前記警報手段による警報の発動を一時的に抑制し、正規の認証動作が受け付けられたことを示す第2トリガーがあると、前記車両を非監視状態に維持させる制御手段と、を備えるシステムとするとよい。
【0009】
このようにすれば、正規の認証動作が受け付けられたことを示す第2トリガーがあったことを条件に非監視状態に維持させるのでセキュリティ性が高い。また、第1トリガーがあると警報の発動が抑制されるので、正規のユーザが認証動作を行っているときに誤って警報が発動することが抑制される。さらに、この警報の発動が抑制された状態で認証動作を受けられる期間が、第1トリガーがあったときからの一時的な期間に制限されるので、これもセキュリティ上望ましい根拠となり得るものである。したがって、誤った警報の発動を抑制しつつもセキュリティ性を高めることができる。このような発明は、第三者による車両の盗難等の不正が行われるのを防止するという観点に加え、正規のユーザに起因する誤った警報の発動を抑制し、当該正規のユーザにとって望ましくない事態の発生を抑制するという観点を有する。
【0010】
(2)前記制御手段は、前記正規の認証動作が受け付けられなかった場合、前記車両を非監視状態に維持させず、前記警報手段による警報の発動の一時的な抑制を解除するシステムとするとよい。
(【0011】以降は省略されています)
この特許をJ-PlatPat(特許庁公式サイト)で参照する
関連特許
株式会社ユピテル
システム等
20日前
株式会社ユピテル
システム等
1か月前
株式会社ユピテル
表示装置等
1か月前
株式会社ユピテル
システム及びプログラム
12日前
株式会社ユピテル
システム及びプログラム
16日前
株式会社ユピテル
電子機器及びプログラム
1か月前
株式会社ユピテル
システム及びプログラム等
1か月前
株式会社ユピテル
システムおよびプログラム
1か月前
株式会社ユピテル
システムおよびプログラム等
1か月前
株式会社ユピテル
車両用システム及びプログラム
4日前
株式会社ユピテル
端末、撮影機器、プログラム等
1か月前
株式会社ユピテル
録画装置及び車両情報処理装置等
1か月前
株式会社ユピテル
システム、情報処理方法及びプログラム等
1か月前
株式会社ユピテル
電子機器と、静止画を動画化するサーバと、プログラム等
4日前
日本精機株式会社
警報システム
1か月前
個人
自動電動車椅子
1か月前
株式会社SUBARU
車両
10日前
エムケー精工株式会社
車両誘導装置
1か月前
スズキ株式会社
運転支援装置
1か月前
ニッタン株式会社
検知器
17日前
ニッタン株式会社
検知器
1か月前
株式会社国際電気
防災システム
1か月前
ニッタン株式会社
発信機
2か月前
ニッタン株式会社
検知器
1か月前
ニッタン株式会社
検知器
1か月前
個人
磁気路上での車両の路線離脱防御
20日前
ニッタン株式会社
発信機
2か月前
トヨタ自動車株式会社
車両
2か月前
トヨタ自動車株式会社
サーバ
24日前
ダイハツ工業株式会社
移動支援装置
2日前
株式会社SUBARU
運転支援装置
18日前
日本信号株式会社
異常走行検出装置
24日前
大阪瓦斯株式会社
音声出力システム
16日前
株式会社小糸製作所
移動体検出装置
1か月前
株式会社CCT
通信装置及び表示方法
17日前
株式会社デンソー
運航管理装置
9日前
続きを見る
他の特許を見る