TOP
|
特許
|
意匠
|
商標
特許ウォッチ
Twitter
他の特許を見る
10個以上の画像は省略されています。
公開番号
2025128814
公報種別
公開特許公報(A)
公開日
2025-09-03
出願番号
2024025748
出願日
2024-02-22
発明の名称
放電ランプ
出願人
ウシオ電機株式会社
代理人
弁理士法人ユニアス国際特許事務所
主分類
H01J
61/073 20060101AFI20250827BHJP(基本的電気素子)
要約
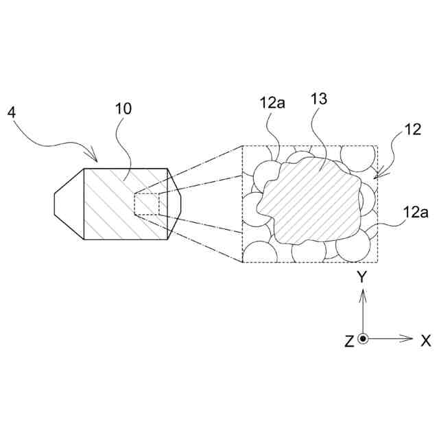
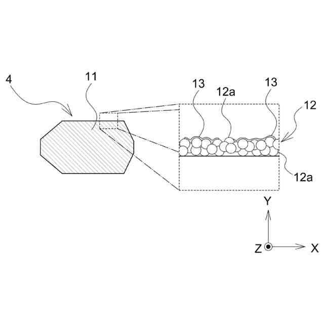
【課題】放熱特性に優れた、高信頼性、かつ、長寿命である電極を備える放電ランプを提供する。
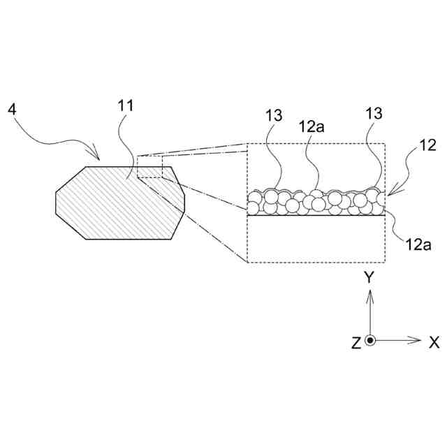
【解決手段】発光管内において、一対の電極が対向配置された放電ランプであって、一対の電極のうちの少なくとも一方が、高融点金属からなる本体部と、本体部の第一の外表面の少なくとも一部を覆う、主たる成分がセラミックスである複数の粒体が焼結されてなる焼結体と、焼結体の第二の外表面の少なくとも一部を覆う、主たる成分が高融点金属である被覆体とを備える。
【選択図】図3B
特許請求の範囲
【請求項1】
発光管内において、一対の電極が対向配置された放電ランプであって、
前記一対の電極のうちの少なくとも一方が、
高融点金属からなる本体部と、
前記本体部の第一の外表面の少なくとも一部を覆う、主たる成分がセラミックスである複数の粒体が焼結されてなる焼結体と、
前記焼結体の第二の外表面の少なくとも一部を覆う、主たる成分が高融点金属である被覆体とを備えることを特徴とする放電ランプ。
続きを表示(約 400 文字)
【請求項2】
前記被覆体は、前記焼結体を構成する二つ以上の複数の粒体に跨るように形成されていることを特徴とする請求項1に記載の放電ランプ。
【請求項3】
前記焼結体は、主たる成分がジルコニアである複数の粒体が焼結されてなることを特徴とする請求項1に記載の放電ランプ。
【請求項4】
前記被覆体は、主たる成分がタングステンであることを特徴とする請求項1に記載の放電ランプ。
【請求項5】
前記焼結体の前記第一の外表面における、前記被覆体による被覆率が5%~50%であることを特徴とする請求項1~4のいずれか一項に記載の放電ランプ。
【請求項6】
前記被覆体による前記焼結体の前記第一の外表面の被覆率は、前記電極の先端部側よりも、前記電極の先端部とは反対側の方が相対的に小さいことを特徴とする請求項1~4のいずれか一項に記載の放電ランプ。
発明の詳細な説明
【技術分野】
【0001】
本発明は、放電ランプに関する。
続きを表示(約 1,200 文字)
【背景技術】
【0002】
例えば、半導体素子、液晶表示素子等の製造工程に用いられる露光装置や、種々の映写機においては、光源として放電ランプ(特に、「ショートアーク型放電ランプ」)が用いられている。この放電ランプは、発光管内に陽極及び陰極が互いに対向して配置されるとともに、当該発光管内に、水銀、キセノンガス等の発光物質が封入されて構成されている。
【0003】
このような放電ランプにおいては、点灯時に陽極への熱的負荷が高いことから、陽極の過熱等に起因する電極材料の蒸発が生じ、この蒸発物が発光管の内壁に付着して光透過率が低下する、いわゆる黒化が生じることが知られている。
【0004】
このような問題を解決するため、電極表面に放熱層を形成して電極の温度上昇を抑制する技術が知られており、下記特許文献1には電極の先端近傍を除く外表面に金属酸化物を少なくとも一種含む放熱層が形成されている放電ランプが開示されている。
【先行技術文献】
【特許文献】
【0005】
特開2004-259639号公報
【発明の概要】
【発明が解決しようとする課題】
【0006】
しかしながら、特許文献1に記載の放電ランプのように、電極の外表面に放熱層を形成すると、点灯時の温度上昇による急激な熱膨張により、当該放熱層に亀裂が発生してしまう場合がある。亀裂が発生した放熱層は、点灯が繰り返されることにより、当該亀裂が徐々に広がり、最終的には電極の外表面から放熱層が剥がれ落ちてしまうおそれがある。
【0007】
そして、剥がれ落ちた放熱層は、放電ランプの発光管内に留まることになり、発光管内で発生した光の進行を阻害する要因ともなってしまい、放電ランプ自体の信頼性や寿命にも影響してしまう。
【0008】
本発明は、上記の課題に鑑み、放熱特性に優れた、高信頼性、かつ、長寿命である電極を備える放電ランプを提供することを目的とする。
【課題を解決するための手段】
【0009】
本発明に係る放電ランプは、
発光管内において、一対の電極が対向配置された放電ランプであって、
前記一対の電極のうちの少なくとも一方が、
高融点金属からなる本体部と、
前記本体部の第一の外表面の少なくとも一部を覆う、主たる成分がセラミックスである複数の粒体が焼結されてなる焼結体と、
前記焼結体の第二の外表面の少なくとも一部を覆う、主たる成分が高融点金属である被覆体とを備えることを特徴とする。
【0010】
本明細書において、「主たる成分」とは、含有率が50%以上である成分を指す意図で用いられる。
(【0011】以降は省略されています)
この特許をJ-PlatPat(特許庁公式サイト)で参照する
関連特許
ウシオ電機株式会社
光源装置
10日前
ウシオ電機株式会社
光源装置
2日前
ウシオ電機株式会社
紫外線治療器
25日前
ウシオ電機株式会社
蛍光光源装置
26日前
ウシオ電機株式会社
紫外光照射装置
2日前
ウシオ電機株式会社
赤外LED素子
3日前
ウシオ電機株式会社
光源装置及び回転体
2日前
ウシオ電機株式会社
光源装置及び不活化装置
18日前
ウシオ電機株式会社
半導体レーザ素子および発光装置
2日前
ウシオ電機株式会社
半導体レーザ素子および発光装置
6日前
国立大学法人 東京大学
ガス処理方法
2日前
ウシオ電機株式会社
分布帰還型半導体レーザおよびその製造方法
6日前
個人
安全なNAS電池
1か月前
東レ株式会社
多孔質炭素シート
25日前
個人
フリー型プラグ安全カバー
1か月前
日本発條株式会社
積層体
6日前
エイブリック株式会社
半導体装置
27日前
エイブリック株式会社
半導体装置
27日前
ローム株式会社
半導体装置
25日前
ローム株式会社
半導体装置
2日前
個人
防雪防塵カバー
6日前
キヤノン株式会社
電子機器
25日前
ローム株式会社
半導体装置
4日前
ローム株式会社
半導体装置
4日前
ローム株式会社
半導体装置
4日前
沖電気工業株式会社
アンテナ
1か月前
東レ株式会社
ガス拡散層の製造方法
25日前
ニチコン株式会社
コンデンサ
18日前
ニチコン株式会社
コンデンサ
18日前
株式会社ティラド
面接触型熱交換器
17日前
オムロン株式会社
電磁継電器
1か月前
太陽誘電株式会社
全固体電池
2日前
個人
半導体パッケージ用ガラス基板
5日前
株式会社GSユアサ
蓄電装置
1か月前
株式会社GSユアサ
蓄電装置
2日前
株式会社GSユアサ
蓄電装置
6日前
続きを見る
他の特許を見る